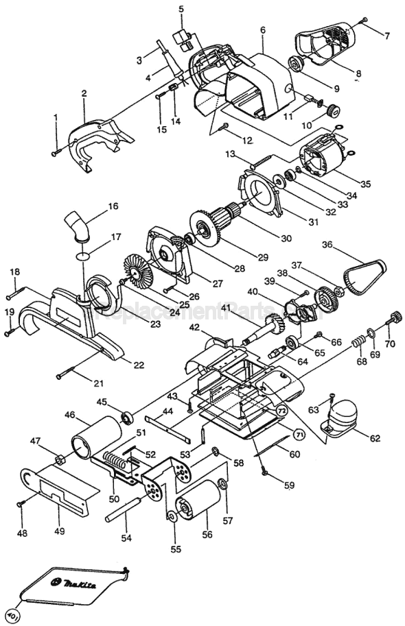
Part Location Diagram of 344620-3 Makita Steel Plate
See part 71 in the diagram
( Grid squares measure 1x1 inch )

Steel Plate 344620-3

Manufactured by:
Makita
ERP Number:
ERP10148825
Part Number:
344620-3
Original Equipment Manufacturer ?
In Stock
Delivers in 3-5 Business Days!

Easy 

30 - 60 mins 

(7 rated repairs) ?

Does this part fit my model?

Need help finding your model number?

Product Description

?

This is a Genuine Manufacturer Sourced replacement part designed for use with Makita Belt Sander. It is Made out of Metal and it is Sold Individually. Due to constant contact, pressure and vibration this part should be inspected periodically and replaced if showing signs of wear to ensure optimum performance. When replacing Steel Plate it is advised to inspect the Cork Plate and replace it if it shows signs of wear. To replace this part you will need a Screwdriver. • Unscrew the Steel Plate that is being held by Three (3) Pan Head Screws. • Once it is removed simply replace it with the new one • Reattach it using the same Three (3) screws. Please note Cork Plate and Screws are Sold Separately.

Frequently Purchased Together

?

Troubleshooting

This part works with the following brands:
  • Makita
This part works with the following products:
  • Sander Polisher

Customer Part Reviews

?
5.0
Average Rating (out of 5):
★★★★★
★★★★★
(4 Reviews)
Click to filter by ratings:
  • 5 stars
    4
  • 4 stars
    0
  • 3 stars
    0
  • 2 stars
    0
  • 1 star
    0
  • 1
Sort by:  
Sorry, we couldn't find any existing reviews that matched. Try using some different or simpler keywords.

Questions & Answers

?

Our customer Service team is at the ready daily to answer your part and product questions.

We're sorry, but our Q&A experts are temporarily unavailable.
Please check back later if you still haven't found the answer you need.

Ask our Team

We have a dedicated staff with decades of collective experience in helping customers just like you purchase parts to repair their products.

Does this fit my product?

Customer Repair Instructions

All our customer repair instructions are solicited directly from other customers just like you who have purchased and replaced this exact part.

Easy 

30 - 60 mins 

(7 rated repairs) ?
  • 1
Sort by:  
Sorry, we couldn't find any existing installation instruction that matched.

12 sanders used hard

Wesley from Georgetown, Texas

2 of 2 people found this instruction helpful.
Difficulty Level:
A Bit Difficult
Total Repair Time:
More than 2 hours
Tools:
Pliers, Screw drivers
I have 12 sanders that are used on glass so parts wear out faster than normal. ereplacement parts supply\'s us with a full compliment of parts. Most of the parts are very simple to replace, simply undo a few screws pull old part, install new parts, replace screws.
Did you find this story helpful?
Thank you for voting!

Bottom plate worn

Doug from Sarasota, Florida

2 of 2 people found this instruction helpful.
Difficulty Level:
Easy
Total Repair Time:
Less than 15 mins
Tools:
Screw drivers
Parts Used:
421646-3, 344620-3
Undid 3 screws. Replaced plate and did them back up again.
Did you find this story helpful?
Thank you for voting!

replaced worn steel plate, added carbon/graphite plate to increase life span of new steel plate

ARON from BANGOR, Maine

1 person found this instruction helpful.
Difficulty Level:
Easy
Total Repair Time:
Less than 15 mins
Tools:
Screw drivers
Parts Used:
421648-9, 344620-3
1. removed phillips head screws
2. removed old steel plate
3 installed new steel plate
4. installed new carbon/graphite plate
5. replaced phillips head screws
Did you find this story helpful?
Thank you for voting!

Poor sanding quality

Allen from Trumansburg, New York

1 person found this instruction helpful.
Difficulty Level:
Easy
Total Repair Time:
15 - 30 mins
Tools:
Screw drivers
Parts Used:
421646-3, 344620-3
My Makita belt sander was leaving uneven results. It turned out that there was a tiny bump in the old steel plate, barely perceptible. After installing the new plate and cork, the results are much better.
Did you find this story helpful?
Thank you for voting!

Worn steel and cork plate

Mark from Wichita Falls, Texas

1 person found this instruction helpful.
Difficulty Level:
Easy
Total Repair Time:
Less than 15 mins
Tools:
Screw drivers
Parts Used:
421646-3, 344620-3
Remove the three screws and clamp plate holding the old cork and steel plates on. Then just simply placed the cork and steel plates on the sander base and screwed the clamp plate to the base.
Did you find this story helpful?
Thank you for voting!

Steel plate broken

bob from Boerne, Texas

0 of 1 people found this instruction helpful.
Difficulty Level:
Easy
Total Repair Time:
Less than 15 mins
Tools:
Screw drivers
Parts Used:
421646-3, 344620-3
Remove old plate
Installed new plate & cork plate
Did you find this story helpful?
Thank you for voting!

Sander sanded unevenly

Wayne from Hummelstown, Pennsylvania

0 of 1 people found this instruction helpful.
Difficulty Level:
Easy
Total Repair Time:
Less than 15 mins
Tools:
Screw drivers
Parts Used:
421646-3, 344620-3
Replaced steel plate and cork pad, and all is well.
Did you find this story helpful?
Thank you for voting!
  • 1

Model Cross Reference

This part works with the following models:
ERP Number: ERP10148825
Manufacturer Part Number: 344620-3
Brand Model Number Description
Makita 9403 Sander Polisher - Belt Sander