Craftsman Parts

Craftsman Tiller Replacement Parts For Model 917293492

We Sell Only Genuine Craftsman Parts

Popular Parts for 917293492

Search Within Model

Browse all Parts Search by Area
Decals Diagram and Parts List for  Craftsman Tiller
Decals
Handles Diagram and Parts List for  Craftsman Tiller
Handles
Main_Frame_Left_Side Diagram and Parts List for  Craftsman Tiller
Main_Frame_Left_Side
Main_Frame_Right_Side Diagram and Parts List for  Craftsman Tiller
Main_Frame_Right_Side
Tine_Assembly Diagram and Parts List for  Craftsman Tiller
Tine_Assembly
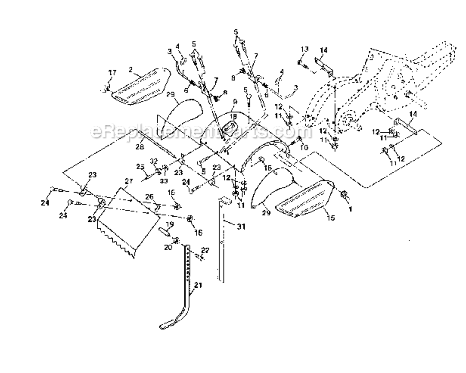
Tine_Shield Diagram and Parts List for  Craftsman Tiller
Tine_Shield
Transmission Diagram and Parts List for  Craftsman Tiller
Transmission
Previous Showing All Parts Next
Decals
Decals Diagram and Parts List for  Craftsman Tiller
  • G-1
    Service Decal – Part Number: 177570
    Service Decal
    Part Number: 177570
      No Longer Available
  • G-2
    Decal – Part Number: 145023
    Decal
    Part Number: 145023
      No Longer Available
  • G-3
    Decal Belt – Part Number: 177564
    Decal Belt
    Part Number: 177564
      No Longer Available
  • G-4
    Decal – Part Number: 177565
    Decal
    Part Number: 177565
      No Longer Available
  • G-5
    Decal – Part Number: 137538
    Decal
    Part Number: 137538
      No Longer Available
  • G-6
    Decal – Part Number: 120431X
    Decal
    Part Number: 120431X
      No Longer Available
  • G-7
    Shift Decal – Part Number: 166202
    Shift Decal
    Part Number: 166202
      No Longer Available
  • G-8
    Decal – Part Number: 166188
    Decal
    Part Number: 166188
      No Longer Available
  • G-9
    Warning Decal – Part Number: 177568
    Warning Decal
    Part Number: 177568
      No Longer Available
  • G-10
    Decal Tine – Part Number: 177567
    Decal Tine
    Part Number: 177567
      No Longer Available
  • G-12
    Engine Decal – Part Number: 166138
    Engine Decal
    Part Number: 166138
      No Longer Available
  • G-13
    Decal Tine – Part Number: 177566
    Decal Tine
    Part Number: 177566
      No Longer Available
  • G-14
    Rewind Decal – Part Number: 171078
    Rewind Decal
    Part Number: 171078
      No Longer Available
  • G-15
    Decal.Eng.Bs – Part Number: 177854
    Decal.Eng.Bs
    Part Number: 177854
      No Longer Available
  • G-800
    Owners Manual – Part Number: 182495
    Owners Manual
    Part Number: 182495
      No Longer Available
  • G-800
    Furrow – Part Number: 71-29090
    Furrow
    Part Number: 71-29090
      No Longer Available
  • G-800
    Grease – Part Number: 6066J
    Grease
    Part Number: 6066J
      No Longer Available
Handles
Handles Diagram and Parts List for  Craftsman Tiller
Main_Frame_Left_Side
Main_Frame_Left_Side Diagram and Parts List for  Craftsman Tiller
Main_Frame_Right_Side
Main_Frame_Right_Side Diagram and Parts List for  Craftsman Tiller
Tine_Assembly
Tine_Assembly Diagram and Parts List for  Craftsman Tiller
Tine_Shield
Tine_Shield Diagram and Parts List for  Craftsman Tiller
  • E-1
    Lock Nut – Part Number: 596135701
    Lock Nut
    Part Number: 596135701
    ★★★★★
    ★★★★★
    (1)
      In Stock
    $6.47
  • E-2
    Painted Shield – Part Number: 161415X615
    Painted Shield
    Part Number: 161415X615
      No Longer Available
  • E-3
    Pin, Stake, Depth – Part Number: 532008393
    Pin, Stake, Depth
    Part Number: 532008393
      Special Order
    $34.10
  • E-4
    Ring.Klip – Part Number: 12000035
    Ring.Klip
    Part Number: 12000035
      No Longer Available
  • E-5
    Carriage Bolt – Part Number: STD533107
    Carriage Bolt
    Part Number: STD533107
      No Longer Available
  • E-6
    Spring – Part Number: 8394J
    Spring
    Part Number: 8394J
      No Longer Available
  • E-7
    Bracket – Part Number: 8392J
    Bracket
    Part Number: 8392J
      No Longer Available
  • E-8
    Spring – Part Number: 109230X
    Spring
    Part Number: 109230X
      No Longer Available
  • E-9
    Shield.Pnt.T – Part Number: 163496X615
    Shield.Pnt.T
    Part Number: 163496X615
      No Longer Available
  • E-10
    Carriage Bolt – Part Number: STD533110
    Carriage Bolt
    Part Number: STD533110
      No Longer Available
  • E-11
    Lock Washer – Part Number: STD551131
    Lock Washer
    Part Number: STD551131
      No Longer Available
  • E-12
    Nut 8Pk – Part Number: STD541031
    Nut 8Pk
    Part Number: STD541031
      No Longer Available
  • E-13
    Bolt, Carriage – Part Number: 72110510
    Bolt, Carriage
    Part Number: 72110510
      No Longer Available
  • E-14
    Shield Bracket – Part Number: 124343X
    Shield Bracket
    Part Number: 124343X
      No Longer Available
  • E-15
    Painted Shield – Part Number: 161414X615
    Painted Shield
    Part Number: 161414X615
      No Longer Available
  • E-16
    Lock Nut – Part Number: 73900400
    Lock Nut
    Part Number: 73900400
      No Longer Available
  • E-17
    Nut Wing – Part Number: 162175
    Nut Wing
    Part Number: 162175
      No Longer Available
  • E-18
    Carriage Bolt – Part Number: STD532512
    Carriage Bolt
    Part Number: STD532512
      No Longer Available
  • E-19
    Grip – Part Number: 102701X
    Grip
    Part Number: 102701X
      No Longer Available
  • E-20
    Nut 8Pk – Part Number: STD541037
    Nut 8Pk
    Part Number: STD541037
      No Longer Available
  • E-21
    Depth Stake – Part Number: 102156X
    Depth Stake
    Part Number: 102156X
      No Longer Available
  • E-22
    Bolt – Part Number: 74930632
    Bolt
    Part Number: 74930632
      No Longer Available
  • E-23
    Hinge – Part Number: 4440J
    Hinge
    Part Number: 4440J
      No Longer Available
  • E-24
    Carriage Bolt – Part Number: 72140404
    Carriage Bolt
    Part Number: 72140404
      No Longer Available
  • E-25
    Cap Vinyl – Part Number: 532006712
    Cap Vinyl
    Part Number: 532006712
      Special Order
    $6.47
  • E-26
    Idler Pad – Part Number: 109227X
    Idler Pad
    Part Number: 109227X
      No Longer Available
  • E-27
    Level Shield – Part Number: 163497X615
    Level Shield
    Part Number: 163497X615
      No Longer Available
  • E-28
    Pin Hinge – Part Number: 120588X
    Pin Hinge
    Part Number: 120588X
      No Longer Available
  • E-29
    Shield – Part Number: 104085X615
    Shield
    Part Number: 104085X615
      No Longer Available
  • E-31
    Drag Stake – Part Number: 163498X417
    Drag Stake
    Part Number: 163498X417
      No Longer Available
  • E-32
    Nut – Part Number: 73220400
    Nut
    Part Number: 73220400
      No Longer Available
  • E-33
    Washer 8Pk – Part Number: STD551125
    Washer 8Pk
    Part Number: STD551125
      No Longer Available
  • E-800
    Grease – Part Number: 6066J
    Grease
    Part Number: 6066J
      No Longer Available
  • E-800
    Owners Manual – Part Number: 182495
    Owners Manual
    Part Number: 182495
      No Longer Available
  • E-800
    Furrow – Part Number: 71-29090
    Furrow
    Part Number: 71-29090
      No Longer Available
Transmission
Transmission Diagram and Parts List for  Craftsman Tiller