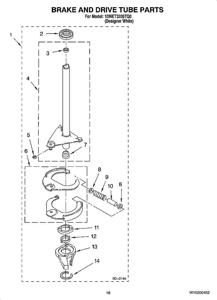
Part Location Diagram of W10083190 Whirlpool RING-E
See part 5 in the diagram

RING-E W10083190

Manufactured by:
Whirlpool
ERP Number:
ERP1519001
Part Number:
W10083190
Original Equipment Manufacturer ?
  Works with your model  ITW4300SQ0!
$12.55
In Stock
Delivers in 3-5 Business Days!
  Works with your model   ITW4300SQ0!

Frequently Purchased Together

?

Troubleshooting

This part works with the following brands:
  • Whirlpool
  • Kenmore
  • KitchenAid
  • Roper
  • Maytag
  • Estate
  • Inglis
  • Crosley
  • Amana
  • Admiral
  • Kenmore
  • Magic Chef
This part works with the following products:
  • Washer
  • Washer Dryer Combo
Part# W10083190 replaces these:
AP3997120, 1447007, 64035, W10083190,

Questions & Answers

?

Our customer Service team is at the ready daily to answer your part and product questions.

Be the first to ask our experts a question about this part!

Ask our Team

We have a dedicated staff with decades of collective experience in helping customers just like you purchase parts to repair their products.

Does this fit my product?

Model Cross Reference

This part works with the following models:
ERP Number: ERP1519001
Manufacturer Part Number: W10083190
Brand Model Number Description
Kenmore 10682872600 Washer - Kenmore Washing Machine Model 106.82872600 (10682872600, 106 82872600) Parts
Kenmore 110088732791 Washer Dryer Combo
Kenmore 11010202001 Washer
Kenmore 1101050299 Washer - Kenmore Washing Machine Model 110.1050299 (1101050299, 110 1050299) Parts
Kenmore 11014852300 Washer
Kenmore 11015732400 Washer
Kenmore 11015842400 Washer - Kenmore Washing Machine
Kenmore 11015852400 Washer
Kenmore 11015862400 Washer
Kenmore 11015864400 Washer
Kenmore 11015942400 Washer
Kenmore 11015942401 Washer
Kenmore 11015944400 Washer
Kenmore 11015944401 Washer
Kenmore 11015952400 Washer
Kenmore 11015952401 Washer
Kenmore 11015954400 Washer
Kenmore 11015954401 Washer
Kenmore 11015962400 Washer
Kenmore 11015962401 Washer
Kenmore 11015964400 Washer
Kenmore 11015964401 Washer
Kenmore 11016102500 Washer
Kenmore 11016102501 Washer
Kenmore 11016102502 Washer
Kenmore 11016202690 Washer
Kenmore 11016212500 Washer
Kenmore 11016212501 Washer
Kenmore 11016212502 Washer
Kenmore 11016212503 Washer