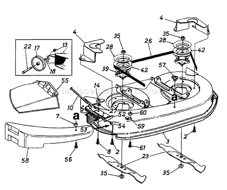
Part Location Diagram of 918-0138C MTD Spindle Asm-f Deck
See part E39 in the diagram
( Grid squares measure 1x1 inch )

Spindle Asm-f Deck 918-0138C

Manufactured by:
MTD
ERP Number:
ERP9309468
Part Number:
918-0138C
Original Equipment Manufacturer ?
  Works with your model  13AF698G029!
$153.81
In Stock
Delivers in 3-5 Business Days!

A Bit Difficult 

1- 2 hours 

(1 rated repair) ?
  Works with your model   13AF698G029!

Troubleshooting

This part works with the following brands:
  • MTD
  • Yard Machines
  • Bolens
  • Yard Man
This part works with the following products:
  • Lawn Tractor
  • Lawn Mower
Part# 918-0138C replaces these:
618-0138, 618-0138A, 618-0138C, 918-0138, 918-0138A,

Questions & Answers

?

Our customer Service team is at the ready daily to answer your part and product questions.

Be the first to ask our experts a question about this part!

Ask our Team

We have a dedicated staff with decades of collective experience in helping customers just like you purchase parts to repair their products.

Does this fit my product?

Customer Repair Instructions

All our customer repair instructions are solicited directly from other customers just like you who have purchased and replaced this exact part.

A Bit Difficult 

1- 2 hours 

(1 rated repair) ?
  • 1
Sort by:  
Sorry, we couldn't find any existing installation instruction that matched.

Bearing failure

Robert from SALISBURY, North Carolina

1 person found this instruction helpful.
Difficulty Level:
A Bit Difficult
Total Repair Time:
1- 2 hours
Tools:
Socket set, Wrench (Adjustable)
Parts Used:
918-0138C
Assembly was not an issue. The issue was I received the spindle assembly and there were no threads in the four mounting points. I had to purchase tap to thread the four holes.

This should have been caught by produced of the assembly.
Did you find this story helpful?
Thank you for voting!
  • 1

Model Cross Reference

This part works with the following models:
ERP Number: ERP9309468
Manufacturer Part Number: 918-0138C
Brand Model Number Description
Yard Man 136A694F401 Lawn Tractor - Lawn Tractor
Yard Machines 136Q695G000 Lawn Mower - Yard Machines Lawn Mower Model 136Q695G000 Parts
MTD 136S699E088 Lawn Mower - MTD Lawn Mower Model 136S699E088 Parts
MTD 136S699H788 Lawn Tractor - Front-Engine Lawn Tractor
Yard Machines 13A0663F352 Lawn Mower - Yard Machines Lawn Mower Model 13A0663F352 Parts
Yard Machines 13A1660F000 Lawn Mower - Yard Machines Lawn Mower Model 13A1660F000 Parts
MTD 13A2682F190 Lawn Mower - MTD Lawn Mower Model 13A2682F190 Parts
MTD 13A3660F205 Lawn Mower - MTD Lawn Mower Model 13A3660F205 Parts
MTD 13A3662F196 Lawn Mower - MTD Lawn Mower Model 13A3662F196 Parts
Yard Machines 13A4662F129 Lawn Tractor - Lawn Tractor
MTD 13A4667F118 Lawn Mower - MTD Lawn Mower Model 13A4667F118 Parts
MTD 13A5450F019 Lawn Mower - MTD Lawn Mower Model 13A5450F019 Parts
MTD 13A5450F131 Lawn Mower - MTD Lawn Mower Model 13A5450F131 Parts
MTD 13A5453F033 Lawn Tractor - Lawn Tractor
MTD 13A5453F733 Lawn Tractor - Lawn Tractor
MTD 13A5470F196 Lawn Mower - MTD Lawn Mower Model 13A5470F196 Parts
MTD 13A5472F190 Lawn Mower - MTD Lawn Mower Model 13A5472F190 Parts
MTD 13A5660F205 Lawn Mower - MTD Lawn Mower Model 13A5660F205 Parts
MTD 13a5660f206 Lawn Tractor - Lawn Tractor
MTD 13A5661F192 Lawn Mower - MTD Lawn Mower Model 13A5661F192 Parts
MTD 13A5665F147 Lawn Mower - MTD Lawn Mower Model 13A5665F147 Parts
MTD 13A5673F190 Lawn Mower - MTD Lawn Mower Model 13A5673F190 Parts
MTD 13A747GF062 Lawn Mower - MTD Lawn Mower Model 13A747GF062 Parts
Yard Machines 13A7660G752 Lawn Mower - Yard Machines Lawn Mower Model 13A7660G752 Parts
MTD 13A8693F190 Lawn Mower - MTD Lawn Mower Model 13A8693F190 Parts
MTD 13AA472F190 Lawn Mower - MTD Lawn Mower Model 13AA472F190 Parts
MTD 13AA662F190 Lawn Mower - MTD Lawn Mower Model 13AA662F190 Parts
MTD 13AA672F190 Lawn Mower - MTD Lawn Mower Model 13AA672F190 Parts
MTD 13AA673F190 Lawn Mower - MTD Lawn Mower Model 13AA673F190 Parts
MTD 13AA683F190 Lawn Mower - MTD Lawn Mower Model 13AA683F190 Parts