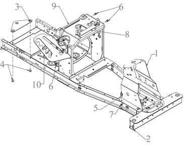
Part Location Diagram of 683-05377 MTD Hitch Plate Assembly
See part 3 in the diagram

Hitch Plate Assembly 683-05377

Manufactured by:
MTD
ERP Number:
ERP16395626
Part Number:
683-05377
Original Equipment Manufacturer ?
  Works with your model  CR30!
$36.24
Special Order
  Works with your model   CR30!

Troubleshooting

This part works with the following brands:
  • Craftsman
  • Cub Cadet
  • MTD
  • Murray
This part works with the following products:
  • Lawn Tractor

Questions & Answers

?

Our customer Service team is at the ready daily to answer your part and product questions.

We're sorry, but our Q&A experts are temporarily unavailable.
Please check back later if you still haven't found the answer you need.

Ask our Team

We have a dedicated staff with decades of collective experience in helping customers just like you purchase parts to repair their products.

Does this fit my product?

Model Cross Reference

This part works with the following models:
ERP Number: ERP16395626
Manufacturer Part Number: 683-05377
Brand Model Number Description
MTD 13B226JD299 Lawn Tractor - Lawn Tractor
Murray 13CC26JD058 Lawn Tractor - Rear-Engine Riding Mower
Murray 13DC26JD058 Lawn Tractor - Lawn Tractor
Craftsman 247203695 Lawn Tractor - R1000 Rear-Engine Riding Mower
Cub Cadet CC30E Lawn Tractor Accessories - Cc30e Electric Mini Rider (33ba27jdb10) (Lithium Ion) (2023)
Cub Cadet CC30H Lawn Tractor Accessories - Cc 30 H Hydro Mini Rider (13ac21jd010) (2022)
MTD CR30 Lawn Tractor - Lawn Tractor
MTD CR30H Lawn Tractor - Lawn Tractor
Craftsman E150 Lawn Tractor - Rear-Engine Riding Mower, Electric
Craftsman R105 Lawn Tractor - Rear-Engine Riding Mower
Craftsman R110 Lawn Tractor - Rear-Engine Riding Mower
Craftsman R140 Lawn Tractor - Rear-Engine Riding Mower