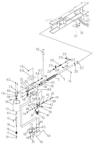
Part Location Diagram of JT9-S0400545 Jet KEY
See part B-15 in the diagram

KEY JT9-S0400545

Manufactured by:
Jet
ERP Number:
ERP19165513
Part Number:
JT9-S0400545
Original Equipment Manufacturer ?
  Works with your model  331440!
$19.50
Special Order
  Works with your model   331440!

Troubleshooting

This part works with the following brands:
  • Jet
This part works with the following products:
  • Drill Press
Part# JT9-S0400545 replaces these:
S0400545,

Questions & Answers

?

Our customer Service team is at the ready daily to answer your part and product questions.

We're sorry, but our Q&A experts are temporarily unavailable.
Please check back later if you still haven't found the answer you need.

Ask our Team

We have a dedicated staff with decades of collective experience in helping customers just like you purchase parts to repair their products.

Does this fit my product?