General Electric Parts

General Electric Electric Wall Oven Replacement Parts For Model JCTP18BA1BB

We Sell Only Genuine General Electric Parts

Find General Electric JCTP18BA1BB Parts By Symptom

Little to no heat when baking

37%

Element will not heat

19%

Oven not heating evenly

16%

Door won’t close

13%

Oven is too hot

9%

Little to no heat when broiling

3%

Will not program

3%

Popular Parts for JCTP18BA1BB

Search Within Model

Browse all Parts Search by Area
BODY PARTS Diagram and Parts List for  General Electric Wall Oven
BODY PARTS
CONTROL PANEL Diagram and Parts List for  General Electric Wall Oven
CONTROL PANEL
DOOR LOCK Diagram and Parts List for  General Electric Wall Oven
DOOR LOCK
FAN Diagram and Parts List for  General Electric Wall Oven
FAN
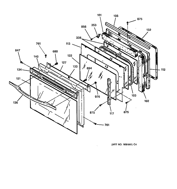
OVEN DOOR Diagram and Parts List for  General Electric Wall Oven
OVEN DOOR
Previous Showing All Parts Next
BODY PARTS
BODY PARTS Diagram and Parts List for  General Electric Wall Oven
CONTROL PANEL
CONTROL PANEL Diagram and Parts List for  General Electric Wall Oven
DOOR LOCK
DOOR LOCK Diagram and Parts List for  General Electric Wall Oven
FAN
FAN Diagram and Parts List for  General Electric Wall Oven
OVEN DOOR
OVEN DOOR Diagram and Parts List for  General Electric Wall Oven