Frigidaire Parts

Frigidaire Electric, Wall Wall Oven Replacement Parts For Model RG74BC0

We Sell Only Genuine Frigidaire Parts

Find Frigidaire RG74BC0 Parts By Symptom

Little to no heat when baking

43%

Will Not Start

28%

Element will not heat

18%

Oven not heating evenly

6%

Little to no heat when broiling

4%

Popular Parts for RG74BC0

Search Within Model

Browse all Parts Search by Area
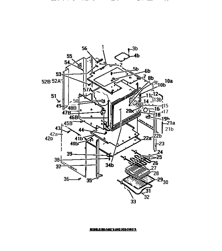
CONTROL PANEL, COOK - MASTER, SWITCHE Diagram and Parts List for  Frigidaire Wall Oven
CONTROL PANEL, COOK - MASTER, SWITCHE
CONTROL PANEL, COOK - MASTER, SWITCHE Diagram and Parts List for  Frigidaire Wall Oven
CONTROL PANEL, COOK - MASTER, SWITCHE
DOOR LATCH MECHANISM Diagram and Parts List for  Frigidaire Wall Oven
DOOR LATCH MECHANISM
OVEN DOOR, PANELS Diagram and Parts List for  Frigidaire Wall Oven
OVEN DOOR, PANELS
OVEN DOOR, PANELS Diagram and Parts List for  Frigidaire Wall Oven
OVEN DOOR, PANELS
OVEN DOOR, PANELS (LOWER OVEN DOOR) Diagram and Parts List for  Frigidaire Wall Oven
OVEN DOOR, PANELS (LOWER OVEN DOOR)
OVEN FAN, MOTOR, PANELS Diagram and Parts List for  Frigidaire Wall Oven
OVEN FAN, MOTOR, PANELS
OVEN LINER, HEATING ELEMENTS, PANEL Diagram and Parts List for  Frigidaire Wall Oven
OVEN LINER, HEATING ELEMENTS, PANEL
Previous Showing All Parts Next
CONTROL PANEL, COOK - MASTER, SWITCHE
CONTROL PANEL, COOK - MASTER, SWITCHE Diagram and Parts List for  Frigidaire Wall Oven
  • 1
    SCREWS (2) – Part Number: 8003397
    SCREWS (2)
    Part Number: 8003397
      No Longer Available
  • 2A
    SWITCH – Part Number: 3202196
    SWITCH
    Part Number: 3202196
      No Longer Available
  • 3A
    SWITCH, SELECTOR (LOWER OVEN) – Part Number: 8014699
    SWITCH, SELECTOR (LOWER OVEN)
    Part Number: 8014699
      No Longer Available
  • 4A
    DISCONTINUED – Part Number: 5305110201
    DISCONTINUED
    Part Number: 5305110201
      No Longer Available
  • 6A
    LIGHT/LAMP – Part Number: 08017085
    LIGHT/LAMP
    Part Number: 08017085
      No Longer Available
  • 9A
    DISCONTINUED – Part Number: 5305022101
    DISCONTINUED
    Part Number: 5305022101
      No Longer Available
  • 10
    SCREW – Part Number: 636T082P01
    SCREW
    Part Number: 636T082P01
      Special Order
    $9.74
  • 13
    KNOB – Part Number: 5308015741
    KNOB
    Part Number: 5308015741
      No Longer Available
  • 14
    BEZEL – Part Number: 5303016305
    BEZEL
    Part Number: 5303016305
      Special Order
    $27.69
  • 15
    SCREW – Part Number: 5303051859
    SCREW
    Part Number: 5303051859
      Special Order
    $8.65
  • 16
    Clock Knob – Part Number: 318036310
    Clock Knob
    Part Number: 318036310
      No Longer Available
  • 18
    BUMPERS (6) – Part Number: 8003390
    BUMPERS (6)
    Part Number: 8003390
      No Longer Available
  • 19
    NUT-FLAT HEX – Part Number: 3051832
    NUT-FLAT HEX
    Part Number: 3051832
      Special Order
    $8.65
  • 20
    NUT – Part Number: 316205500
    NUT
    Part Number: 316205500
      In Stock
    $20.62
  • 21A
    GLASS, CONTROL PANEL – Part Number: 8014706
    GLASS, CONTROL PANEL
    Part Number: 8014706
      No Longer Available
  • 22A
    COOK, MASTER & TIME SIGNAL – Part Number: 8014708
    COOK, MASTER & TIME SIGNAL
    Part Number: 8014708
      No Longer Available
  • 23A
    PANEL, CONTROL – Part Number: 8003448
    PANEL, CONTROL
    Part Number: 8003448
      No Longer Available
CONTROL PANEL, COOK - MASTER, SWITCHE
CONTROL PANEL, COOK - MASTER, SWITCHE Diagram and Parts List for  Frigidaire Wall Oven
  • 1
    SWITCH – Part Number: 3202196
    SWITCH
    Part Number: 3202196
      No Longer Available
  • 2
    SWITCH, SELECTOR (LOWER OVEN) – Part Number: 8014699
    SWITCH, SELECTOR (LOWER OVEN)
    Part Number: 8014699
      No Longer Available
  • 3
    DISCONTINUED – Part Number: 5305110201
    DISCONTINUED
    Part Number: 5305110201
      No Longer Available
  • 4
    DISCONTINUED – Part Number: 5305151901
    DISCONTINUED
    Part Number: 5305151901
      No Longer Available
  • 5
    Oven Thermostat – Part Number: 5303934039
    Oven Thermostat
    Part Number: 5303934039
      No Longer Available
  • 6
    INDICATOR – Part Number: 3202149
    INDICATOR
    Part Number: 3202149
      No Longer Available
  • 7
    INDICATOR – Part Number: 3202149
    INDICATOR
    Part Number: 3202149
      No Longer Available
  • 8
    SUPPORTS (2) – Part Number: 8003380
    SUPPORTS (2)
    Part Number: 8003380
      No Longer Available
  • 9
    SCREW – Part Number: 08002868
    SCREW
    Part Number: 08002868
      In Stock
    $24.97
  • 10
    SCREW – Part Number: 636T082P01
    SCREW
    Part Number: 636T082P01
      Special Order
    $9.74
  • 11
    BUMPERS (6) – Part Number: 8003390
    BUMPERS (6)
    Part Number: 8003390
      No Longer Available
  • 12
    CAP, Left Hand – Part Number: 8008849
    CAP, Left Hand
    Part Number: 8008849
      No Longer Available
  • 13
    KNOB – Part Number: 5308015741
    KNOB
    Part Number: 5308015741
      No Longer Available
  • 14
    TRIM BOTTOM – Part Number: 8014716
    TRIM BOTTOM
    Part Number: 8014716
      No Longer Available
  • 15
    BEZEL – Part Number: 5303016305
    BEZEL
    Part Number: 5303016305
      Special Order
    $27.69
  • 16
    Clock Knob – Part Number: 318036310
    Clock Knob
    Part Number: 318036310
      No Longer Available
  • 17
    SCREW – Part Number: 5303051859
    SCREW
    Part Number: 5303051859
      Special Order
    $8.65
  • 18
    CAP, Right Hand – Part Number: 8008848
    CAP, Right Hand
    Part Number: 8008848
      No Longer Available
  • 19
    SCREWS (2) – Part Number: 8003397
    SCREWS (2)
    Part Number: 8003397
      No Longer Available
  • 20
    GLASS – Part Number: 8014719
    GLASS
    Part Number: 8014719
      No Longer Available
  • 21
    COOK MASTER & TIME SIGNAL – Part Number: 8014718
    COOK MASTER & TIME SIGNAL
    Part Number: 8014718
      No Longer Available
  • 22
    NUT – Part Number: 316205500
    NUT
    Part Number: 316205500
      In Stock
    $20.62
  • 23
    NUT-FLAT HEX – Part Number: 3051832
    NUT-FLAT HEX
    Part Number: 3051832
      Special Order
    $8.65
  • 24
    DISCONTINUED – Part Number: 5305022101
    DISCONTINUED
    Part Number: 5305022101
      No Longer Available
  • 25
    SCREW – Part Number: 636T082P01
    SCREW
    Part Number: 636T082P01
      Special Order
    $9.74
  • 26
    PILOT LIGHT, LOWER OVEN – Part Number: 8014709
    PILOT LIGHT, LOWER OVEN
    Part Number: 8014709
      No Longer Available
  • 27
    PANEL, CONTROL – Part Number: 8014712
    PANEL, CONTROL
    Part Number: 8014712
      No Longer Available
  • 28
    TRIM, TOP – Part Number: 8014720
    TRIM, TOP
    Part Number: 8014720
      No Longer Available
  • 29
    SCREWS (2) – Part Number: 8003397
    SCREWS (2)
    Part Number: 8003397
      No Longer Available
DOOR LATCH MECHANISM
DOOR LATCH MECHANISM Diagram and Parts List for  Frigidaire Wall Oven
  • 1
    DISCONTINUED – Part Number: 3931010
    DISCONTINUED
    Part Number: 3931010
      Special Order
    $195.13
  • 2
    SUPPORT – Part Number: 8008780
    SUPPORT
    Part Number: 8008780
      No Longer Available
  • 3
    SCREW (2) – Part Number: 8014721
    SCREW (2)
    Part Number: 8014721
      No Longer Available
  • 4
    CAM – Part Number: 8003088
    CAM
    Part Number: 8003088
      No Longer Available
  • 5
    Pin – Part Number: 5308003089
    Pin
    Part Number: 5308003089
      Special Order
    $8.65
  • 6
    BAR – Part Number: 8003366
    BAR
    Part Number: 8003366
      No Longer Available
  • 7
    DISCONTINUED – Part Number: 5301164423
    DISCONTINUED
    Part Number: 5301164423
      Special Order
    $8.65
  • 8
    LATCH – Part Number: 5305260201
    LATCH
    Part Number: 5305260201
      No Longer Available
  • 9
    HOUSING-DOOR LATCH – Part Number: 3051647
    HOUSING-DOOR LATCH
    Part Number: 3051647
      No Longer Available
  • 10
    WASHER – Part Number: 3051785
    WASHER
    Part Number: 3051785
      Special Order
    $13.00
  • 11
    SCREW – Part Number: 5303051859
    SCREW
    Part Number: 5303051859
      Special Order
    $8.65
  • 12
    STUD-AXLE – Part Number: 5308012004
    STUD-AXLE
    Part Number: 5308012004
      Special Order
    $13.00
  • 13
    COVER – Part Number: 08016550
    COVER
    Part Number: 08016550
      No Longer Available
  • 14
    DISCONTINUED – Part Number: 5301164424
    DISCONTINUED
    Part Number: 5301164424
      No Longer Available
  • 15
    SCREW – Part Number: 8003093
    SCREW
    Part Number: 8003093
      No Longer Available
  • 16
    SWITCH – Part Number: 5308006582
    SWITCH
    Part Number: 5308006582
      No Longer Available
  • 17
    INSULATOR – Part Number: 8003090
    INSULATOR
    Part Number: 8003090
      Special Order
    $8.65
  • 18
    SWITCH – Part Number: 5308006582
    SWITCH
    Part Number: 5308006582
      No Longer Available
  • 19
    INSULATOR – Part Number: 8003090
    INSULATOR
    Part Number: 8003090
      Special Order
    $8.65
  • 20
    SCREW – Part Number: 08002868
    SCREW
    Part Number: 08002868
      In Stock
    $24.97
OVEN DOOR, PANELS
OVEN DOOR, PANELS Diagram and Parts List for  Frigidaire Wall Oven
  • 1
    PANEL, INTERIOR DOOR – Part Number: 8008853
    PANEL, INTERIOR DOOR
    Part Number: 8008853
      No Longer Available
  • 2
    Gasket – Part Number: 5303051704
    Gasket
    Part Number: 5303051704
      No Longer Available
  • 3
    GASKET – Part Number: 3051706
    GASKET
    Part Number: 3051706
      No Longer Available
  • 4
    STRIKE PLATE – Part Number: 5301167830
    STRIKE PLATE
    Part Number: 5301167830
      Special Order
    $43.34
  • 5
    PANEL, INTERIOR – Part Number: 8008852
    PANEL, INTERIOR
    Part Number: 8008852
      No Longer Available
  • 6
    PANEL, AIR WASH – Part Number: 8008851
    PANEL, AIR WASH
    Part Number: 8008851
      No Longer Available
  • 7
    GLASS – Part Number: 5303051713
    GLASS
    Part Number: 5303051713
      No Longer Available
  • 8
    BRACKET – Part Number: 318122100
    BRACKET
    Part Number: 318122100
      Special Order
    $36.23
  • 9
    SCREW – Part Number: 08002868
    SCREW
    Part Number: 08002868
      In Stock
    $24.97
  • 10
    PANEL, HEAT REFLECTOR – Part Number: 8014711
    PANEL, HEAT REFLECTOR
    Part Number: 8014711
      No Longer Available
  • 11
    SCREW (4) – Part Number: 8003330
    SCREW (4)
    Part Number: 8003330
      No Longer Available
  • 12
    HANDLE – Part Number: 8014701
    HANDLE
    Part Number: 8014701
      No Longer Available
  • 13
    FRAME, DOOR – Part Number: 8014702
    FRAME, DOOR
    Part Number: 8014702
      No Longer Available
  • 14
    SCREW – Part Number: 5303051859
    SCREW
    Part Number: 5303051859
      Special Order
    $8.65
  • 15
    DISCONTINUED – Part Number: 5305060501
    DISCONTINUED
    Part Number: 5305060501
      No Longer Available
  • 17
    SCREW – Part Number: 5303051859
    SCREW
    Part Number: 5303051859
      Special Order
    $8.65
  • 18
    SCREW – Part Number: 8002213
    SCREW
    Part Number: 8002213
      No Longer Available
  • 19
    HINGE – Part Number: 5308003183
    HINGE
    Part Number: 5308003183
      Special Order
    $74.97
  • 20
    SCREW – Part Number: 5303051859
    SCREW
    Part Number: 5303051859
      Special Order
    $8.65
  • 21
    STUD-AXLE – Part Number: 5308012004
    STUD-AXLE
    Part Number: 5308012004
      Special Order
    $13.00
  • 22
    ROLLER – Part Number: 5301167752
    ROLLER
    Part Number: 5301167752
      No Longer Available
  • 23
    SPRING-OVEN DOOR – Part Number: 08003264
    SPRING-OVEN DOOR
    Part Number: 08003264
      No Longer Available
  • 24
    CHANNEL – Part Number: 3051565
    CHANNEL
    Part Number: 3051565
      Special Order
    $55.95
  • 25
    WASHER – Part Number: 3051785
    WASHER
    Part Number: 3051785
      Special Order
    $13.00
  • 26
    SCREW – Part Number: 5303051859
    SCREW
    Part Number: 5303051859
      Special Order
    $8.65
  • 27
    SCREW – Part Number: 08002868
    SCREW
    Part Number: 08002868
      In Stock
    $24.97
  • 28
    PLUG BUTTON – Part Number: 3051807
    PLUG BUTTON
    Part Number: 3051807
      Special Order
    $8.65
  • 29
    GLASS – Part Number: 903023-9010
    GLASS
    Part Number: 903023-9010
      No Longer Available
OVEN DOOR, PANELS
OVEN DOOR, PANELS Diagram and Parts List for  Frigidaire Wall Oven
  • 1
    SCREW – Part Number: 5303051859
    SCREW
    Part Number: 5303051859
      Special Order
    $8.65
  • 2
    WASHER – Part Number: 3051785
    WASHER
    Part Number: 3051785
      Special Order
    $13.00
  • 3
    PANEL, INTERIOR DOOR – Part Number: 8012255
    PANEL, INTERIOR DOOR
    Part Number: 8012255
      No Longer Available
  • 4
    SEAL-WINDOW – Part Number: 3051574
    SEAL-WINDOW
    Part Number: 3051574
      No Longer Available
  • 5
    SPACER-GLASS – Part Number: 5301324812
    SPACER-GLASS
    Part Number: 5301324812
      Special Order
    $8.65
  • 6
    BUMPER-DOOR – Part Number: 5303131771
    BUMPER-DOOR
    Part Number: 5303131771
      Special Order
    $23.88
  • 7
    BRACKET-GLASS Mounting – Part Number: 3205108
    BRACKET-GLASS Mounting
    Part Number: 3205108
      No Longer Available
  • 8
    GLASS-OVEN DOOR – Part Number: 5301325511
    GLASS-OVEN DOOR
    Part Number: 5301325511
      No Longer Available
  • 9
    CHANNEL – Part Number: 3051565
    CHANNEL
    Part Number: 3051565
      Special Order
    $55.95
  • 10
    SCREW – Part Number: 5303051859
    SCREW
    Part Number: 5303051859
      Special Order
    $8.65
  • 11
    SCREW – Part Number: 5303051859
    SCREW
    Part Number: 5303051859
      Special Order
    $8.65
  • 12
    SCREW-HANDLE – Part Number: K5104201
    SCREW-HANDLE
    Part Number: K5104201
      Special Order
    $8.65
  • 13
    HANDLE – Part Number: 8014701
    HANDLE
    Part Number: 8014701
      No Longer Available
  • 14
    SCREW – Part Number: 5303051859
    SCREW
    Part Number: 5303051859
      Special Order
    $8.65
  • 15
    FRAME, DOOR – Part Number: 8014702
    FRAME, DOOR
    Part Number: 8014702
      No Longer Available
  • 16
    DISCONTINUED – Part Number: 5305060501
    DISCONTINUED
    Part Number: 5305060501
      No Longer Available
  • 17
    PANEL, AIR WASH – Part Number: 8012246
    PANEL, AIR WASH
    Part Number: 8012246
      No Longer Available
  • 18
    HINGE – Part Number: 5308003183
    HINGE
    Part Number: 5308003183
      Special Order
    $74.97
  • 19
    STUD-AXLE – Part Number: 5308012004
    STUD-AXLE
    Part Number: 5308012004
      Special Order
    $13.00
  • 21
    ROLLER – Part Number: 5301167752
    ROLLER
    Part Number: 5301167752
      No Longer Available
  • 22
    SPRING (2) – Part Number: 8003624
    SPRING (2)
    Part Number: 8003624
      No Longer Available
  • 23
    BUMPER-DOOR – Part Number: 5303131771
    BUMPER-DOOR
    Part Number: 5303131771
      Special Order
    $23.88
  • 24
    SCREW – Part Number: 5303051859
    SCREW
    Part Number: 5303051859
      Special Order
    $8.65
  • 25
    SPACER-GLASS – Part Number: 5301324812
    SPACER-GLASS
    Part Number: 5301324812
      Special Order
    $8.65
  • 26
    BRACKET-GLASS Mounting – Part Number: 3205108
    BRACKET-GLASS Mounting
    Part Number: 3205108
      No Longer Available
  • 27
    WASHER – Part Number: 3051785
    WASHER
    Part Number: 3051785
      Special Order
    $13.00
OVEN DOOR, PANELS (LOWER OVEN DOOR)
OVEN DOOR, PANELS (LOWER OVEN DOOR) Diagram and Parts List for  Frigidaire Wall Oven
  • 1
    SCREW – Part Number: 5303051859
    SCREW
    Part Number: 5303051859
      Special Order
    $8.65
  • 2
    WASHER – Part Number: 3051785
    WASHER
    Part Number: 3051785
      Special Order
    $13.00
  • 3
    BRACKET-GLASS Mounting – Part Number: 3205108
    BRACKET-GLASS Mounting
    Part Number: 3205108
      No Longer Available
  • 4
    PANEL, INTERIOR DOOR – Part Number: 8012255
    PANEL, INTERIOR DOOR
    Part Number: 8012255
      No Longer Available
  • 5
    SPACER-GLASS – Part Number: 5301324812
    SPACER-GLASS
    Part Number: 5301324812
      Special Order
    $8.65
  • 6
    BUMPER-DOOR – Part Number: 5303131771
    BUMPER-DOOR
    Part Number: 5303131771
      Special Order
    $23.88
  • 7
    SEAL-WINDOW – Part Number: 3051574
    SEAL-WINDOW
    Part Number: 3051574
      No Longer Available
  • 8
    GLASS-OVEN DOOR – Part Number: 5301325511
    GLASS-OVEN DOOR
    Part Number: 5301325511
      No Longer Available
  • 9
    PANEL, AIR WASH – Part Number: 8012246
    PANEL, AIR WASH
    Part Number: 8012246
      No Longer Available
  • 10
    SCREW-HANDLE Mounting – Part Number: 5303051860
    SCREW-HANDLE Mounting
    Part Number: 5303051860
      No Longer Available
  • 11
    HANDLE – Part Number: 8014701
    HANDLE
    Part Number: 8014701
      No Longer Available
  • 12
    FRAME, DOOR – Part Number: 8014702
    FRAME, DOOR
    Part Number: 8014702
      No Longer Available
  • 13
    SCREW – Part Number: 5303051859
    SCREW
    Part Number: 5303051859
      Special Order
    $8.65
  • 14
    DISCONTINUED – Part Number: 5305060501
    DISCONTINUED
    Part Number: 5305060501
      No Longer Available
  • 15
    SCREW – Part Number: 5303051859
    SCREW
    Part Number: 5303051859
      Special Order
    $8.65
  • 16
    HINGE – Part Number: 8014714
    HINGE
    Part Number: 8014714
      No Longer Available
  • 17
    SCREW – Part Number: 5303051859
    SCREW
    Part Number: 5303051859
      Special Order
    $8.65
  • 18
    STUD-AXLE – Part Number: 5308012004
    STUD-AXLE
    Part Number: 5308012004
      Special Order
    $13.00
  • 19
    ROLLER  KIT – Part Number: 8050070
    ROLLER KIT
    Part Number: 8050070
      No Longer Available
  • 20
    CHANNEL – Part Number: 3051565
    CHANNEL
    Part Number: 3051565
      Special Order
    $55.95
  • 21
    USE WCI 08003264 – Part Number: 8003264
    USE WCI 08003264
    Part Number: 8003264
      Special Order
    $18.44
  • 22
    WASHER – Part Number: 3051785
    WASHER
    Part Number: 3051785
      Special Order
    $13.00
  • 23
    SCREW – Part Number: 5303051859
    SCREW
    Part Number: 5303051859
      Special Order
    $8.65
  • 24
    SPACER-GLASS – Part Number: 5301324812
    SPACER-GLASS
    Part Number: 5301324812
      Special Order
    $8.65
OVEN FAN, MOTOR, PANELS
OVEN FAN, MOTOR, PANELS Diagram and Parts List for  Frigidaire Wall Oven
  • 1
    PANEL, TOP – Part Number: 8003455
    PANEL, TOP
    Part Number: 8003455
      No Longer Available
  • 3
    SCREW – Part Number: 08002868
    SCREW
    Part Number: 08002868
      In Stock
    $24.97
  • 4
    NUT – Part Number: 8003331
    NUT
    Part Number: 8003331
      Special Order
    $8.65
  • 5
    BRACKET, FAN MOTOR – Part Number: 8004954
    BRACKET, FAN MOTOR
    Part Number: 8004954
      No Longer Available
  • 6
    MOTOR – Part Number: 8008843
    MOTOR
    Part Number: 8008843
      Special Order
    $106.65
  • 7
    BLADE, FAN – Part Number: 8008844
    BLADE, FAN
    Part Number: 8008844
      No Longer Available
  • 8
    SCREWS (2) – Part Number: 8008855
    SCREWS (2)
    Part Number: 8008855
      No Longer Available
  • 9
    SWITCH, OVEN LIGHT & DOOR CLOSURE – Part Number: 8003373
    SWITCH, OVEN LIGHT & DOOR CLOSURE
    Part Number: 8003373
      Special Order
    $27.69
  • 10
    INSULATOR – Part Number: 8003372
    INSULATOR
    Part Number: 8003372
      No Longer Available
  • 11
    SCREWS (2) – Part Number: 8003110
    SCREWS (2)
    Part Number: 8003110
      No Longer Available
  • 12
    BRACKET, INTERLOCK ROD – Part Number: 8003370
    BRACKET, INTERLOCK ROD
    Part Number: 8003370
      No Longer Available
  • 13
    PROTECTOR, THERMAL – Part Number: 8008841
    PROTECTOR, THERMAL
    Part Number: 8008841
      No Longer Available
  • 14
    ROD – Part Number: 8003371
    ROD
    Part Number: 8003371
      No Longer Available
  • 15
    WASHERS (2) – Part Number: 8003259
    WASHERS (2)
    Part Number: 8003259
      No Longer Available
  • 16
    SHIELD – Part Number: 8008840
    SHIELD
    Part Number: 8008840
      No Longer Available
  • 17
    SCREW – Part Number: 08002868
    SCREW
    Part Number: 08002868
      In Stock
    $24.97
  • 18
    HOUSING, FAN MOUNTING – Part Number: 8014710
    HOUSING, FAN MOUNTING
    Part Number: 8014710
      No Longer Available
  • 19
    CLIP – Part Number: 8003376
    CLIP
    Part Number: 8003376
      No Longer Available
  • 20
    HOUSING, CONTROL – Part Number: 8003400
    HOUSING, CONTROL
    Part Number: 8003400
      No Longer Available
  • 21
    EXTENSION, VENT – Part Number: 8003402
    EXTENSION, VENT
    Part Number: 8003402
      No Longer Available
  • 22
    DUCT, OVEN VENT – Part Number: 8003401
    DUCT, OVEN VENT
    Part Number: 8003401
      No Longer Available
  • 23
    SCREW – Part Number: 08002868
    SCREW
    Part Number: 08002868
      In Stock
    $24.97
  • 24
    SCREW – Part Number: 08002868
    SCREW
    Part Number: 08002868
      In Stock
    $24.97
OVEN LINER, HEATING ELEMENTS, PANEL
OVEN LINER, HEATING ELEMENTS, PANEL Diagram and Parts List for  Frigidaire Wall Oven