Powermate Parts

Powermate Field Trimmer Replacement Parts For Model PWFT14022

We Sell Only Genuine Powermate Parts

Popular Parts for PWFT14022

Search Within Model

Browse all Parts Search by Area
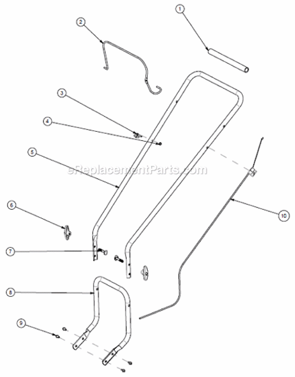
Page A Diagram and Parts List for  Powermate Trimmer
Page A
Page B Diagram and Parts List for  Powermate Trimmer
Page B
Page C Diagram and Parts List for  Powermate Trimmer
Page C
Page D Diagram and Parts List for  Powermate Trimmer
Page D
Page E Diagram and Parts List for  Powermate Trimmer
Page E
Page F Diagram and Parts List for  Powermate Trimmer
Page F
Page G Diagram and Parts List for  Powermate Trimmer
Page G
Page H Diagram and Parts List for  Powermate Trimmer
Page H
Page I Diagram and Parts List for  Powermate Trimmer
Page I
Page J Diagram and Parts List for  Powermate Trimmer
Page J
Page K Diagram and Parts List for  Powermate Trimmer
Page K
Page L Diagram and Parts List for  Powermate Trimmer
Page L
Page M Diagram and Parts List for  Powermate Trimmer
Page M
Page N Diagram and Parts List for  Powermate Trimmer
Page N
Page O Diagram and Parts List for  Powermate Trimmer
Page O
Page P Diagram and Parts List for  Powermate Trimmer
Page P
Page Q Diagram and Parts List for  Powermate Trimmer
Page Q
Page R Diagram and Parts List for  Powermate Trimmer
Page R
Page S Diagram and Parts List for  Powermate Trimmer
Page S
Previous Showing All Parts Next
Page A
Page A Diagram and Parts List for  Powermate Trimmer
Page B
Page B Diagram and Parts List for  Powermate Trimmer
Page C
Page C Diagram and Parts List for  Powermate Trimmer
Page D
Page D Diagram and Parts List for  Powermate Trimmer
Page E
Page E Diagram and Parts List for  Powermate Trimmer
Page F
Page F Diagram and Parts List for  Powermate Trimmer
Page G
Page G Diagram and Parts List for  Powermate Trimmer
Page H
Page H Diagram and Parts List for  Powermate Trimmer
Page I
Page I Diagram and Parts List for  Powermate Trimmer
Page J
Page J Diagram and Parts List for  Powermate Trimmer
Page K
Page K Diagram and Parts List for  Powermate Trimmer
Page L
Page L Diagram and Parts List for  Powermate Trimmer
Page M
Page M Diagram and Parts List for  Powermate Trimmer
Page N
Page N Diagram and Parts List for  Powermate Trimmer
Page O
Page O Diagram and Parts List for  Powermate Trimmer
Page P
Page P Diagram and Parts List for  Powermate Trimmer
Page Q
Page Q Diagram and Parts List for  Powermate Trimmer
  • Q-1
    Tank, Fuel – Part Number: A201717
    Tank, Fuel
    Part Number: A201717
      No Longer Available
  • Q-2
    Cap, Fuel – Part Number: A202482
    Cap, Fuel
    Part Number: A202482
      No Longer Available
  • Q-5
    Line, Fuel – Part Number: A201724
    Line, Fuel
    Part Number: A201724
      No Longer Available
Page R
Page R Diagram and Parts List for  Powermate Trimmer
  • R-1
    Decal Sheet – Part Number: A202483
    Decal Sheet
    Part Number: A202483
      No Longer Available
Page S
Page S Diagram and Parts List for  Powermate Trimmer
  • S-1
    Decal Sheet – Part Number: A202484
    Decal Sheet
    Part Number: A202484
      No Longer Available