KitchenAid Parts

KitchenAid Trash Compactor Replacement Parts For Model KUCC151DBL2

We Sell Only Genuine KitchenAid Parts

Find KitchenAid KUCC151DBL2 Parts By Symptom

Compactor ram gets stuck

28%

Doesn’t stop at end of compacting cycle

27%

Drawer is hard to open and or close

14%

Noisy

14%

Won’t start

9%

Light not working

4%

Won’t stay on

2%

Shaking and Moving

1%

Popular Parts for KUCC151DBL2

Search Within Model

Browse all Parts Search by Area
ACCESSORY Diagram and Parts List for  KitchenAid Trash Compactor
ACCESSORY
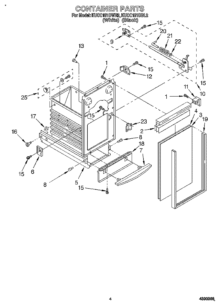
CONTAINER Diagram and Parts List for  KitchenAid Trash Compactor
CONTAINER
FRAME Diagram and Parts List for  KitchenAid Trash Compactor
FRAME
MOTOR AND DRIVE, LIT/OPTIONAL Diagram and Parts List for  KitchenAid Trash Compactor
MOTOR AND DRIVE, LIT/OPTIONAL
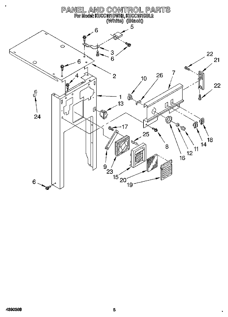
PANEL AND CONTROL Diagram and Parts List for  KitchenAid Trash Compactor
PANEL AND CONTROL
POWERSCREW AND RAM Diagram and Parts List for  KitchenAid Trash Compactor
POWERSCREW AND RAM
Previous Showing All Parts Next
ACCESSORY
ACCESSORY Diagram and Parts List for  KitchenAid Trash Compactor
CONTAINER
CONTAINER Diagram and Parts List for  KitchenAid Trash Compactor
FRAME
FRAME Diagram and Parts List for  KitchenAid Trash Compactor
MOTOR AND DRIVE, LIT/OPTIONAL
MOTOR AND DRIVE, LIT/OPTIONAL Diagram and Parts List for  KitchenAid Trash Compactor
PANEL AND CONTROL
PANEL AND CONTROL Diagram and Parts List for  KitchenAid Trash Compactor
POWERSCREW AND RAM
POWERSCREW AND RAM Diagram and Parts List for  KitchenAid Trash Compactor