Our customer service team are at the ready daily to answer your part and product questions. We have a dedicated staff with decades of collective experience in helping customers just like you purchase parts to repair their products.
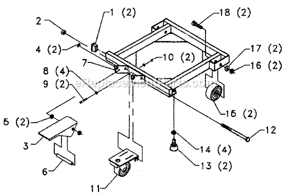
Delta Mobile Base Tool Stand & Cart Replacement Parts For Model 50-293 (Type 1)
We Sell Only Genuine Delta Parts
Popular Parts for 50-293
In Stock
$56.51
In Stock
Minimum Quantity of 2 required
$6.16
In Stock
$6.16
On Order
$13.67
Special Order
$12.95
In Stock
$18.88
Special Order
$6.16
Special Order
$25.90
Search Within Model
Browse all Parts
Search by Area
Previous
Showing All Parts
Next
Page A
✖
✖