Powermate Parts

Powermate Front Tine Tiller Replacement Parts For Model PFTT140BE

We Sell Only Genuine Powermate Parts

Find Powermate PFTT140BE Parts By Symptom

Drive system does not work

100%

Popular Parts for PFTT140BE

Search Within Model

Questions & Answers for Powermate PFTT140BE
Browse all Parts Search by Area
Air Cleaner Diagram and Parts List for  Powermate Tiller
Air Cleaner
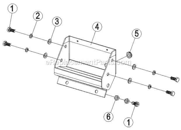
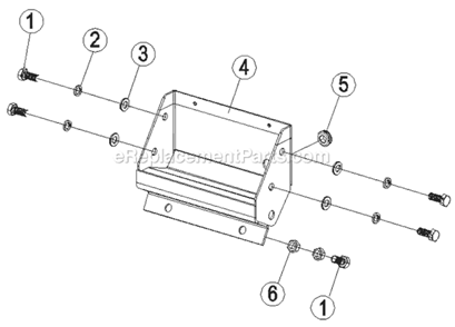
Base Assembly Diagram and Parts List for  Powermate Tiller
Base Assembly
Camshaft Diagram and Parts List for  Powermate Tiller
Camshaft
Carburetor Diagram and Parts List for  Powermate Tiller
Carburetor
Control Diagram and Parts List for  Powermate Tiller
Control
Cylinder Head Diagram and Parts List for  Powermate Tiller
Cylinder Head
Decals Diagram and Parts List for  Powermate Tiller
Decals
Engine - Top Level Assembly Diagram and Parts List for  Powermate Tiller
Engine - Top Level Assembly
Fan Shield Diagram and Parts List for  Powermate Tiller
Fan Shield
Flywheel/Ignition Diagram and Parts List for  Powermate Tiller
Flywheel/Ignition
Fuel Tank Diagram and Parts List for  Powermate Tiller
Fuel Tank
Handle Assembly Diagram and Parts List for  Powermate Tiller
Handle Assembly
Inspection Plates Diagram and Parts List for  Powermate Tiller
Inspection Plates
Muffler Diagram and Parts List for  Powermate Tiller
Muffler
Recoil Starter Diagram and Parts List for  Powermate Tiller
Recoil Starter
Short Block Assembly Diagram and Parts List for  Powermate Tiller
Short Block Assembly
Swing Plate Assembly Diagram and Parts List for  Powermate Tiller
Swing Plate Assembly
Swing Plate Mount Assembly Diagram and Parts List for  Powermate Tiller
Swing Plate Mount Assembly
Tine And Transmission Assembly Diagram and Parts List for  Powermate Tiller
Tine And Transmission Assembly
Warning And Safe Operation Labels Diagram and Parts List for  Powermate Tiller
Warning And Safe Operation Labels
Previous Showing All Parts Next
Air Cleaner
Air Cleaner Diagram and Parts List for  Powermate Tiller
Base Assembly
Base Assembly Diagram and Parts List for  Powermate Tiller
Camshaft
Camshaft Diagram and Parts List for  Powermate Tiller
Carburetor
Carburetor Diagram and Parts List for  Powermate Tiller
Control
Control Diagram and Parts List for  Powermate Tiller
Cylinder Head
Cylinder Head Diagram and Parts List for  Powermate Tiller
Decals
Decals Diagram and Parts List for  Powermate Tiller
Engine - Top Level Assembly
Engine - Top Level Assembly Diagram and Parts List for  Powermate Tiller
Fan Shield
Fan Shield Diagram and Parts List for  Powermate Tiller
Flywheel/Ignition
Flywheel/Ignition Diagram and Parts List for  Powermate Tiller
Fuel Tank
Fuel Tank Diagram and Parts List for  Powermate Tiller
Handle Assembly
Handle Assembly Diagram and Parts List for  Powermate Tiller
Inspection Plates
Inspection Plates Diagram and Parts List for  Powermate Tiller
Muffler
Muffler Diagram and Parts List for  Powermate Tiller
Recoil Starter
Recoil Starter Diagram and Parts List for  Powermate Tiller
Short Block Assembly
Short Block Assembly Diagram and Parts List for  Powermate Tiller
Swing Plate Assembly
Swing Plate Assembly Diagram and Parts List for  Powermate Tiller
Swing Plate Mount Assembly
Swing Plate Mount Assembly Diagram and Parts List for  Powermate Tiller
Tine And Transmission Assembly
Tine And Transmission Assembly Diagram and Parts List for  Powermate Tiller
Warning And Safe Operation Labels
Warning And Safe Operation Labels Diagram and Parts List for  Powermate Tiller

Questions & Answers

?

Our customer Service team is at the ready daily to answer your part and product questions.

We're sorry, but our Q&A experts are temporarily unavailable.
Please check back later if you still haven't found the answer you need.

Ask our Team

We have a dedicated staff with decades of collective experience in helping customers just like you purchase parts to repair their products.