Craftsman Parts

Craftsman Tiller Replacement Parts For Model 917298353

We Sell Only Genuine Craftsman Parts

Popular Parts for 917298353

Search Within Model

Browse all Parts Search by Area
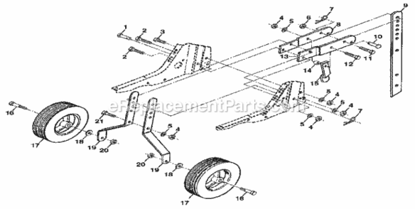
Page A Diagram and Parts List for  Craftsman Tiller
Page A
Page B Diagram and Parts List for  Craftsman Tiller
Page B
Page C Diagram and Parts List for  Craftsman Tiller
Page C
Page D Diagram and Parts List for  Craftsman Tiller
Page D
Page E Diagram and Parts List for  Craftsman Tiller
Page E
Page F Diagram and Parts List for  Craftsman Tiller
Page F
Previous Showing All Parts Next
Page A
Page A Diagram and Parts List for  Craftsman Tiller
Page B
Page B Diagram and Parts List for  Craftsman Tiller
Page C
Page C Diagram and Parts List for  Craftsman Tiller
Page D
Page D Diagram and Parts List for  Craftsman Tiller
Page E
Page E Diagram and Parts List for  Craftsman Tiller
  • E-1
    Bolt – Part Number: 74930524
    Bolt
    Part Number: 74930524
      No Longer Available
  • E-2
    Bolt – Part Number: STD623732
    Bolt
    Part Number: STD623732
      No Longer Available
  • E-3
    Washer 8Pk – Part Number: STD551037
    Washer 8Pk
    Part Number: STD551037
      No Longer Available
  • E-4
    Washer, Lock 3/8 – Part Number: STD551137
    Washer, Lock 3/8
    Part Number: STD551137
      No Longer Available
  • E-5
    Hex Lock Nut – Part Number: STD541537
    Hex Lock Nut
    Part Number: STD541537
      No Longer Available
  • E-6
    Shield – Part Number: 9056R417
    Shield
    Part Number: 9056R417
      No Longer Available
  • E-7
    Bracket, Engine, R.H. – Part Number: 165835
    Bracket, Engine, R.H.
    Part Number: 165835
      No Longer Available
  • E-8
    Engine Bracket – Part Number: 110519X
    Engine Bracket
    Part Number: 110519X
      No Longer Available
  • E-9
    Lock Washer – Part Number: STD551131
    Lock Washer
    Part Number: STD551131
      No Longer Available
  • E-10
    Nut 8Pk – Part Number: STD541031
    Nut 8Pk
    Part Number: STD541031
      No Longer Available
  • E-11
    Bolt, Hex 5/16-18 X 2-3/4 – Part Number: 596218601
    Bolt, Hex 5/16-18 X 2-3/4
    Part Number: 596218601
      Special Order
    $6.47
  • E-12
    Spacer, Split – Part Number: 583779801
    Spacer, Split
    Part Number: 583779801
      No Longer Available
  • E-13
    Transmission – Part Number: 582800901
    Transmission
    Part Number: 582800901
      Special Order
    $225.31
  • E-14
    Locknut – Part Number: STD541431
    Locknut
    Part Number: STD541431
      No Longer Available
  • E-15
    Washer – Part Number: 19091412
    Washer
    Part Number: 19091412
      No Longer Available
  • E-16
    Washer – Part Number: 19092016
    Washer
    Part Number: 19092016
      No Longer Available
  • E-17
    Washer 8Pk – Part Number: STD551125
    Washer 8Pk
    Part Number: STD551125
      No Longer Available
  • E-18
    Bolt – Part Number: 74610412
    Bolt
    Part Number: 74610412
      No Longer Available
  • E-19
    Engine – Part Number: 137263
    Engine
    Part Number: 137263
      No Longer Available
  • E-800
    Owners Manual – Part Number: 917137873
    Owners Manual
    Part Number: 917137873
      No Longer Available
Page F
Page F Diagram and Parts List for  Craftsman Tiller
  • F-1
    Logo Decal – Part Number: 137760
    Logo Decal
    Part Number: 137760
      No Longer Available
  • F-2
    Decal – Part Number: 132606
    Decal
    Part Number: 132606
      No Longer Available
  • F-3
    Decal – Part Number: 127836
    Decal
    Part Number: 127836
      No Longer Available
  • F-4
    Caution Decal – Part Number: 137539
    Caution Decal
    Part Number: 137539
      No Longer Available
  • F-5
    Decal-placement – Part Number: 584449501
    Decal-placement
    Part Number: 584449501
      Special Order
    $16.92
  • F-6
    Decal – Part Number: 110719X
    Decal
    Part Number: 110719X
      No Longer Available
  • F-7
    Decal – Part Number: 132402
    Decal
    Part Number: 132402
      No Longer Available
  • F-8
    Decal, Warning, Rotating Tines – Part Number: 120075X
    Decal, Warning, Rotating Tines
    Part Number: 120075X
      No Longer Available
  • F-800
    Owners Manual – Part Number: 917137873
    Owners Manual
    Part Number: 917137873
      No Longer Available