Craftsman Parts

Craftsman Tiller Replacement Parts For Model 917292493

We Sell Only Genuine Craftsman Parts

Popular Parts for 917292493

Search Within Model

Browse all Parts Search by Area
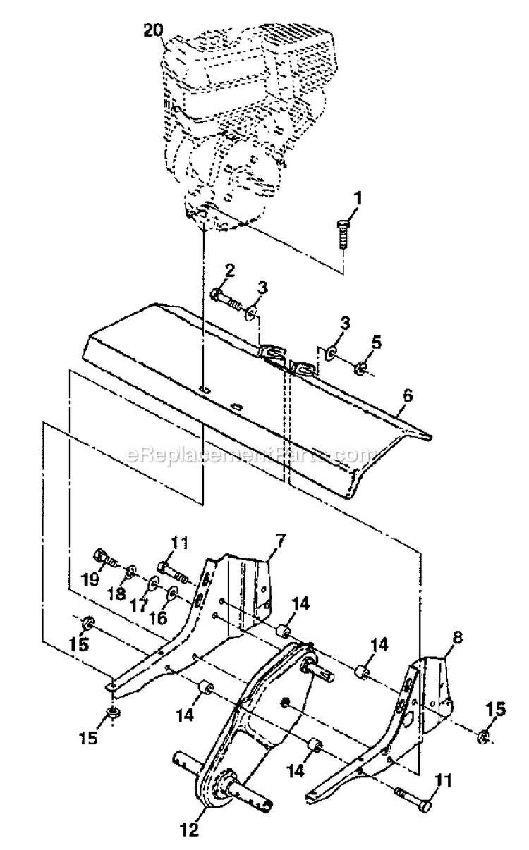
Belt Guard And Pulley Assembly Diagram and Parts List for  Craftsman Tiller
Belt Guard And Pulley Assembly
Decals Diagram and Parts List for  Craftsman Tiller
Decals
Handles Diagram and Parts List for  Craftsman Tiller
Handles
Tine Assembly Diagram and Parts List for  Craftsman Tiller
Tine Assembly
Transmission Diagram and Parts List for  Craftsman Tiller
Transmission
Wheel Depth Stake Assembly Diagram and Parts List for  Craftsman Tiller
Wheel Depth Stake Assembly
Previous Showing All Parts Next
Belt Guard And Pulley Assembly
Belt Guard And Pulley Assembly Diagram and Parts List for  Craftsman Tiller
Decals
Decals Diagram and Parts List for  Craftsman Tiller
Handles
Handles Diagram and Parts List for  Craftsman Tiller
Tine Assembly
Tine Assembly Diagram and Parts List for  Craftsman Tiller
Transmission
Transmission Diagram and Parts List for  Craftsman Tiller
Wheel Depth Stake Assembly
Wheel Depth Stake Assembly Diagram and Parts List for  Craftsman Tiller