Craftsman Parts

Craftsman Table Saw Replacement Parts For Model 315228390

We Sell Only Genuine Craftsman Parts

Popular Parts for 315228390

Search Within Model

Browse all Parts Search by Area
Base Diagram and Parts List for  Craftsman Table Saw
Base
Blade Diagram and Parts List for  Craftsman Table Saw
Blade
Blade Guard Diagram and Parts List for  Craftsman Table Saw
Blade Guard
Extension Table Diagram and Parts List for  Craftsman Table Saw
Extension Table
Miter Gage Diagram and Parts List for  Craftsman Table Saw
Miter Gage
Motor Diagram and Parts List for  Craftsman Table Saw
Motor
Rip Fence Diagram and Parts List for  Craftsman Table Saw
Rip Fence
Stand Diagram and Parts List for  Craftsman Table Saw
Stand
Switch Housing Diagram and Parts List for  Craftsman Table Saw
Switch Housing
Previous Showing All Parts Next
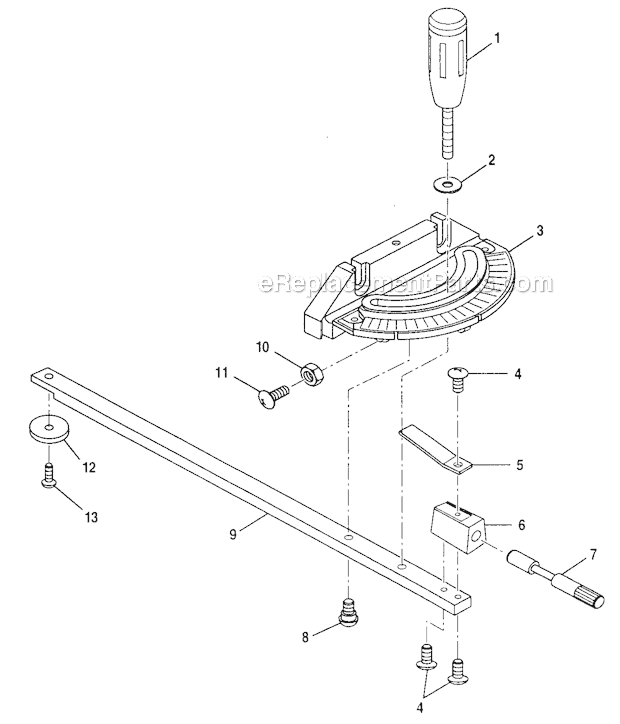
Base
Base Diagram and Parts List for  Craftsman Table Saw
  • E-1
    Base – Part Number: 979992-002
    Base
    Part Number: 979992-002
      No Longer Available
  • E-2
    Screw 5Pk – Part Number: STD523105
    Screw 5Pk
    Part Number: STD523105
      No Longer Available
  • E-3
    Washer 8Pk – Part Number: STD551231
    Washer 8Pk
    Part Number: STD551231
      Special Order
    $8.97
  • E-4
    Handwheel – Part Number: 979918-002
    Handwheel
    Part Number: 979918-002
      No Longer Available
  • E-5
    Handle – Part Number: 977229-002
    Handle
    Part Number: 977229-002
      No Longer Available
  • E-8
    Spur Screw – Part Number: STD511005
    Spur Screw
    Part Number: STD511005
      No Longer Available
  • E-9
    Fan Washer – Part Number: STD551010
    Fan Washer
    Part Number: STD551010
      No Longer Available
  • E-10
    Spur Screw – Part Number: STD511005
    Spur Screw
    Part Number: STD511005
      No Longer Available
  • E-11
    Cord Clip – Part Number: 980599-001
    Cord Clip
    Part Number: 980599-001
      No Longer Available
  • E-12
    Panel – Part Number: 980320-002
    Panel
    Part Number: 980320-002
      No Longer Available
  • E-13
    Data Plate – Part Number: 982082-001
    Data Plate
    Part Number: 982082-001
      No Longer Available
  • E-800
    Rip Fence – Part Number: 981281-001
    Rip Fence
    Part Number: 981281-001
      No Longer Available
  • E-800
    Rip Guide – Part Number: 981284-001
    Rip Guide
    Part Number: 981284-001
      No Longer Available
Blade
Blade Diagram and Parts List for  Craftsman Table Saw
  • 41
    Pulley – Part Number: 979900001
    Pulley
    Part Number: 979900001
      No Longer Available
  • I-1
    Lock Washer – Part Number: STD551131
    Lock Washer
    Part Number: STD551131
      No Longer Available
  • I-2
    Screw 5Pk – Part Number: STD523105
    Screw 5Pk
    Part Number: STD523105
      No Longer Available
  • I-3
    Guard Brkt – Part Number: 979880-001
    Guard Brkt
    Part Number: 979880-001
      No Longer Available
  • I-6
    Washer 8Pk – Part Number: STD551025
    Washer 8Pk
    Part Number: STD551025
      No Longer Available
  • I-7
    Table Brkt – Part Number: 979886-001
    Table Brkt
    Part Number: 979886-001
      No Longer Available
  • I-8
    Washer 8Pk – Part Number: STD551231
    Washer 8Pk
    Part Number: STD551231
      Special Order
    $8.97
  • I-9
    Screw 5Pk – Part Number: STD523110
    Screw 5Pk
    Part Number: STD523110
      No Longer Available
  • I-10
    Ret Ring – Part Number: 979896-001
    Ret Ring
    Part Number: 979896-001
      No Longer Available
  • I-11
    Bearing 6202Vv5/8 – Part Number: STD315223
    Bearing 6202Vv5/8
    Part Number: STD315223
      No Longer Available
  • I-12
    Key – Part Number: 979894-001
    Key
    Part Number: 979894-001
      No Longer Available
  • I-13
    Arbor – Part Number: 979893-001
    Arbor
    Part Number: 979893-001
      No Longer Available
  • I-14
    Blade – Part Number: 932126
    Blade
    Part Number: 932126
      No Longer Available
  • I-15
    Washer – Part Number: 979891-001
    Washer
    Part Number: 979891-001
      No Longer Available
  • I-16
    Blade Nut – Part Number: 979890-001
    Blade Nut
    Part Number: 979890-001
      No Longer Available
  • I-17
    Arbor Wrench (15/16-inch) – Part Number: 0101010312
    $7.22
  • I-18
    Shaft – Part Number: 979906-001
    Shaft
    Part Number: 979906-001
      No Longer Available
  • I-19
    Handle – Part Number: 979907-002
    Handle
    Part Number: 979907-002
      No Longer Available
  • I-20
    Washer 8Pk – Part Number: STD551008
    Washer 8Pk
    Part Number: STD551008
      No Longer Available
  • I-21
    Machine Screw, 8-pack – Part Number: STD510803
    Machine Screw, 8-pack
    Part Number: STD510803
      No Longer Available
  • I-22
    Rod – Part Number: 979917-001
    Rod
    Part Number: 979917-001
      No Longer Available
  • I-23
    Bracket – Part Number: 979915-001
    Bracket
    Part Number: 979915-001
      No Longer Available
  • I-24
    Spring – Part Number: 979905-001
    Spring
    Part Number: 979905-001
      No Longer Available
  • I-25
    Ret Ring – Part Number: 979904-001
    Ret Ring
    Part Number: 979904-001
      No Longer Available
  • I-26
    Washer – Part Number: 979885-001
    Washer
    Part Number: 979885-001
      No Longer Available
  • I-27
    Screw 8Pk – Part Number: STD511003
    Screw 8Pk
    Part Number: STD511003
      No Longer Available
  • I-28
    Fan Washer – Part Number: STD551010
    Fan Washer
    Part Number: STD551010
      No Longer Available
  • I-29
    Bracket – Part Number: 979908-001
    Bracket
    Part Number: 979908-001
      No Longer Available
  • I-30
    Indicator – Part Number: 979911-001
    Indicator
    Part Number: 979911-001
      No Longer Available
  • I-32
    Ret Ring – Part Number: 980589-001
    Ret Ring
    Part Number: 980589-001
      No Longer Available
  • I-33
    Adj Rod – Part Number: 979924-001
    Adj Rod
    Part Number: 979924-001
      No Longer Available
  • I-34
    Washer – Part Number: 979923-001
    Washer
    Part Number: 979923-001
      No Longer Available
  • I-35
    Washer – Part Number: 979922-001
    Washer
    Part Number: 979922-001
      No Longer Available
  • I-36
    Cradle – Part Number: 979897-001
    Cradle
    Part Number: 979897-001
      No Longer Available
  • I-37
    Housing – Part Number: 979898-001
    Housing
    Part Number: 979898-001
      No Longer Available
  • I-38
    Washer – Part Number: 979902-001
    Washer
    Part Number: 979902-001
      No Longer Available
  • I-39
    Ret Ring – Part Number: 979903-001
    Ret Ring
    Part Number: 979903-001
      No Longer Available
  • I-40
    Belt – Part Number: STD304420
    Belt
    Part Number: STD304420
      No Longer Available
  • I-41
    Pulley – Part Number: 979900-001
    Pulley
    Part Number: 979900-001
      No Longer Available
  • I-42
    Screw 5pk – Part Number: STD502502
    Screw 5pk
    Part Number: STD502502
      No Longer Available
  • I-43
    Ret Ring – Part Number: 980593-001
    Ret Ring
    Part Number: 980593-001
      No Longer Available
  • I-44
    Screw 5Pk – Part Number: STD523106
    Screw 5Pk
    Part Number: STD523106
      No Longer Available
  • I-44A
    Screw 5Pk – Part Number: STD523107
    Screw 5Pk
    Part Number: STD523107
      No Longer Available
  • I-45
    Motor Base – Part Number: 979925-001
    Motor Base
    Part Number: 979925-001
      No Longer Available
  • I-46
    Spring – Part Number: 979926-001
    Spring
    Part Number: 979926-001
      No Longer Available
  • I-47
    Ret Ring – Part Number: 979904-001
    Ret Ring
    Part Number: 979904-001
      No Longer Available
  • I-47A
    E Ring – Part Number: STD581043
    E Ring
    Part Number: STD581043
      No Longer Available
  • I-48
    Shaft – Part Number: 979927-001
    Shaft
    Part Number: 979927-001
      No Longer Available
  • I-49
    Screw – Part Number: 979928-001
    Screw
    Part Number: 979928-001
      No Longer Available
  • I-50
    Mtg Plate – Part Number: 979929-001
    Mtg Plate
    Part Number: 979929-001
      No Longer Available
  • I-51
    Nut 8Pk – Part Number: STD541031
    Nut 8Pk
    Part Number: STD541031
      No Longer Available
  • I-52
    Flat Washer, 8Pk – Part Number: STD551031
    Flat Washer, 8Pk
    Part Number: STD551031
      No Longer Available
  • I-52A
    Washer 5/16 In – Part Number: STD441031
    Washer 5/16 In
    Part Number: STD441031
      No Longer Available
  • I-800
    Rip Fence – Part Number: 981281-001
    Rip Fence
    Part Number: 981281-001
      No Longer Available
  • I-800
    Rip Guide – Part Number: 981284-001
    Rip Guide
    Part Number: 981284-001
      No Longer Available
Blade Guard
Blade Guard Diagram and Parts List for  Craftsman Table Saw
  • D-1
    Pushnut – Part Number: 979935-001
    Pushnut
    Part Number: 979935-001
      No Longer Available
  • D-2
    Pawl – Part Number: 979940-001
    Pawl
    Part Number: 979940-001
      No Longer Available
  • D-3
    Spacer – Part Number: 979944-001
    Spacer
    Part Number: 979944-001
      No Longer Available
  • D-4
    Washer 8Pk – Part Number: STD551025
    Washer 8Pk
    Part Number: STD551025
      No Longer Available
  • D-5
    Screw – Part Number: 979942-001
    Screw
    Part Number: 979942-001
      No Longer Available
  • D-6
    Knife – Part Number: 979941-001
    Knife
    Part Number: 979941-001
      No Longer Available
  • D-7
    Guard Brkt – Part Number: 979937-001
    Guard Brkt
    Part Number: 979937-001
      No Longer Available
  • D-8
    Spring – Part Number: 979939-001
    Spring
    Part Number: 979939-001
      No Longer Available
  • D-10
    Guard – Part Number: 979934-001
    Guard
    Part Number: 979934-001
      No Longer Available
  • D-11
    Pin – Part Number: 979936-001
    Pin
    Part Number: 979936-001
      No Longer Available
  • D-13
    Warn Label – Part Number: 980400-001
    Warn Label
    Part Number: 980400-001
      No Longer Available
  • D-14
    Label – Part Number: 980324-001
    Label
    Part Number: 980324-001
      No Longer Available
  • D-800
    Rip Fence – Part Number: 981281-001
    Rip Fence
    Part Number: 981281-001
      No Longer Available
  • D-800
    Rip Guide – Part Number: 981284-001
    Rip Guide
    Part Number: 981284-001
      No Longer Available
Extension Table
Extension Table Diagram and Parts List for  Craftsman Table Saw
  • H-1
    Screw – Part Number: 979879-001
    Screw
    Part Number: 979879-001
      No Longer Available
  • H-2
    Screw 8Pk – Part Number: STD510805
    Screw 8Pk
    Part Number: STD510805
      No Longer Available
  • H-3
    End Cap – Part Number: 979946-001
    End Cap
    Part Number: 979946-001
      No Longer Available
  • H-4
    Label – Part Number: 980323-001
    Label
    Part Number: 980323-001
      No Longer Available
  • H-5
    Rear Rail – Part Number: 979947-001
    Rear Rail
    Part Number: 979947-001
      No Longer Available
  • H-5A
    Rear Rail – Part Number: 979947-001
    Rear Rail
    Part Number: 979947-001
      No Longer Available
  • H-5B
    Rear Rail – Part Number: 979947-001
    Rear Rail
    Part Number: 979947-001
      No Longer Available
  • H-6
    Connector – Part Number: 982084-001
    Connector
    Part Number: 982084-001
      No Longer Available
  • H-7
    End Cap – Part Number: 979948-001
    End Cap
    Part Number: 979948-001
      No Longer Available
  • H-9
    Scale Rt – Part Number: 982081-001
    Scale Rt
    Part Number: 982081-001
      No Longer Available
  • H-10
    End Cap – Part Number: 979951-001
    End Cap
    Part Number: 979951-001
      No Longer Available
  • H-11
    Front Rail – Part Number: 979950-001
    Front Rail
    Part Number: 979950-001
      No Longer Available
  • H-11B
    Front Rail – Part Number: 979950-001
    Front Rail
    Part Number: 979950-001
      No Longer Available
  • H-12
    Connector – Part Number: 982083-001
    Connector
    Part Number: 982083-001
      No Longer Available
  • H-13
    End Cap – Part Number: 979949-001
    End Cap
    Part Number: 979949-001
      No Longer Available
  • H-14
    Lock Washer – Part Number: STD551131
    Lock Washer
    Part Number: STD551131
      No Longer Available
  • H-15
    Nut 8Pk – Part Number: STD541031
    Nut 8Pk
    Part Number: STD541031
      No Longer Available
  • H-16
    Screw 5Pk – Part Number: STD523110
    Screw 5Pk
    Part Number: STD523110
      No Longer Available
  • H-16
    Screw 5Pk – Part Number: STD523112
    Screw 5Pk
    Part Number: STD523112
      No Longer Available
  • H-17
    Scale Lt – Part Number: 982080-001
    Scale Lt
    Part Number: 982080-001
      No Longer Available
  • H-18
    Extension, Table – Part Number: 979875-001
    Extension, Table
    Part Number: 979875-001
      No Longer Available
  • H-19
    Set Screw – Part Number: 979874-001
    Set Screw
    Part Number: 979874-001
      No Longer Available
  • H-20
    Saw Table – Part Number: 980956-002
    Saw Table
    Part Number: 980956-002
      No Longer Available
  • H-21
    Screw – Part Number: 979872-001
    Screw
    Part Number: 979872-001
      No Longer Available
  • H-23
    Plate – Part Number: 979871-001
    Plate
    Part Number: 979871-001
      No Longer Available
  • H-24
    Set Screw – Part Number: 979873-001
    Set Screw
    Part Number: 979873-001
      No Longer Available
  • H-800
    Rip Guide – Part Number: 981284-001
    Rip Guide
    Part Number: 981284-001
      No Longer Available
  • H-800
    Rip Fence – Part Number: 981281-001
    Rip Fence
    Part Number: 981281-001
      No Longer Available
Miter Gage
Miter Gage Diagram and Parts List for  Craftsman Table Saw
  • A-1
    Knob – Part Number: 982072-001
    Knob
    Part Number: 982072-001
      No Longer Available
  • A-2
    Flat Washer, 8Pk – Part Number: STD551031
    Flat Washer, 8Pk
    Part Number: STD551031
      No Longer Available
  • A-4
    Screw 8Pk – Part Number: STD511003
    Screw 8Pk
    Part Number: STD511003
      No Longer Available
  • A-5
    Indicator – Part Number: 979978-001
    Indicator
    Part Number: 979978-001
      No Longer Available
  • A-6
    Block – Part Number: 979979-001
    Block
    Part Number: 979979-001
      No Longer Available
  • A-7
    Stop Pin – Part Number: 979980-001
    Stop Pin
    Part Number: 979980-001
      No Longer Available
  • A-8
    Screw – Part Number: 979984-001
    Screw
    Part Number: 979984-001
      No Longer Available
  • A-9
    Rod – Part Number: 979981-002
    Rod
    Part Number: 979981-002
      No Longer Available
  • A-10
    Screw 8Pk – Part Number: STD510807
    Screw 8Pk
    Part Number: STD510807
      No Longer Available
  • A-11
    Nut 8Pk – Part Number: STD541008
    Nut 8Pk
    Part Number: STD541008
      No Longer Available
  • A-12
    Washer – Part Number: 982087-001
    Washer
    Part Number: 982087-001
      No Longer Available
  • A-13
    Screw – Part Number: 982088-001
    Screw
    Part Number: 982088-001
      No Longer Available
  • A-800
    Plate-baffle – Part Number: 221001
    Plate-baffle
    Part Number: 221001
      Special Order
    $6.53
  • A-800
    Rip Fence – Part Number: 981281-001
    Rip Fence
    Part Number: 981281-001
      No Longer Available
  • A-800
    Rip Guide – Part Number: 981284-001
    Rip Guide
    Part Number: 981284-001
      No Longer Available
Motor
Motor Diagram and Parts List for  Craftsman Table Saw
  • 4
    Pulley – Part Number: 979900001
    Pulley
    Part Number: 979900001
      No Longer Available
  • F-1
    Nut 8Pk – Part Number: STD541010
    Nut 8Pk
    Part Number: STD541010
      No Longer Available
  • F-2
    Fan Washer – Part Number: STD551010
    Fan Washer
    Part Number: STD551010
      No Longer Available
  • F-3
    Beltguard – Part Number: 981382-001
    Beltguard
    Part Number: 981382-001
      No Longer Available
  • F-4
    Pulley – Part Number: 979900-001
    Pulley
    Part Number: 979900-001
      No Longer Available
  • F-5
    Screw 5pk – Part Number: STD502502
    Screw 5pk
    Part Number: STD502502
      No Longer Available
  • F-6
    Motor – Part Number: 979931-001
    Motor
    Part Number: 979931-001
      No Longer Available
  • F-7
    Power Cord – Part Number: 979988-001
    Power Cord
    Part Number: 979988-001
      No Longer Available
  • F-800
    Rip Guide – Part Number: 981284-001
    Rip Guide
    Part Number: 981284-001
      No Longer Available
  • F-800
    Rip Fence – Part Number: 981281-001
    Rip Fence
    Part Number: 981281-001
      No Longer Available
Rip Fence
Rip Fence Diagram and Parts List for  Craftsman Table Saw
  • C-1
    End Cap – Part Number: 979973-001
    End Cap
    Part Number: 979973-001
      No Longer Available
  • C-2
    Screw 8Pk – Part Number: STD510805
    Screw 8Pk
    Part Number: STD510805
      No Longer Available
  • C-3
    1/4-20 Hex Lock Nut – Part Number: STD541425
    1/4-20 Hex Lock Nut
    Part Number: STD541425
      No Longer Available
  • C-4
    Lock Plate – Part Number: 979970-001
    Lock Plate
    Part Number: 979970-001
      No Longer Available
  • C-5
    Spring – Part Number: 979969-001
    Spring
    Part Number: 979969-001
      No Longer Available
  • C-6
    Lock Rod – Part Number: 979968-001
    Lock Rod
    Part Number: 979968-001
      No Longer Available
  • C-7
    Slide – Part Number: 979972-001
    Slide
    Part Number: 979972-001
      No Longer Available
  • C-8
    Washer 8Pk – Part Number: STD551008
    Washer 8Pk
    Part Number: STD551008
      No Longer Available
  • C-9
    Indicator – Part Number: 979961-001
    Indicator
    Part Number: 979961-001
      No Longer Available
  • C-11
    Cover – Part Number: 979963-001
    Cover
    Part Number: 979963-001
      No Longer Available
  • C-12
    Screw – Part Number: 979881-001
    Screw
    Part Number: 979881-001
      No Longer Available
  • C-14
    Cam Sleeve – Part Number: 980964-001
    Cam Sleeve
    Part Number: 980964-001
      No Longer Available
  • C-15
    Pin – Part Number: 980595-001
    Pin
    Part Number: 980595-001
      No Longer Available
  • C-16
    Ret Ring – Part Number: 980596-001
    Ret Ring
    Part Number: 980596-001
      No Longer Available
  • C-17
    Handle – Part Number: 979965-002
    Handle
    Part Number: 979965-002
      No Longer Available
  • C-18
    Roll Pin – Part Number: 979966-001
    Roll Pin
    Part Number: 979966-001
      No Longer Available
  • C-19
    Screw – Part Number: 979967-001
    Screw
    Part Number: 979967-001
      No Longer Available
  • C-20
    Rear Glide – Part Number: 980966-001
    Rear Glide
    Part Number: 980966-001
      No Longer Available
  • C-21
    Machine Screw, 8-pack – Part Number: STD510803
    Machine Screw, 8-pack
    Part Number: STD510803
      No Longer Available
  • C-21A
    Pin – Part Number: 980595-001
    Pin
    Part Number: 980595-001
      No Longer Available
  • C-22
    Fr Glide – Part Number: 980965-001
    Fr Glide
    Part Number: 980965-001
      No Longer Available
  • C-23
    Housing – Part Number: 979960-001
    Housing
    Part Number: 979960-001
      No Longer Available
  • C-24
    Rip Fence – Part Number: 979959-001
    Rip Fence
    Part Number: 979959-001
      No Longer Available
  • C-25
    Warn Label – Part Number: 980322-001
    Warn Label
    Part Number: 980322-001
      No Longer Available
  • C-800
    Rip Fence – Part Number: 981281-001
    Rip Fence
    Part Number: 981281-001
      No Longer Available
  • C-800
    Rip Guide – Part Number: 981284-001
    Rip Guide
    Part Number: 981284-001
      No Longer Available
Stand
Stand Diagram and Parts List for  Craftsman Table Saw
  • G-1
    Leveling Foot – Part Number: 979999-001
    Leveling Foot
    Part Number: 979999-001
      No Longer Available
  • G-2
    Nut 8Pk – Part Number: STD541031
    Nut 8Pk
    Part Number: STD541031
      No Longer Available
  • G-3
    Flat Washer, 8Pk – Part Number: STD551031
    Flat Washer, 8Pk
    Part Number: STD551031
      No Longer Available
  • G-4
    Leg – Part Number: 979995-002
    Leg
    Part Number: 979995-002
      No Longer Available
  • G-5
    Carriage Bolt – Part Number: STD533107
    Carriage Bolt
    Part Number: STD533107
      No Longer Available
  • G-5A
    Carriage Bolt – Part Number: STD533107
    Carriage Bolt
    Part Number: STD533107
      No Longer Available
  • G-6
    End Brace – Part Number: 979993-002
    End Brace
    Part Number: 979993-002
      No Longer Available
  • G-7
    Side Brace – Part Number: 979997-002
    Side Brace
    Part Number: 979997-002
      No Longer Available
  • G-8
    Screw 5Pk – Part Number: STD523107
    Screw 5Pk
    Part Number: STD523107
      No Longer Available
  • G-8A
    Screw 5Pk – Part Number: STD523105
    Screw 5Pk
    Part Number: STD523105
      No Longer Available
  • G-9
    Brace – Part Number: 979996-002
    Brace
    Part Number: 979996-002
      No Longer Available
  • G-10
    Brace – Part Number: 979998-002
    Brace
    Part Number: 979998-002
      No Longer Available
  • G-800
    Rip Fence – Part Number: 981281-001
    Rip Fence
    Part Number: 981281-001
      No Longer Available
  • G-800
    Rip Guide – Part Number: 981284-001
    Rip Guide
    Part Number: 981284-001
      No Longer Available
Switch Housing
Switch Housing Diagram and Parts List for  Craftsman Table Saw
  • B-1
    Screw 8Pk – Part Number: STD510805
    Screw 8Pk
    Part Number: STD510805
      No Longer Available
  • B-2
    Screw 8Pk – Part Number: STD512503
    Screw 8Pk
    Part Number: STD512503
      No Longer Available
  • B-3
    Sw Plate – Part Number: 979985-001
    Sw Plate
    Part Number: 979985-001
      No Longer Available
  • B-4
    Square Nut – Part Number: 980594-001
    Square Nut
    Part Number: 980594-001
      No Longer Available
  • B-5
    Relief – Part Number: 979986-001
    Relief
    Part Number: 979986-001
      No Longer Available
  • B-6
    Power Cord – Part Number: 979991-001
    Power Cord
    Part Number: 979991-001
      No Longer Available
  • B-7
    Switch Only – Part Number: 089015001705
    Switch Only
    Part Number: 089015001705
      No Longer Available
  • B-9
    Sw Housing – Part Number: 979987-001
    Sw Housing
    Part Number: 979987-001
      No Longer Available
  • B-10
    Receptacle – Part Number: 980000-001
    Receptacle
    Part Number: 980000-001
      No Longer Available
  • B-11
    Screw 8Pk – Part Number: STD511003
    Screw 8Pk
    Part Number: STD511003
      No Longer Available
  • B-12
    Washer 8Pk – Part Number: STD551210
    Washer 8Pk
    Part Number: STD551210
      No Longer Available
  • B-13
    Label – Part Number: 980321-001
    Label
    Part Number: 980321-001
      No Longer Available
  • B-800
    Rip Fence – Part Number: 981281-001
    Rip Fence
    Part Number: 981281-001
      No Longer Available
  • B-800
    Rip Guide – Part Number: 981284-001
    Rip Guide
    Part Number: 981284-001
      No Longer Available