Craftsman Parts

Craftsman Table Saw Replacement Parts For Model 315218060

We Sell Only Genuine Craftsman Parts

Popular Parts for 315218060

Search Within Model

Questions & Answers for Craftsman 315218060
Browse all Parts Search by Area
Bevel Assy Diagram and Parts List for  Craftsman Table Saw
Bevel Assy
Blade Guard Assy Diagram and Parts List for  Craftsman Table Saw
Blade Guard Assy
Fence Assy Diagram and Parts List for  Craftsman Table Saw
Fence Assy
Miter Table Diagram and Parts List for  Craftsman Table Saw
Miter Table
Motor Assy Diagram and Parts List for  Craftsman Table Saw
Motor Assy
Rip Fence Assy Diagram and Parts List for  Craftsman Table Saw
Rip Fence Assy
Stand Assy Diagram and Parts List for  Craftsman Table Saw
Stand Assy
Table Saw Diagram and Parts List for  Craftsman Table Saw
Table Saw
Previous Showing All Parts Next
Bevel Assy
Bevel Assy Diagram and Parts List for  Craftsman Table Saw
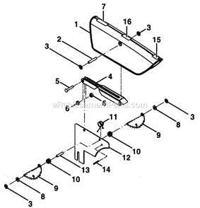
Blade Guard Assy
Blade Guard Assy Diagram and Parts List for  Craftsman Table Saw
  • G-1
    Bladeguard – Part Number: 0134010234
    Bladeguard
    Part Number: 0134010234
      No Longer Available
  • G-2
    Pin 5/16 X 1-3/4 – Part Number: 414050004
    Pin 5/16 X 1-3/4
    Part Number: 414050004
      In Stock
    $6.16
  • G-3
    Lock Nut 5/16 – Part Number: 411101702
    Lock Nut 5/16
    Part Number: 411101702
      In Stock
    $6.16
  • G-4
    Arm – Part Number: 0134010310
    Arm
    Part Number: 0134010310
      No Longer Available
  • G-5
    Rivet – Part Number: 0134010913
    Rivet
    Part Number: 0134010913
      No Longer Available
  • G-6
    Anti-Kick Back Fingers Shim – Part Number: 0134010207
    Anti-Kick Back Fingers Shim
    Part Number: 0134010207
      No Longer Available
  • G-7
    Warning – Part Number: 9182015330203
    Warning
    Part Number: 9182015330203
      No Longer Available
  • G-8
    Washer M8 X 18 X 1.5t – Part Number: 412011067
    Washer M8 X 18 X 1.5t
    Part Number: 412011067
      Special Order
    $6.16
  • G-9
    Anti-kb – Part Number: 0181010303
    Anti-kb
    Part Number: 0181010303
      No Longer Available
  • G-10
    Arm Shim – Part Number: 0134010208
    Arm Shim
    Part Number: 0134010208
      No Longer Available
  • G-11
    Spring – Part Number: 0121010914
    Spring
    Part Number: 0121010914
      In Stock
    Minimum Quantity of 2 required
    $6.16
  • G-12
    Spreader – Part Number: 0134010311
    Spreader
    Part Number: 0134010311
      No Longer Available
  • G-13
    Pin (5/16-inch X 34.5mm) – Part Number: 414051701
    Pin (5/16-inch X 34.5mm)
    Part Number: 414051701
      No Longer Available
  • G-14
    Pin D5x32 – Part Number: 414011035
    Pin D5x32
    Part Number: 414011035
      No Longer Available
  • G-15
    Hand Warning Label – Part Number: 9182015330202
    Hand Warning Label
    Part Number: 9182015330202
      No Longer Available
  • G-16
    Label – Part Number: 9182015334301
    Label
    Part Number: 9182015334301
      No Longer Available
Fence Assy
Fence Assy Diagram and Parts List for  Craftsman Table Saw
  • C-1
    End Cap – Part Number: 0134010227
    End Cap
    Part Number: 0134010227
      No Longer Available
  • C-2
    Miter Indicator – Part Number: 0181010208-58
    Miter Indicator
    Part Number: 0181010208-58
      No Longer Available
  • C-3
    Miter Fence – Part Number: 0134011801
    Miter Fence
    Part Number: 0134011801
      No Longer Available
  • C-4
    Bracket – Part Number: 0134010244
    Bracket
    Part Number: 0134010244
      No Longer Available
  • C-6
    Adjusting Knob – Part Number: 0181010209
    Adjusting Knob
    Part Number: 0181010209
      Special Order
    $2.99
  • C-8
    Fence Holder – Part Number: 0181010210
    Fence Holder
    Part Number: 0181010210
      No Longer Available
  • C-9
    Screw 5/16 In. - 18 X 3-1/4 I – Part Number: 410011717
    Screw 5/16 In. - 18 X 3-1/4 I
    Part Number: 410011717
      Special Order
    Minimum Quantity of 2 required
    $5.35
  • C-800
    Fence Assembly – Part Number: 089037012708
    Fence Assembly
    Part Number: 089037012708
      No Longer Available
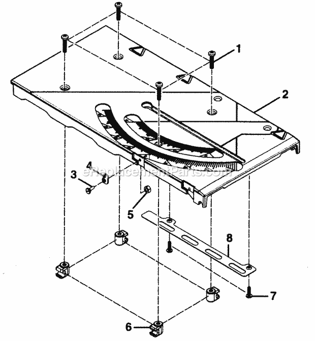
Miter Table
Miter Table Diagram and Parts List for  Craftsman Table Saw
  • B-1
    Screw,pan Hd (6 X 16 X 1.5t) – Part Number: 410561013
    Screw,pan Hd (6 X 16 X 1.5t)
    Part Number: 410561013
      No Longer Available
  • B-2
    Mitertable – Part Number: 0134010104-126
    Mitertable
    Part Number: 0134010104-126
      No Longer Available
  • B-3
    Locking Pin – Part Number: 0134010910
    Locking Pin
    Part Number: 0134010910
      Special Order
    $6.16
  • B-4
    Quick Stop – Part Number: 0181010501
    Quick Stop
    Part Number: 0181010501
      In Stock
    $4.28
  • B-5
    Locking Nut – Part Number: 0134010802
    Locking Nut
    Part Number: 0134010802
      No Longer Available
  • B-6
    Hook – Part Number: 0134010216
    Hook
    Part Number: 0134010216
      No Longer Available
  • B-7
    Tapping Screw M4x7 – Part Number: 410181001
    Tapping Screw M4x7
    Part Number: 410181001
      Special Order
    $6.16
  • B-8
    Supp Plate – Part Number: 0134010309
    Supp Plate
    Part Number: 0134010309
      Special Order
    $6.16
  • B-800
    Mitertable – Part Number: A134010802
    Mitertable
    Part Number: A134010802
      No Longer Available
Motor Assy
Motor Assy Diagram and Parts List for  Craftsman Table Saw
Rip Fence Assy
Rip Fence Assy Diagram and Parts List for  Craftsman Table Saw
  • D-1
    Nylon Nut (m6) – Part Number: 089110102027
    Nylon Nut (m6)
    Part Number: 089110102027
      Special Order
    $4.13
  • D-2
    Flat Washer D6.5 X 16 X 1.5t – Part Number: 412011030
    Flat Washer D6.5 X 16 X 1.5t
    Part Number: 412011030
      Special Order
    $6.16
  • D-3
    Rear Clamping Plate – Part Number: 0121010310
    Rear Clamping Plate
    Part Number: 0121010310
      No Longer Available
  • D-4
    Locking Lever – Part Number: 0134010231
    Locking Lever
    Part Number: 0134010231
      No Longer Available
  • D-5
    Compression Spring – Part Number: 0121010915
    Compression Spring
    Part Number: 0121010915
      No Longer Available
  • D-6
    Axle – Part Number: 0134010241
    Axle
    Part Number: 0134010241
      No Longer Available
  • D-7
    Rod – Part Number: 0134010904
    Rod
    Part Number: 0134010904
      No Longer Available
  • D-8
    Rip Fence – Part Number: 0134011805
    Rip Fence
    Part Number: 0134011805
      No Longer Available
  • D-9
    Hex Screw Truss Hd M6x15mm – Part Number: 410051001
    Hex Screw Truss Hd M6x15mm
    Part Number: 410051001
      Special Order
    $6.16
  • D-11
    Rear Fence Slider – Part Number: 0121010209
    Rear Fence Slider
    Part Number: 0121010209
      Special Order
    $6.16
  • D-12
    Screw M4 X 10mm – Part Number: 410331008
    Screw M4 X 10mm
    Part Number: 410331008
      Special Order
    Minimum Quantity of 2 required
    $6.16
  • D-13
    Indicator – Part Number: 0134010232
    Indicator
    Part Number: 0134010232
      No Longer Available
  • D-14
    Front Block – Part Number: 089110110030
    Front Block
    Part Number: 089110110030
      No Longer Available
  • D-15
    Slider – Part Number: 0134010218
    Slider
    Part Number: 0134010218
      No Longer Available
  • D-17
    Ring Pad – Part Number: 0121010210
    Ring Pad
    Part Number: 0121010210
      Special Order
    $6.16
  • D-18
    Washer D16 X 25 X 1.5t – Part Number: 412011115
    Washer D16 X 25 X 1.5t
    Part Number: 412011115
      Special Order
    $6.16
  • D-800
    Rip Fence – Part Number: A134010901
    Rip Fence
    Part Number: A134010901
      No Longer Available
Stand Assy
Stand Assy Diagram and Parts List for  Craftsman Table Saw
Table Saw
Table Saw Diagram and Parts List for  Craftsman Table Saw

Questions & Answers

?

Our customer Service team is at the ready daily to answer your part and product questions.

We're sorry, but our Q&A experts are temporarily unavailable.
Please check back later if you still haven't found the answer you need.

Ask our Team

We have a dedicated staff with decades of collective experience in helping customers just like you purchase parts to repair their products.