Dotco Parts

Dotco Saw Replacement Parts For Model 12S1274-03

We Sell Only Genuine Dotco Parts

Popular Parts for 12S1274-03

Search Within Model

Browse all Parts Search by Area
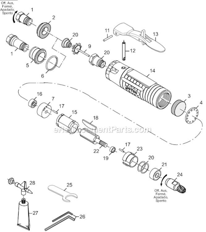
Page A Diagram and Parts List for  Dotco Saw
Page A
Page B Diagram and Parts List for  Dotco Saw
Page B
Page C Diagram and Parts List for  Dotco Saw
Page C
Previous Showing All Parts Next
Page A
Page A Diagram and Parts List for  Dotco Saw
  • A1
    Inlet Adapter (1/4 – Part Number: 01-2505
    Inlet Adapter (1/4
    Part Number: 01-2505
      Special Order
    $60.66
  • A2
    Exhaust Plug – Part Number: 01-2506
    Exhaust Plug
    Part Number: 01-2506
      Special Order
    $54.65
  • A3
    O-ring – Part Number: 2965
    O-ring
    Part Number: 2965
      In Stock
    Minimum Quantity of 2 required
    $6.16
  • A4
    O-Ring – Part Number: 3036PT
    O-Ring
    Part Number: 3036PT
      No Longer Available
  • A5
    Filter Disc – Part Number: 01-1046
    Filter Disc
    Part Number: 01-1046
      In Stock
    $10.13
  • A6
    Filter Retainer – Part Number: 01-1016
    Filter Retainer
    Part Number: 01-1016
      Special Order
    $13.01
  • A7
    Bearing Plate – Part Number: 1003
    Bearing Plate
    Part Number: 1003
      Special Order
    $90.82
  • A8
    Valve Spring – Part Number: 01-2519
    Valve Spring
    Part Number: 01-2519
      In Stock
    $16.06
  • A9
    Valve – Part Number: 01-2518
    Valve
    Part Number: 01-2518
      In Stock
    $30.83
  • A10
    Valve Seat – Part Number: 01-2504
    Valve Seat
    Part Number: 01-2504
      Special Order
    $78.06
  • A11
    Pin – Part Number: 1042
    Pin
    Part Number: 1042
      No Longer Available
  • A12
    Push Rod – Part Number: 01-1017
    Push Rod
    Part Number: 01-1017
      Special Order
    $38.75
  • A13
    Lever – Part Number: 01-1267
    Lever
    Part Number: 01-1267
      In Stock
    $52.03
  • A14
    Motor Housing – Part Number: 01-1001
    Motor Housing
    Part Number: 01-1001
      Special Order
    $295.63
  • A15
    Cylinder – Part Number: 1002
    Cylinder
    Part Number: 1002
      Special Order
    $283.04
  • A16
    Bearing – Part Number: 504PT
    Bearing
    Part Number: 504PT
      No Longer Available
  • A17
    Pin – Part Number: 1041
    Pin
    Part Number: 1041
      Special Order
    $6.16
  • A18
    Grinder Grinder/Sander Rotor Blade – Part Number: 1906PT
    Grinder Grinder/Sander Rotor Blade
    Part Number: 1906PT
      In Stock
    $15.64
  • A19
    Spacer – Part Number: 1017PT
    Spacer
    Part Number: 1017PT
      No Longer Available
  • A20
    Shim Packet – Part Number: 1355PT
    Shim Packet
    Part Number: 1355PT
      No Longer Available
  • A21
    Ball Bearing – Part Number: 538
    $58.64
  • A22
    Rotor – Part Number: 1005
    Rotor
    Part Number: 1005
      Special Order
    $268.90
  • A23
    Bearing Plate – Part Number: 1064
    Bearing Plate
    Part Number: 1064
      Special Order
    $134.93
  • A25
    Wrench (7/16") – Part Number: 14-0807
    Wrench (7/16")
    Part Number: 14-0807
      No Longer Available
  • A26
    Hex Wrench-3/16 in. – Part Number: 14-0186
    Hex Wrench-3/16 in.
    Part Number: 14-0186
      No Longer Available
  • A26
    Hex Key – Part Number: 14-0184
    Hex Key
    Part Number: 14-0184
      No Longer Available
  • A27
    Gear Lube – Part Number: 45-0980
    Gear Lube
    Part Number: 45-0980
      In Stock
    $22.85
  • A28
    Lube Gun – Part Number: 45-1982
    Lube Gun
    Part Number: 45-1982
      In Stock
    $45.36
  • A800
    Air Inlet Kit – Part Number: 04-0155
    Air Inlet Kit
    Part Number: 04-0155
      No Longer Available
  • A801
    Throttle Kit – Part Number: 04-0085
    Throttle Kit
    Part Number: 04-0085
      No Longer Available
  • A802
    Motor Kit – Part Number: 04-0042
    Motor Kit
    Part Number: 04-0042
      Special Order
    $188.46
  • A803
    Gear Lube Kit – Part Number: 04-0080
    Gear Lube Kit
    Part Number: 04-0080
      No Longer Available
  • A804
    Rotor Blade Kit (50 Blades) – Part Number: 04-0031
    Rotor Blade Kit (50 Blades)
    Part Number: 04-0031
      Special Order
    $544.09
Page B
Page B Diagram and Parts List for  Dotco Saw
Page C
Page C Diagram and Parts List for  Dotco Saw