Delta Parts

Delta Disc Sander Sander Grinder Replacement Parts For Model 31-460TY2SN9341 (UP)

We Sell Only Genuine Delta Parts

Popular Parts for 31-460TY2SN9341

Search Within Model

Browse all Parts Search by Area
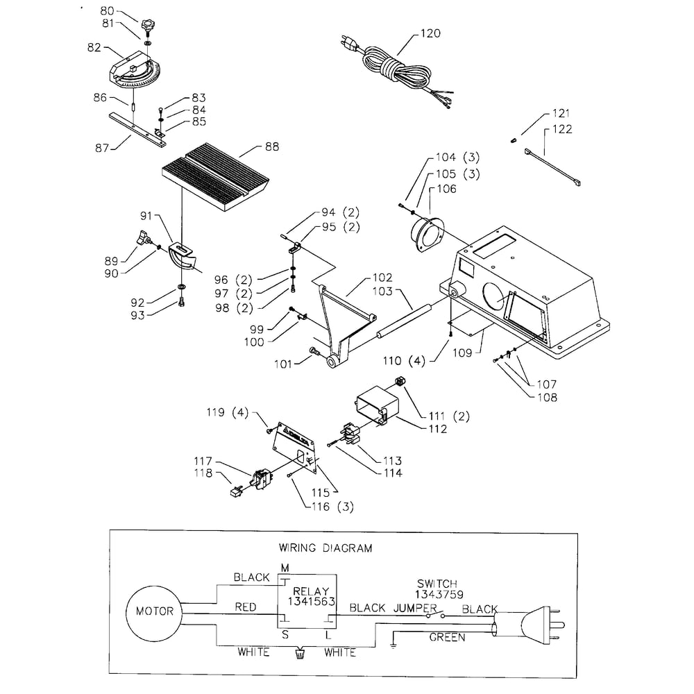
Base Assy/Wiring Diagram Diagram and Parts List for UP Delta Sander Grinder
Base Assy/Wiring Diagram
Sander Diagram and Parts List for UP Delta Sander Grinder
Sander
Previous Showing All Parts Next
Base Assy/Wiring Diagram
Base Assy/Wiring Diagram Diagram and Parts List for UP Delta Sander Grinder
  • 80
    Knob – Part Number: 1341577
    Knob
    Part Number: 1341577
      No Longer Available
  • 81
    Washer – Part Number: 904-01-010-1604
    Washer
    Part Number: 904-01-010-1604
      No Longer Available
  • 82
    Body – Part Number: 1341576
    Body
    Part Number: 1341576
      No Longer Available
  • 82A
    Miter Gauge Assembly – Part Number: 1341584
    Miter Gauge Assembly
    Part Number: 1341584
      No Longer Available
  • 83
    Mach Screw – Part Number: 1246088
    Mach Screw
    Part Number: 1246088
      Special Order
    $6.16
  • 84
    Steel Washer – Part Number: 904010101603
    Steel Washer
    Part Number: 904010101603
      No Longer Available
  • 85
    Pointer – Part Number: 1341574
    Pointer
    Part Number: 1341574
      No Longer Available
  • 87
    Bar – Part Number: 1341573
    Bar
    Part Number: 1341573
      No Longer Available
  • 88
    Table – Part Number: 1341551
    Table
    Part Number: 1341551
      No Longer Available
  • 88A
    Table Assy – Part Number: 1349995
    Table Assy
    Part Number: 1349995
      No Longer Available
  • 89
    Knob – Part Number: 1341555
    Knob
    Part Number: 1341555
      No Longer Available
  • 91
    Bracket – Part Number: 1341556
    Bracket
    Part Number: 1341556
      No Longer Available
  • 92
    5/16-Inch Flat Washer – Part Number: 904-01-010-1605
    5/16-Inch Flat Washer
    Part Number: 904-01-010-1605
      No Longer Available
  • 93
    Cap Screw – Part Number: 901010600606
    Cap Screw
    Part Number: 901010600606
      Special Order
    $6.16
  • 94
    Pin – Part Number: 1341550
    Pin
    Part Number: 1341550
      No Longer Available
  • 95
    Support – Part Number: 1341552
    Support
    Part Number: 1341552
      No Longer Available
  • 97
    Shakeproof Lockwasher – Part Number: 904-03-030-1795
    Shakeproof Lockwasher
    Part Number: 904-03-030-1795
      No Longer Available
  • 98
    Cap Screw – Part Number: 901030100224
    Cap Screw
    Part Number: 901030100224
    ★★★★★
    ★★★★★
    (1)
      In Stock
    Minimum Quantity of 2 required
    $6.16
  • 99
    Machine Screw – Part Number: 901020100551
    Machine Screw
    Part Number: 901020100551
      No Longer Available
  • 100
    Pointer – Part Number: 1341554
    Pointer
    Part Number: 1341554
      No Longer Available
  • 101
    Cap Screw – Part Number: 1246054
    Cap Screw
    Part Number: 1246054
      No Longer Available
  • 102
    Bracket – Part Number: 1347214
    Bracket
    Part Number: 1347214
      No Longer Available
  • 103
    Support Rod – Part Number: 1341549
    Support Rod
    Part Number: 1341549
      No Longer Available
  • 104
    Screw – Part Number: 1343053
    Screw
    Part Number: 1343053
      Special Order
    $6.16
  • 105
    Flat Washer – Part Number: 1246102
    Flat Washer
    Part Number: 1246102
      No Longer Available
  • 106
    Attachment – Part Number: 1347215
    Attachment
    Part Number: 1347215
      No Longer Available
  • 106A
    Dust Spout – Part Number: 902866
    Dust Spout
    Part Number: 902866
      No Longer Available
  • 108
    Screw – Part Number: 1341235
    Screw
    Part Number: 1341235
      Special Order
    $6.16
  • 109
    Cover – Part Number: 1347216
    Cover
    Part Number: 1347216
      No Longer Available
  • 110
    Mach Screw – Part Number: 1246047
    Mach Screw
    Part Number: 1246047
      No Longer Available
  • 111
    Relief – Part Number: 1341570
    Relief
    Part Number: 1341570
      No Longer Available
  • 112
    Switch Box – Part Number: 1341568
    Switch Box
    Part Number: 1341568
      No Longer Available
  • 113
    Relay – Part Number: 1341563
    Relay
    Part Number: 1341563
      No Longer Available
  • 114
    Screw – Part Number: 1341582
    Screw
    Part Number: 1341582
      No Longer Available
  • 116
    Screw – Part Number: 1310547
    Screw
    Part Number: 1310547
      No Longer Available
  • 117
    Table saw on/off switch – Part Number: 1343759
    Table saw on/off switch
    Part Number: 1343759
      No Longer Available
  • 118
    Key – Part Number: 1343758
    Key
    Part Number: 1343758
      No Longer Available
  • 118A
    Switch key – Part Number: 400-06-068-0002
    Switch key
    Part Number: 400-06-068-0002
      No Longer Available
  • 119
    M5 X 10mm Cheese Hd Screw – Part Number: 1243394
    M5 X 10mm Cheese Hd Screw
    Part Number: 1243394
      No Longer Available
  • 120
    Cord – Part Number: 1341566
    Cord
    Part Number: 1341566
      No Longer Available
  • 121
    Wire Nut – Part Number: 1341198
    Wire Nut
    Part Number: 1341198
      No Longer Available
  • 122
    Jumper Wire – Part Number: 1347218
    Jumper Wire
    Part Number: 1347218
      No Longer Available
Sander
Sander Diagram and Parts List for UP Delta Sander Grinder
  • 1
    Screw – Part Number: 1310547
    Screw
    Part Number: 1310547
      No Longer Available
  • 4
    Disc – Part Number: 1341557
    Disc
    Part Number: 1341557
      No Longer Available
  • 5
    Screw 5pk – Part Number: 901-04-150-0208
    Screw 5pk
    Part Number: 901-04-150-0208
      No Longer Available
  • 6
    Mach.Screw – Part Number: 1246090
    Mach.Screw
    Part Number: 1246090
      No Longer Available
  • 7
    Guard – Part Number: 1347202
    Guard
    Part Number: 1347202
      No Longer Available
  • 7A
    Rotational Label – Part Number: 902743
    Rotational Label
    Part Number: 902743
      No Longer Available
  • 8
    Belt – Part Number: 1347220
    Belt
    Part Number: 1347220
      No Longer Available
  • 9
    Pulley – Part Number: 1341560
    Pulley
    Part Number: 1341560
      No Longer Available
  • 10
    Trunnion – Part Number: 902857
    Trunnion
    Part Number: 902857
      No Longer Available
  • 11
    Screw – Part Number: 1243554
    Screw
    Part Number: 1243554
      No Longer Available
  • 12
    Screw – Part Number: 1343053
    Screw
    Part Number: 1343053
      Special Order
    $6.16
  • 13
    10-24 X 3/4-Inch Rd Hd Screw – Part Number: 901-02-010-0541
    10-24 X 3/4-Inch Rd Hd Screw
    Part Number: 901-02-010-0541
      No Longer Available
  • 14
    Retainer – Part Number: 1347204
    Retainer
    Part Number: 1347204
      No Longer Available
  • 16 // 27
    Owner
    Owner's manual
    Part Number: 694147
      No Longer Available
  • 17 // 28 // 31 // 38
    Ring – Part Number: 1243497
    Ring
    Part Number: 1243497
      No Longer Available
  • 19
    Drum – Part Number: 1341528
    Drum
    Part Number: 1341528
      No Longer Available
  • 21
    Lock Washer – Part Number: 1343538
    Lock Washer
    Part Number: 1343538
      No Longer Available
  • 22
    Flat Washer – Part Number: 1246102
    Flat Washer
    Part Number: 1246102
      No Longer Available
  • 23
    Dust chute – Part Number: 1347206
    Dust chute
    Part Number: 1347206
      No Longer Available
  • 25
    Screw – Part Number: 901021403712
    Screw
    Part Number: 901021403712
      In Stock
    Minimum Quantity of 2 required
    $6.16
  • 26
    Cover Bearing – Part Number: 1341531
    Cover Bearing
    Part Number: 1341531
      No Longer Available
  • 29
    Drive Shaft – Part Number: 1347207
    Drive Shaft
    Part Number: 1347207
      No Longer Available
  • 30
    Washer – Part Number: 1341533
    Washer
    Part Number: 1341533
      No Longer Available
  • 33
    Shaft – Part Number: 1341535
    Shaft
    Part Number: 1341535
      No Longer Available
  • 34
    Bracket – Part Number: 1341538
    Bracket
    Part Number: 1341538
      No Longer Available
  • 35
    Drum – Part Number: 1341536
    Drum
    Part Number: 1341536
      No Longer Available
  • 37
    Washer – Part Number: 1341580
    Washer
    Part Number: 1341580
      No Longer Available
  • 40
    Spring – Part Number: 1341537
    Spring
    Part Number: 1341537
      No Longer Available
  • 41
    Washer – Part Number: 1341526
    Washer
    Part Number: 1341526
      No Longer Available
  • 42
    Washer – Part Number: 1341539
    Washer
    Part Number: 1341539
      No Longer Available
  • 43
    Knob – Part Number: 1341540
    Knob
    Part Number: 1341540
      No Longer Available
  • 44
    Spring – Part Number: 1341532
    Spring
    Part Number: 1341532
      No Longer Available
  • 45
    Frame – Part Number: 1347208
    Frame
    Part Number: 1347208
      No Longer Available
  • 46
    Nut – Part Number: 1341546
    Nut
    Part Number: 1341546
      No Longer Available
  • 47
    Screw – Part Number: 1341545
    Screw
    Part Number: 1341545
      No Longer Available
  • 48
    Nut Hex M8 – Part Number: 1243398
    Nut Hex M8
    Part Number: 1243398
      No Longer Available
  • 49
    Screw – Part Number: 1347219
    Screw
    Part Number: 1347219
      No Longer Available
  • 50
    Cap Screw – Part Number: 1246054
    Cap Screw
    Part Number: 1246054
      No Longer Available
  • 51
    Bumper – Part Number: 1347209
    Bumper
    Part Number: 1347209
      No Longer Available
  • 52
    Base – Part Number: 902858
    Base
    Part Number: 902858
      No Longer Available
  • 52A
    Warning Label – Part Number: 902719
    Warning Label
    Part Number: 902719
      No Longer Available
  • 53
    Grommet – Part Number: 1341544
    Grommet
    Part Number: 1341544
      Special Order
    $6.16
  • 55
    Washer – Part Number: 1243526
    Washer
    Part Number: 1243526
      No Longer Available
  • 56
    Washer Lock M8 – Part Number: 1246157
    Washer Lock M8
    Part Number: 1246157
      Special Order
    $6.16
  • 57
    Cap screw – Part Number: 1246016
    Cap screw
    Part Number: 1246016
      No Longer Available
  • 58
    Motor Pulley – Part Number: 1349900
    Motor Pulley
    Part Number: 1349900
      No Longer Available
  • 59
    Ring – Part Number: 1341547
    Ring
    Part Number: 1341547
      No Longer Available
  • 60
    Motor 1ph .33hp – Part Number: 1349901
    Motor 1ph .33hp
    Part Number: 1349901
      No Longer Available
  • 60A
    Motor – Part Number: 1341565
    Motor
    Part Number: 1341565
      No Longer Available
  • 61
    Support Rod – Part Number: 1347212
    Support Rod
    Part Number: 1347212
      No Longer Available
  • 62
    Cap Screw – Part Number: 901010600611
    Cap Screw
    Part Number: 901010600611
      No Longer Available
  • 63
    Washer – Part Number: 904-01-010-1604
    Washer
    Part Number: 904-01-010-1604
      No Longer Available
  • 64
    Hardware Pack – Part Number: 902856
    Hardware Pack
    Part Number: 902856
      No Longer Available
  • 66
    Lo0sen / Tighten Lab – Part Number: 902723
    Lo0sen / Tighten Lab
    Part Number: 902723
      No Longer Available
  • 67
    Nut – Part Number: 1341583
    Nut
    Part Number: 1341583
      No Longer Available
  • 68
    Lever – Part Number: 1341541
    Lever
    Part Number: 1341541
      No Longer Available
  • 69
    Sleeve – Part Number: 1341542
    Sleeve
    Part Number: 1341542
      No Longer Available
  • 71
    Cap Screw – Part Number: 901010600623
    Cap Screw
    Part Number: 901010600623
      No Longer Available
  • 72
    6mm Hex Wrench – Part Number: 428071010002
    6mm Hex Wrench
    Part Number: 428071010002
      No Longer Available
  • 73
    Hardware Pack – Part Number: 902354
    Hardware Pack
    Part Number: 902354
      No Longer Available
  • 73A
    Wrench – Part Number: 1341571
    Wrench
    Part Number: 1341571
      No Longer Available