Inglis Parts

Inglis Top freezer, Top-mount Refrigerator Replacement Parts For Model IRT184300

We Sell Only Genuine Inglis Parts

Find Inglis IRT184300 Parts By Symptom

Light not working

29%

Fridge too warm

16%

Will Not Start

10%

Leaking

8%

Door won’t open or close

7%

Fridge and Freezer are too warm

7%

Freezer section too warm

7%

Ice maker not making ice

5%

Noisy

4%

Clicking sound

3%

Freezer not defrosting

2%

Too warm

2%

Ice maker won’t dispense ice

1%

Not dispensing water

1%

Fridge runs too long

0%

Fridge too cold

0%

Won’t start

0%

Popular Parts for IRT184300

Search Within Model

Browse all Parts Search by Area
CABINET PARTS Diagram and Parts List for  Inglis Refrigerator
CABINET PARTS
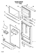
DOOR PARTS Diagram and Parts List for  Inglis Refrigerator
DOOR PARTS
LINER PARTS Diagram and Parts List for  Inglis Refrigerator
LINER PARTS
SHELF PARTS, OPTIONAL PARTS Diagram and Parts List for  Inglis Refrigerator
SHELF PARTS, OPTIONAL PARTS
UNIT PARTS Diagram and Parts List for  Inglis Refrigerator
UNIT PARTS
Previous Showing All Parts Next
CABINET PARTS
CABINET PARTS Diagram and Parts List for  Inglis Refrigerator
DOOR PARTS
DOOR PARTS Diagram and Parts List for  Inglis Refrigerator
LINER PARTS
LINER PARTS Diagram and Parts List for  Inglis Refrigerator
SHELF PARTS, OPTIONAL PARTS
SHELF PARTS, OPTIONAL PARTS Diagram and Parts List for  Inglis Refrigerator
UNIT PARTS
UNIT PARTS Diagram and Parts List for  Inglis Refrigerator