Ridgid Parts

Ridgid 12" Miter Saw Replacement Parts For Model MS12502

We Sell Only Genuine Ridgid Parts

Popular Parts for MS12502

Search Within Model

Browse all Parts Search by Area
Miscellaneous Parts Diagram and Parts List for  Ridgid Miter Saw
Miscellaneous Parts
Page A Diagram and Parts List for  Ridgid Miter Saw
Page A
Page B Diagram and Parts List for  Ridgid Miter Saw
Page B
Page C Diagram and Parts List for  Ridgid Miter Saw
Page C
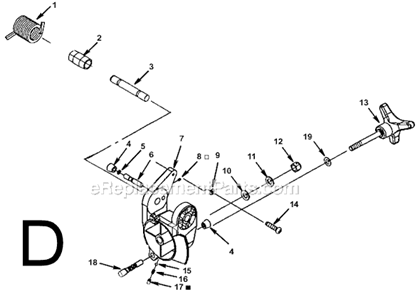
Page D Diagram and Parts List for  Ridgid Miter Saw
Page D
Page E Diagram and Parts List for  Ridgid Miter Saw
Page E
Previous Showing All Parts Next
Miscellaneous Parts
Miscellaneous Parts Diagram and Parts List for  Ridgid Miter Saw
Page A
Page A Diagram and Parts List for  Ridgid Miter Saw
Page B
Page B Diagram and Parts List for  Ridgid Miter Saw
Page C
Page C Diagram and Parts List for  Ridgid Miter Saw
Page D
Page D Diagram and Parts List for  Ridgid Miter Saw
Page E
Page E Diagram and Parts List for  Ridgid Miter Saw