Craftsman Parts

Craftsman 10" Compound Miter Saw Replacement Parts For Model 113234613

We Sell Only Genuine Craftsman Parts

Popular Parts for 113234613

Search Within Model

Browse all Parts Search by Area
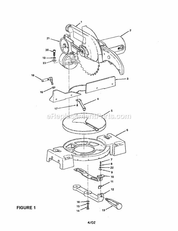
10" Compound Miter Saw Diagram and Parts List for  Craftsman Miter Saw
10" Compound Miter Saw
Arm And Motor Assembly Diagram and Parts List for  Craftsman Miter Saw
Arm And Motor Assembly
Guard/Blade/Dust Bag Diagram and Parts List for  Craftsman Miter Saw
Guard/Blade/Dust Bag
Pivot Assembly Diagram and Parts List for  Craftsman Miter Saw
Pivot Assembly
Previous Showing All Parts Next
10" Compound Miter Saw
10" Compound Miter Saw Diagram and Parts List for  Craftsman Miter Saw
  • A-3
    Seal-oil – Part Number: 821326
    Seal-oil
    Part Number: 821326
      Special Order
    $96.00
  • A-4
    Seal-oil – Part Number: 821326
    Seal-oil
    Part Number: 821326
      Special Order
    $96.00
  • A-6
    Base – Part Number: 822231
    Base
    Part Number: 822231
      No Longer Available
  • A-7
    Pan Head Screw – Part Number: STD510802
    Pan Head Screw
    Part Number: STD510802
      No Longer Available
  • A-8
    Washer 8Pk – Part Number: STD551108
    Washer 8Pk
    Part Number: STD551108
      No Longer Available
  • A-9
    Indicator – Part Number: 816716
    Indicator
    Part Number: 816716
      No Longer Available
  • A-11
    Plate Clamp – Part Number: 816690
    Plate Clamp
    Part Number: 816690
      No Longer Available
  • A-12
    Arm Miter – Part Number: 816685
    Arm Miter
    Part Number: 816685
      No Longer Available
  • A-13
    Handle Miter – Part Number: 816669
    Handle Miter
    Part Number: 816669
      No Longer Available
  • A-15
    Lock Washer – Part Number: STD551131
    Lock Washer
    Part Number: STD551131
      No Longer Available
  • A-16
    Flat Washer, 8Pk – Part Number: STD551031
    Flat Washer, 8Pk
    Part Number: STD551031
      No Longer Available
  • A-17
    Screw – Part Number: 809727-4
    Screw
    Part Number: 809727-4
      No Longer Available
  • A-18
    Clamp Bolt – Part Number: 816863-1
    Clamp Bolt
    Part Number: 816863-1
      No Longer Available
  • A-19
    Washer, Lock 3/8 – Part Number: STD551137
    Washer, Lock 3/8
    Part Number: STD551137
      No Longer Available
  • A-20
    Screw – Part Number: 141594-44
    Screw
    Part Number: 141594-44
      No Longer Available
  • A-22
    Washer – Part Number: STD851004
    Washer
    Part Number: STD851004
      No Longer Available
  • A-23
    Flat Washer – Part Number: STD851010
    Flat Washer
    Part Number: STD851010
      No Longer Available
Arm And Motor Assembly
Arm And Motor Assembly Diagram and Parts List for  Craftsman Miter Saw
  • B-1
    Guard Cord – Part Number: 821122
    Guard Cord
    Part Number: 821122
      No Longer Available
  • B-3
    Ic Brush – Part Number: 816768
    Ic Brush
    Part Number: 816768
      No Longer Available
  • B-5
    Prtctr Wre – Part Number: 816740
    Prtctr Wre
    Part Number: 816740
      No Longer Available
  • B-6
    Lock Switch – Part Number: 816697
    Lock Switch
    Part Number: 816697
      No Longer Available
  • B-7
    Lock – Part Number: 816696
    Lock
    Part Number: 816696
      No Longer Available
  • B-8
    Handle L & R – Part Number: 825753
    Handle L & R
    Part Number: 825753
      No Longer Available
  • B-10
    Switch – Part Number: 816700
    Switch
    Part Number: 816700
      No Longer Available
  • B-11
    Scrw Pan Hd – Part Number: 817143
    Scrw Pan Hd
    Part Number: 817143
      No Longer Available
  • B-12
    Handle L & R – Part Number: 825753
    Handle L & R
    Part Number: 825753
      No Longer Available
  • B-13
    Hex Nut – Part Number: STD840407
    Hex Nut
    Part Number: STD840407
      No Longer Available
  • B-14
    Screw Pan – Part Number: 816755
    Screw Pan
    Part Number: 816755
      No Longer Available
  • B-16
    Screw Pan – Part Number: 816743
    Screw Pan
    Part Number: 816743
      No Longer Available
  • B-19
    Screw-set Slotted M10 X 1.5 – Part Number: 816698
    Screw-set Slotted M10 X 1.5
    Part Number: 816698
      No Longer Available
  • B-20
    Hex Nut – Part Number: STD841015
    Hex Nut
    Part Number: STD841015
      No Longer Available
  • B-21
    Mortor Arm A – Part Number: 816689-1
    Mortor Arm A
    Part Number: 816689-1
      No Longer Available
  • B-23
    Nut Lock – Part Number: 816723
    Nut Lock
    Part Number: 816723
      No Longer Available
  • B-24
    Washer 8Pk – Part Number: STD551110
    Washer 8Pk
    Part Number: STD551110
      No Longer Available
  • B-25
    Washer – Part Number: 818043
    Washer
    Part Number: 818043
      No Longer Available
Guard/Blade/Dust Bag
Guard/Blade/Dust Bag Diagram and Parts List for  Craftsman Miter Saw
  • D-1
    Guard Asm. – Part Number: 507758
    Guard Asm.
    Part Number: 507758
      No Longer Available
  • D-2
    Plate Ret. – Part Number: 816706
    Plate Ret.
    Part Number: 816706
      No Longer Available
  • D-3
    Screw 8Pk – Part Number: STD511103
    Screw 8Pk
    Part Number: STD511103
      No Longer Available
  • D-4
    Spring – Part Number: 816708
    Spring
    Part Number: 816708
      No Longer Available
  • D-6
    Nut – Part Number: 821987
    Nut
    Part Number: 821987
      No Longer Available
  • D-7
    Lock Washer – Part Number: STD852005
    Lock Washer
    Part Number: STD852005
      No Longer Available
  • D-8
    Ic Screw Pan Hd M5x0.8-16 – Part Number: 816755-6
    Ic Screw Pan Hd M5x0.8-16
    Part Number: 816755-6
      No Longer Available
  • D-9
    Blade Flange – Part Number: 507759
    Blade Flange
    Part Number: 507759
      No Longer Available
  • D-10
    10-In. Chisel Tooth – Part Number: 816951
    10-In. Chisel Tooth
    Part Number: 816951
      No Longer Available
  • D-11
    Screw Hex. – Part Number: 816703
    Screw Hex.
    Part Number: 816703
      No Longer Available
  • D-13
    Guard Lower – Part Number: 816711
    Guard Lower
    Part Number: 816711
      No Longer Available
  • D-14
    Fan Washer – Part Number: STD551010
    Fan Washer
    Part Number: STD551010
      No Longer Available
  • D-15
    Screw 8Pk – Part Number: STD601103
    Screw 8Pk
    Part Number: STD601103
      No Longer Available
  • D-16
    Lvr Acttr – Part Number: 507757
    Lvr Acttr
    Part Number: 507757
      No Longer Available
  • D-18
    Dust Bag – Part Number: 816811
    Dust Bag
    Part Number: 816811
      No Longer Available
  • D-19
    Ic Sleeve Asm – Part Number: 824254
    Ic Sleeve Asm
    Part Number: 824254
      No Longer Available
  • D-20
    Ic Sleeve Asm – Part Number: 824254
    Ic Sleeve Asm
    Part Number: 824254
      No Longer Available
  • D-21
    Clamp Bag – Part Number: 816812
    Clamp Bag
    Part Number: 816812
      No Longer Available
Pivot Assembly
Pivot Assembly Diagram and Parts List for  Craftsman Miter Saw
  • C-3
    Spring – Part Number: 816671
    Spring
    Part Number: 816671
      No Longer Available
  • C-4
    Screw 8Pk – Part Number: STD510602
    Screw 8Pk
    Part Number: STD510602
      No Longer Available
  • C-5
    Indicator-bevel – Part Number: 816686
    Indicator-bevel
    Part Number: 816686
      No Longer Available
  • C-6
    Pivot – Part Number: 507815
    Pivot
    Part Number: 507815
      No Longer Available
  • C-7
    Bolt Bevel – Part Number: 816722
    Bolt Bevel
    Part Number: 816722
      No Longer Available
  • C-8
    Washer, Lock 3/8 – Part Number: STD551137
    Washer, Lock 3/8
    Part Number: STD551137
      No Longer Available
  • C-9
    Screw – Part Number: 141594-44
    Screw
    Part Number: 141594-44
      No Longer Available
  • C-11
    Bolt Pivot – Part Number: 816721
    Bolt Pivot
    Part Number: 816721
      No Longer Available
  • C-13
    Nut Lock – Part Number: 816723
    Nut Lock
    Part Number: 816723
      No Longer Available
  • C-14
    Boat Clamps – Part Number: 816863-2
    Boat Clamps
    Part Number: 816863-2
      No Longer Available
  • C-16
    Pivot – Part Number: 821919
    Pivot
    Part Number: 821919
      No Longer Available
  • C-17
    Flat Washer – Part Number: STD851010
    Flat Washer
    Part Number: STD851010
      No Longer Available