Snapper Parts

Snapper 28" 8 Hp Rear Engine Rider Series 8 Lawn Tractor Replacement Parts For Model 28088B

We Sell Only Genuine Snapper Parts

Popular Parts for 28088B

Search Within Model

Questions & Answers for Snapper 28088B
Browse all Parts Search by Area
41 Cutting Deck Diagram and Parts List for  Snapper Lawn Tractor
41 Cutting Deck
Belts Brakes Interlock Diagram and Parts List for  Snapper Lawn Tractor
Belts Brakes Interlock
Blade Stop Pedals Diagram and Parts List for  Snapper Lawn Tractor
Blade Stop Pedals
Blade Stop Pedals 25 26 28 Decks Diagram and Parts List for  Snapper Lawn Tractor
Blade Stop Pedals 25 26 28 Decks
Blade Stop Pedals 30  33 Decks Diagram and Parts List for  Snapper Lawn Tractor
Blade Stop Pedals 30 33 Decks
Chain Case LH Fender Diagram and Parts List for  Snapper Lawn Tractor
Chain Case LH Fender
Cutting Decks Deflectors Diagram and Parts List for  Snapper Lawn Tractor
Cutting Decks Deflectors
Decals Diagram and Parts List for  Snapper Lawn Tractor
Decals
Deck Cover Blade Brake - 41 - Series 8 Diagram and Parts List for  Snapper Lawn Tractor
Deck Cover Blade Brake - 41 - Series 8
Differential RH Fender Diagram and Parts List for  Snapper Lawn Tractor
Differential RH Fender
Drive Disc Assembly Diagram and Parts List for  Snapper Lawn Tractor
Drive Disc Assembly
Electrical Systems Diagram and Parts List for  Snapper Lawn Tractor
Electrical Systems
Exhaust - 65 8 12  14 Hp Engines Diagram and Parts List for  Snapper Lawn Tractor
Exhaust - 65 8 12 14 Hp Engines
Front End Steering Diagram and Parts List for  Snapper Lawn Tractor
Front End Steering
Front End Steering 25 26  28 Models Diagram and Parts List for  Snapper Lawn Tractor
Front End Steering 25 26 28 Models
Fuel Tank  Operators Seat Diagram and Parts List for  Snapper Lawn Tractor
Fuel Tank Operators Seat
Main Case Diagram and Parts List for  Snapper Lawn Tractor
Main Case
Rails Lift Arms Cam Lift Diagram and Parts List for  Snapper Lawn Tractor
Rails Lift Arms Cam Lift
Rails Lift Arms Cam Lift - 41 - Series 8 Diagram and Parts List for  Snapper Lawn Tractor
Rails Lift Arms Cam Lift - 41 - Series 8
Smooth Clutch Assembly - Series 8 Diagram and Parts List for  Snapper Lawn Tractor
Smooth Clutch Assembly - Series 8
Smooth Clutch Assembly - Series 9 Diagram and Parts List for  Snapper Lawn Tractor
Smooth Clutch Assembly - Series 9
Spindle Diagram and Parts List for  Snapper Lawn Tractor
Spindle
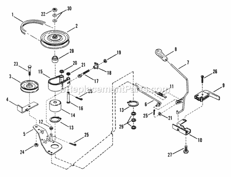
Throttle Control Diagram and Parts List for  Snapper Lawn Tractor
Throttle Control
Wheels - Front Diagram and Parts List for  Snapper Lawn Tractor
Wheels - Front
Wheels - Rear Diagram and Parts List for  Snapper Lawn Tractor
Wheels - Rear
Previous Showing All Parts Next
41 Cutting Deck
41 Cutting Deck Diagram and Parts List for  Snapper Lawn Tractor
Belts Brakes Interlock
Belts Brakes Interlock Diagram and Parts List for  Snapper Lawn Tractor
Blade Stop Pedals
Blade Stop Pedals Diagram and Parts List for  Snapper Lawn Tractor
Blade Stop Pedals 25 26 28 Decks
Blade Stop Pedals 25 26 28 Decks Diagram and Parts List for  Snapper Lawn Tractor
Blade Stop Pedals 30 33 Decks
Blade Stop Pedals 30  33 Decks Diagram and Parts List for  Snapper Lawn Tractor
Chain Case LH Fender
Chain Case LH Fender Diagram and Parts List for  Snapper Lawn Tractor
Cutting Decks Deflectors
Cutting Decks Deflectors Diagram and Parts List for  Snapper Lawn Tractor
Decals
Decals Diagram and Parts List for  Snapper Lawn Tractor
Deck Cover Blade Brake - 41 - Series 8
Deck Cover Blade Brake - 41 - Series 8 Diagram and Parts List for  Snapper Lawn Tractor
Differential RH Fender
Differential RH Fender Diagram and Parts List for  Snapper Lawn Tractor
Drive Disc Assembly
Drive Disc Assembly Diagram and Parts List for  Snapper Lawn Tractor
Electrical Systems
Electrical Systems Diagram and Parts List for  Snapper Lawn Tractor
Exhaust - 65 8 12 14 Hp Engines
Exhaust - 65 8 12  14 Hp Engines Diagram and Parts List for  Snapper Lawn Tractor
Front End Steering
Front End Steering Diagram and Parts List for  Snapper Lawn Tractor
Front End Steering 25 26 28 Models
Front End Steering 25 26  28 Models Diagram and Parts List for  Snapper Lawn Tractor
Fuel Tank Operators Seat
Fuel Tank  Operators Seat Diagram and Parts List for  Snapper Lawn Tractor
Main Case
Main Case Diagram and Parts List for  Snapper Lawn Tractor
Rails Lift Arms Cam Lift
Rails Lift Arms Cam Lift Diagram and Parts List for  Snapper Lawn Tractor
Rails Lift Arms Cam Lift - 41 - Series 8
Rails Lift Arms Cam Lift - 41 - Series 8 Diagram and Parts List for  Snapper Lawn Tractor
Smooth Clutch Assembly - Series 8
Smooth Clutch Assembly - Series 8 Diagram and Parts List for  Snapper Lawn Tractor
Smooth Clutch Assembly - Series 9
Smooth Clutch Assembly - Series 9 Diagram and Parts List for  Snapper Lawn Tractor
Spindle
Spindle Diagram and Parts List for  Snapper Lawn Tractor
Throttle Control
Throttle Control Diagram and Parts List for  Snapper Lawn Tractor
Wheels - Front
Wheels - Front Diagram and Parts List for  Snapper Lawn Tractor
Wheels - Rear
Wheels - Rear Diagram and Parts List for  Snapper Lawn Tractor

Questions & Answers

?

Our customer Service team is at the ready daily to answer your part and product questions.

We're sorry, but our Q&A experts are temporarily unavailable.
Please check back later if you still haven't found the answer you need.

Ask our Team

We have a dedicated staff with decades of collective experience in helping customers just like you purchase parts to repair their products.