Cub Cadet Parts

Cub Cadet Garden Tractor Lawn Tractor Replacement Parts For Model 169 (2050048U)

We Sell Only Genuine Cub Cadet Parts

Popular Parts for 169

Search Within Model

Browse all Parts Search by Area
Air Cleaner & Extension Diagram and Parts List for 2050048U Cub Cadet Lawn Tractor
Air Cleaner & Extension
Battery Holder Diagram and Parts List for 2050048U Cub Cadet Lawn Tractor
Battery Holder
Brake & Connections Diagram and Parts List for 2050048U Cub Cadet Lawn Tractor
Brake & Connections
Brake Caliper Assembly Diagram and Parts List for 2050048U Cub Cadet Lawn Tractor
Brake Caliper Assembly
Carburetor Diagram and Parts List for 2050048U Cub Cadet Lawn Tractor
Carburetor
Control Valve Part 1 Diagram and Parts List for 2050048U Cub Cadet Lawn Tractor
Control Valve Part 1
Control Valve Part 2 Diagram and Parts List for 2050048U Cub Cadet Lawn Tractor
Control Valve Part 2
Engine Controls & Instrument Panel Diagram and Parts List for 2050048U Cub Cadet Lawn Tractor
Engine Controls & Instrument Panel
Engine Driven Power Take-Off Diagram and Parts List for 2050048U Cub Cadet Lawn Tractor
Engine Driven Power Take-Off
Engine-K341-16 Hp Diagram and Parts List for 2050048U Cub Cadet Lawn Tractor
Engine-K341-16 Hp
Fender & Connections Diagram and Parts List for 2050048U Cub Cadet Lawn Tractor
Fender & Connections
Front Axle & Connections Diagram and Parts List for 2050048U Cub Cadet Lawn Tractor
Front Axle & Connections
Front Wheels Diagram and Parts List for 2050048U Cub Cadet Lawn Tractor
Front Wheels
Fuel Tank, Supports & Piping Diagram and Parts List for 2050048U Cub Cadet Lawn Tractor
Fuel Tank, Supports & Piping
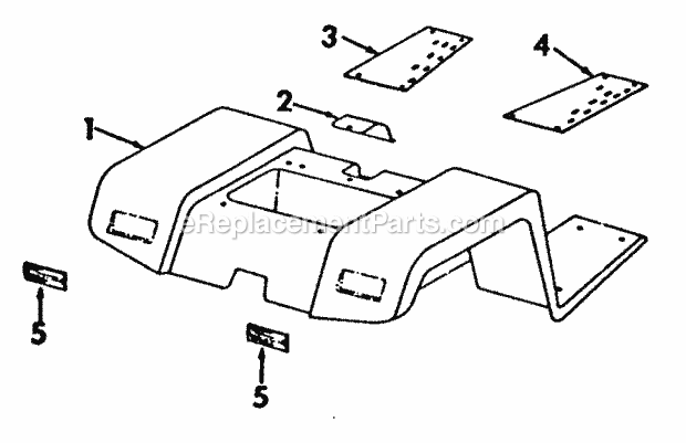
Hood, Grille & Frame Diagram and Parts List for 2050048U Cub Cadet Lawn Tractor
Hood, Grille & Frame
Hydraulic Lift Diagram and Parts List for 2050048U Cub Cadet Lawn Tractor
Hydraulic Lift
Hydrostatic Transmission Diagram and Parts List for 2050048U Cub Cadet Lawn Tractor
Hydrostatic Transmission
Manual Lift Handle & Connections Diagram and Parts List for 2050048U Cub Cadet Lawn Tractor
Manual Lift Handle & Connections
Protective Canopy Diagram and Parts List for 2050048U Cub Cadet Lawn Tractor
Protective Canopy
Rear Axle Diagram and Parts List for 2050048U Cub Cadet Lawn Tractor
Rear Axle
Rear Wheel Weights Diagram and Parts List for 2050048U Cub Cadet Lawn Tractor
Rear Wheel Weights
Rear Wheels Diagram and Parts List for 2050048U Cub Cadet Lawn Tractor
Rear Wheels
Seat & Support Diagram and Parts List for 2050048U Cub Cadet Lawn Tractor
Seat & Support
Service Engines Diagram and Parts List for 2050048U Cub Cadet Lawn Tractor
Service Engines
Starter Generator Diagram and Parts List for 2050048U Cub Cadet Lawn Tractor
Starter Generator
Starting & Lighting Diagram and Parts List for 2050048U Cub Cadet Lawn Tractor
Starting & Lighting
Steering Gear & Connections Diagram and Parts List for 2050048U Cub Cadet Lawn Tractor
Steering Gear & Connections
Three Point Hitch & Drawbar Diagram and Parts List for 2050048U Cub Cadet Lawn Tractor
Three Point Hitch & Drawbar
Transmission Case, Diff, Hydro Drive & Rel Pa Diagram and Parts List for 2050048U Cub Cadet Lawn Tractor
Transmission Case, Diff, Hydro Drive & Rel Pa
Transmission Controls Diagram and Parts List for 2050048U Cub Cadet Lawn Tractor
Transmission Controls
Utility Box Diagram and Parts List for 2050048U Cub Cadet Lawn Tractor
Utility Box
Previous Showing All Parts Next
Air Cleaner & Extension
Air Cleaner & Extension Diagram and Parts List for 2050048U Cub Cadet Lawn Tractor
  • 1
    PLATE ASSY-DAMPER – Part Number: 903-0194
    PLATE ASSY-DAMPER
    Part Number: 903-0194
      Special Order
    $154.42
  • 1
    ROD-ASSY DRIVE – Part Number: IH-545511-R1
    ROD-ASSY DRIVE
    Part Number: IH-545511-R1
      Special Order
    $152.31
  • 2
    BOLT-WHEEL – Part Number: 710-3027
    BOLT-WHEEL
    Part Number: 710-3027
      Special Order
    $37.56
  • 2
    BEARING-COLUMN – Part Number: 941-3023
    BEARING-COLUMN
    Part Number: 941-3023
      Special Order
    $13.01
  • 2
    HUB – Part Number: IH-394034-R32
    HUB
    Part Number: IH-394034-R32
      Special Order
    $176.79
  • 3
    SPRING-COMPRESSION – Part Number: 932-3012
    SPRING-COMPRESSION
    Part Number: 932-3012
      Special Order
    $11.06
  • 3
    PIN – Part Number: IH-19837-R2
    PIN
    Part Number: IH-19837-R2
      Special Order
    $13.88
  • 3
    CONTROL-CHOKE – Part Number: IH-401439-R93
    CONTROL-CHOKE
    Part Number: IH-401439-R93
      Special Order
    $80.96
  • 3
    BEARING – Part Number: SU-9001370-0003
    BEARING
    Part Number: SU-9001370-0003
      Special Order
    $189.62
  • 4
    Ball Joint Assembly – Part Number: 923-3000
    Ball Joint Assembly
    Part Number: 923-3000
      In Stock
    $33.88
  • 4
    ARM-COUPLING – Part Number: 759-3009
    ARM-COUPLING
    Part Number: 759-3009
      Special Order
    $146.62
  • 4
    OIL SEAL – Part Number: 921-3032
    OIL SEAL
    Part Number: 921-3032
    ★★★★★
    ★★★★★
    (1)
      Special Order
    $27.31
  • 4
    SPRING-COMPRESSION – Part Number: 932-3013
    SPRING-COMPRESSION
    Part Number: 932-3013
      Special Order
    $11.35
  • 5
    Cotter Pin – Part Number: 714-3020
    Cotter Pin
    Part Number: 714-3020
      Special Order
    Minimum Quantity of 2 required
    $6.16
  • 5
    SPRING GUIDE PIN – Part Number: 711-3033
    SPRING GUIDE PIN
    Part Number: 711-3033
      In Stock
    $24.57
  • 5
    GASKET-AXLE CARRIE – Part Number: 721P3014
    GASKET-AXLE CARRIE
    Part Number: 721P3014
      On Order
    $21.09
  • 5
    FAN – Part Number: IH-547749-R2
    FAN
    Part Number: IH-547749-R2
    ★★★★★
    ★★★★★
    (1)
      Special Order
    $36.11
  • 6
    Fuel Shut-Off – Part Number: 951-3015
    Fuel Shut-Off
    Part Number: 951-3015
      Special Order
    $48.15
  • 7
    SPRING-LIFT HDLE – Part Number: 932-3005
    SPRING-LIFT HDLE
    Part Number: 932-3005
      On Order
    $13.84
  • 7
    BUMPER – Part Number: IH-128509-H1
    BUMPER
    Part Number: IH-128509-H1
      Special Order
    $7.48
  • 7
    KNUCKLE-RH STEERIN – Part Number: IH-544217-R1
    KNUCKLE-RH STEERIN
    Part Number: IH-544217-R1
      Special Order
    $407.36
  • 8
    BUSHING – Part Number: IH-394048-R1
    BUSHING
    Part Number: IH-394048-R1
      Special Order
    $42.03
  • 9
    Bolt-hex – Part Number: 710-3020
    Bolt-hex
    Part Number: 710-3020
      No Longer Available
  • 9
    SPRING-LIFT HDLE – Part Number: 932-3005
    SPRING-LIFT HDLE
    Part Number: 932-3005
      On Order
    $13.84
  • 10
    Ring, Retaining – Part Number: 716-0865
    Ring, Retaining
    Part Number: 716-0865
      In Stock
    $6.99
  • 10
    PAD-BRAKE & CLUTCH – Part Number: 924-3000
    PAD-BRAKE & CLUTCH
    Part Number: 924-3000
      Special Order
    $31.21
  • 10
    RETAINER/BALL ASSY – Part Number: 941-3021
    RETAINER/BALL ASSY
    Part Number: 941-3021
      Special Order
    $53.99
  • 11
    Connector-swivel tube 37 degree – Part Number: 927-3002
    Connector-swivel tube 37 degree
    Part Number: 927-3002
      Special Order
    $19.75
  • 12
    Ring-o-3/8 od tube – Part Number: 721-3001
    Ring-o-3/8 od tube
    Part Number: 721-3001
      Special Order
    $6.16
  • 12
    Ball Joint Assembly – Part Number: 923-3000
    Ball Joint Assembly
    Part Number: 923-3000
      In Stock
    $33.88
  • 12
    Case Assy, Transmission – Part Number: IH-394081-R91
    Case Assy, Transmission
    Part Number: IH-394081-R91
      No Longer Available
  • 12
    HINGE – Part Number: IH-545508-R2
    HINGE
    Part Number: IH-545508-R2
      Special Order
    $34.27
  • 13
    Harness Retainer – Part Number: 726-0272
    Harness Retainer
    Part Number: 726-0272
      Special Order
    $11.31
  • 13
    SPRING-EXTENSION – Part Number: 932-3015
    SPRING-EXTENSION
    Part Number: 932-3015
      Special Order
    $19.44
  • 13
    STATOR-BRAKE – Part Number: IH-548122-R2
    STATOR-BRAKE
    Part Number: IH-548122-R2
      Special Order
    $101.64
  • 14
    BUTTON – Part Number: IH-59982-C1
    BUTTON
    Part Number: IH-59982-C1
      Special Order
    $33.42
  • 15
    Gear assy-steering – Part Number: 703-1085
    Gear assy-steering
    Part Number: 703-1085
      No Longer Available
  • 15
    Fitting-90 deg hyd – Part Number: 727-3012
    Fitting-90 deg hyd
    Part Number: 727-3012
      Special Order
    $38.50
  • 15
    CLEVIS-ADJ ROD END – Part Number: 719-3018
    CLEVIS-ADJ ROD END
    Part Number: 719-3018
      Special Order
    $62.50
  • 15
    SPRING – Part Number: IH-391347-R2
    SPRING
    Part Number: IH-391347-R2
      Special Order
    $25.59
  • 15
    SPRING – Part Number: IH-543969-R1
    SPRING
    Part Number: IH-543969-R1
      Special Order
    $40.86
  • 16
    Ring-o-3/8 od tube – Part Number: 721-3001
    Ring-o-3/8 od tube
    Part Number: 721-3001
      Special Order
    $6.16
  • 16
    RETAINER/BALL ASSY – Part Number: 941-3021
    RETAINER/BALL ASSY
    Part Number: 941-3021
      Special Order
    $53.99
  • 16
    RING NAN-206 – Part Number: IH-473475-R1
    RING NAN-206
    Part Number: IH-473475-R1
      Special Order
    $16.35
  • 18
    GASKET – Part Number: IH-350837-R3
    GASKET
    Part Number: IH-350837-R3
      Special Order
    $42.63
  • 18
    STATOR-BRAKE – Part Number: IH-548122-R2
    STATOR-BRAKE
    Part Number: IH-548122-R2
      Special Order
    $101.64
  • 23
    GASKET – Part Number: 921-3004
    GASKET
    Part Number: 921-3004
      On Order
    $16.97
  • 23
    NUT, 1/4-28 HEX JAM – Part Number: IH-25930-R2
    NUT, 1/4-28 HEX JAM
    Part Number: IH-25930-R2
      Special Order
    $7.04
  • 24
    BEARING – Part Number: IH-ST436P
    BEARING
    Part Number: IH-ST436P
      Special Order
    $121.78
  • 25
    SWITCH-NEUTRAL STA – Part Number: 925-3038
    SWITCH-NEUTRAL STA
    Part Number: 925-3038
      On Order
    $103.68
  • 26
    SWITCH-IGNITION – Part Number: IH-60736-C3
    SWITCH-IGNITION
    Part Number: IH-60736-C3
      Special Order
    $115.63
  • 27
    KEY-IGNITION – Part Number: IH-131313-C2
    KEY-IGNITION
    Part Number: IH-131313-C2
      Special Order
    $19.44
  • 28
    WASHER – Part Number: IH-375431-R1
    WASHER
    Part Number: IH-375431-R1
      Special Order
    $18.85
  • 28
    PIPE – Part Number: SU-3101069
    PIPE
    Part Number: SU-3101069
      Special Order
    $58.70
  • 29
    NUT – Part Number: IH-365502-R1
    NUT
    Part Number: IH-365502-R1
      Special Order
    $18.11
  • 30
    SCREW – Part Number: IH-59980-C1
    SCREW
    Part Number: IH-59980-C1
      Special Order
    $6.16
  • 31
    SHOE-PTO BRAKE – Part Number: IH-59973-C1
    SHOE-PTO BRAKE
    Part Number: IH-59973-C1
      Special Order
    $184.92
  • 34
    PLUG ASM – Part Number: SU-4800323
    PLUG ASM
    Part Number: SU-4800323
      Special Order
    $51.69
  • 35
    Oil Filter – Part Number: 923-3014
    Oil Filter
    Part Number: 923-3014
      In Stock
    $23.78
  • 37
    VALVE ASSY – Part Number: SU-9500085P
    VALVE ASSY
    Part Number: SU-9500085P
      Special Order
    $571.20
  • 47
    OIL SEAL – Part Number: 921-3032
    OIL SEAL
    Part Number: 921-3032
    ★★★★★
    ★★★★★
    (1)
      Special Order
    $27.31
  • 48
    SHIM .014 – Part Number: 717-3099
    SHIM .014
    Part Number: 717-3099
      Special Order
    $53.83
  • 49
    PULLEY – Part Number: KH-231591
    PULLEY
    Part Number: KH-231591
      Special Order
    $297.40
  • 50
    DISC-FLEX COUPLING – Part Number: IH-376257-R3
    DISC-FLEX COUPLING
    Part Number: IH-376257-R3
      Special Order
    $62.97
  • 52
    CUP ASSEMBLY – Part Number: KH-41-071-03
    CUP ASSEMBLY
    Part Number: KH-41-071-03
      Special Order
    $195.55
  • 102
    POINTS-BREAKER – Part Number: KH-47-150-03
    POINTS-BREAKER
    Part Number: KH-47-150-03
      Special Order
    $32.28
  • 113
    BELT 3/8 X 31 11/1 – Part Number: IH-401960-R1
    BELT 3/8 X 31 11/1
    Part Number: IH-401960-R1
      Special Order
    $28.62
Battery Holder
Battery Holder Diagram and Parts List for 2050048U Cub Cadet Lawn Tractor
  • 1
    ROD-ASSY DRIVE – Part Number: IH-545511-R1
    ROD-ASSY DRIVE
    Part Number: IH-545511-R1
      Special Order
    $152.31
  • 1
    PLATE ASSY-DAMPER – Part Number: 903-0194
    PLATE ASSY-DAMPER
    Part Number: 903-0194
      Special Order
    $154.42
  • 2
    HUB – Part Number: IH-394034-R32
    HUB
    Part Number: IH-394034-R32
      Special Order
    $176.79
  • 2
    BEARING-COLUMN – Part Number: 941-3023
    BEARING-COLUMN
    Part Number: 941-3023
      Special Order
    $13.01
  • 2
    BOLT-WHEEL – Part Number: 710-3027
    BOLT-WHEEL
    Part Number: 710-3027
      Special Order
    $37.56
  • 3
    BEARING – Part Number: SU-9001370-0003
    BEARING
    Part Number: SU-9001370-0003
      Special Order
    $189.62
  • 3
    CONTROL-CHOKE – Part Number: IH-401439-R93
    CONTROL-CHOKE
    Part Number: IH-401439-R93
      Special Order
    $80.96
  • 3
    PIN – Part Number: IH-19837-R2
    PIN
    Part Number: IH-19837-R2
      Special Order
    $13.88
  • 3
    SPRING-COMPRESSION – Part Number: 932-3012
    SPRING-COMPRESSION
    Part Number: 932-3012
      Special Order
    $11.06
  • 4
    SPRING-COMPRESSION – Part Number: 932-3013
    SPRING-COMPRESSION
    Part Number: 932-3013
      Special Order
    $11.35
  • 4
    OIL SEAL – Part Number: 921-3032
    OIL SEAL
    Part Number: 921-3032
    ★★★★★
    ★★★★★
    (1)
      Special Order
    $27.31
  • 4
    ARM-COUPLING – Part Number: 759-3009
    ARM-COUPLING
    Part Number: 759-3009
      Special Order
    $146.62
  • 4
    Ball Joint Assembly – Part Number: 923-3000
    Ball Joint Assembly
    Part Number: 923-3000
      In Stock
    $33.88
  • 5
    FAN – Part Number: IH-547749-R2
    FAN
    Part Number: IH-547749-R2
    ★★★★★
    ★★★★★
    (1)
      Special Order
    $36.11
  • 5
    GASKET-AXLE CARRIE – Part Number: 721P3014
    GASKET-AXLE CARRIE
    Part Number: 721P3014
      On Order
    $21.09
  • 5
    SPRING GUIDE PIN – Part Number: 711-3033
    SPRING GUIDE PIN
    Part Number: 711-3033
      In Stock
    $24.57
  • 5
    Cotter Pin – Part Number: 714-3020
    Cotter Pin
    Part Number: 714-3020
      Special Order
    Minimum Quantity of 2 required
    $6.16
  • 6
    Fuel Shut-Off – Part Number: 951-3015
    Fuel Shut-Off
    Part Number: 951-3015
      Special Order
    $48.15
  • 7
    KNUCKLE-RH STEERIN – Part Number: IH-544217-R1
    KNUCKLE-RH STEERIN
    Part Number: IH-544217-R1
      Special Order
    $407.36
  • 7
    BUMPER – Part Number: IH-128509-H1
    BUMPER
    Part Number: IH-128509-H1
      Special Order
    $7.48
  • 7
    SPRING-LIFT HDLE – Part Number: 932-3005
    SPRING-LIFT HDLE
    Part Number: 932-3005
      On Order
    $13.84
  • 8
    BUSHING – Part Number: IH-394048-R1
    BUSHING
    Part Number: IH-394048-R1
      Special Order
    $42.03
  • 9
    SPRING-LIFT HDLE – Part Number: 932-3005
    SPRING-LIFT HDLE
    Part Number: 932-3005
      On Order
    $13.84
  • 9
    Bolt-hex – Part Number: 710-3020
    Bolt-hex
    Part Number: 710-3020
      No Longer Available
  • 10
    RETAINER/BALL ASSY – Part Number: 941-3021
    RETAINER/BALL ASSY
    Part Number: 941-3021
      Special Order
    $53.99
  • 10
    PAD-BRAKE & CLUTCH – Part Number: 924-3000
    PAD-BRAKE & CLUTCH
    Part Number: 924-3000
      Special Order
    $31.21
  • 10
    Ring, Retaining – Part Number: 716-0865
    Ring, Retaining
    Part Number: 716-0865
      In Stock
    $6.99
  • 11
    Connector-swivel tube 37 degree – Part Number: 927-3002
    Connector-swivel tube 37 degree
    Part Number: 927-3002
      Special Order
    $19.75
  • 12
    HINGE – Part Number: IH-545508-R2
    HINGE
    Part Number: IH-545508-R2
      Special Order
    $34.27
  • 12
    Case Assy, Transmission – Part Number: IH-394081-R91
    Case Assy, Transmission
    Part Number: IH-394081-R91
      No Longer Available
  • 12
    Ball Joint Assembly – Part Number: 923-3000
    Ball Joint Assembly
    Part Number: 923-3000
      In Stock
    $33.88
  • 12
    Ring-o-3/8 od tube – Part Number: 721-3001
    Ring-o-3/8 od tube
    Part Number: 721-3001
      Special Order
    $6.16
  • 13
    STATOR-BRAKE – Part Number: IH-548122-R2
    STATOR-BRAKE
    Part Number: IH-548122-R2
      Special Order
    $101.64
  • 13
    SPRING-EXTENSION – Part Number: 932-3015
    SPRING-EXTENSION
    Part Number: 932-3015
      Special Order
    $19.44
  • 13
    Harness Retainer – Part Number: 726-0272
    Harness Retainer
    Part Number: 726-0272
      Special Order
    $11.31
  • 14
    BUTTON – Part Number: IH-59982-C1
    BUTTON
    Part Number: IH-59982-C1
      Special Order
    $33.42
  • 15
    SPRING – Part Number: IH-543969-R1
    SPRING
    Part Number: IH-543969-R1
      Special Order
    $40.86
  • 15
    SPRING – Part Number: IH-391347-R2
    SPRING
    Part Number: IH-391347-R2
      Special Order
    $25.59
  • 15
    CLEVIS-ADJ ROD END – Part Number: 719-3018
    CLEVIS-ADJ ROD END
    Part Number: 719-3018
      Special Order
    $62.50
  • 15
    Fitting-90 deg hyd – Part Number: 727-3012
    Fitting-90 deg hyd
    Part Number: 727-3012
      Special Order
    $38.50
  • 15
    Gear assy-steering – Part Number: 703-1085
    Gear assy-steering
    Part Number: 703-1085
      No Longer Available
  • 16
    RING NAN-206 – Part Number: IH-473475-R1
    RING NAN-206
    Part Number: IH-473475-R1
      Special Order
    $16.35
  • 16
    RETAINER/BALL ASSY – Part Number: 941-3021
    RETAINER/BALL ASSY
    Part Number: 941-3021
      Special Order
    $53.99
  • 16
    Ring-o-3/8 od tube – Part Number: 721-3001
    Ring-o-3/8 od tube
    Part Number: 721-3001
      Special Order
    $6.16
  • 18
    STATOR-BRAKE – Part Number: IH-548122-R2
    STATOR-BRAKE
    Part Number: IH-548122-R2
      Special Order
    $101.64
  • 18
    GASKET – Part Number: IH-350837-R3
    GASKET
    Part Number: IH-350837-R3
      Special Order
    $42.63
  • 23
    NUT, 1/4-28 HEX JAM – Part Number: IH-25930-R2
    NUT, 1/4-28 HEX JAM
    Part Number: IH-25930-R2
      Special Order
    $7.04
  • 23
    GASKET – Part Number: 921-3004
    GASKET
    Part Number: 921-3004
      On Order
    $16.97
  • 24
    BEARING – Part Number: IH-ST436P
    BEARING
    Part Number: IH-ST436P
      Special Order
    $121.78
  • 25
    SWITCH-NEUTRAL STA – Part Number: 925-3038
    SWITCH-NEUTRAL STA
    Part Number: 925-3038
      On Order
    $103.68
  • 26
    SWITCH-IGNITION – Part Number: IH-60736-C3
    SWITCH-IGNITION
    Part Number: IH-60736-C3
      Special Order
    $115.63
  • 27
    KEY-IGNITION – Part Number: IH-131313-C2
    KEY-IGNITION
    Part Number: IH-131313-C2
      Special Order
    $19.44
  • 28
    PIPE – Part Number: SU-3101069
    PIPE
    Part Number: SU-3101069
      Special Order
    $58.70
  • 28
    WASHER – Part Number: IH-375431-R1
    WASHER
    Part Number: IH-375431-R1
      Special Order
    $18.85
  • 29
    NUT – Part Number: IH-365502-R1
    NUT
    Part Number: IH-365502-R1
      Special Order
    $18.11
  • 30
    SCREW – Part Number: IH-59980-C1
    SCREW
    Part Number: IH-59980-C1
      Special Order
    $6.16
  • 31
    SHOE-PTO BRAKE – Part Number: IH-59973-C1
    SHOE-PTO BRAKE
    Part Number: IH-59973-C1
      Special Order
    $184.92
  • 34
    PLUG ASM – Part Number: SU-4800323
    PLUG ASM
    Part Number: SU-4800323
      Special Order
    $51.69
  • 35
    Oil Filter – Part Number: 923-3014
    Oil Filter
    Part Number: 923-3014
      In Stock
    $23.78
  • 37
    VALVE ASSY – Part Number: SU-9500085P
    VALVE ASSY
    Part Number: SU-9500085P
      Special Order
    $571.20
  • 47
    OIL SEAL – Part Number: 921-3032
    OIL SEAL
    Part Number: 921-3032
    ★★★★★
    ★★★★★
    (1)
      Special Order
    $27.31
  • 48
    SHIM .014 – Part Number: 717-3099
    SHIM .014
    Part Number: 717-3099
      Special Order
    $53.83
  • 49
    PULLEY – Part Number: KH-231591
    PULLEY
    Part Number: KH-231591
      Special Order
    $297.40
  • 50
    DISC-FLEX COUPLING – Part Number: IH-376257-R3
    DISC-FLEX COUPLING
    Part Number: IH-376257-R3
      Special Order
    $62.97
  • 52
    CUP ASSEMBLY – Part Number: KH-41-071-03
    CUP ASSEMBLY
    Part Number: KH-41-071-03
      Special Order
    $195.55
  • 102
    POINTS-BREAKER – Part Number: KH-47-150-03
    POINTS-BREAKER
    Part Number: KH-47-150-03
      Special Order
    $32.28
  • 113
    BELT 3/8 X 31 11/1 – Part Number: IH-401960-R1
    BELT 3/8 X 31 11/1
    Part Number: IH-401960-R1
      Special Order
    $28.62
Brake & Connections
Brake & Connections Diagram and Parts List for 2050048U Cub Cadet Lawn Tractor
  • 1
    PLATE ASSY-DAMPER – Part Number: 903-0194
    PLATE ASSY-DAMPER
    Part Number: 903-0194
      Special Order
    $154.42
  • 1
    ROD-ASSY DRIVE – Part Number: IH-545511-R1
    ROD-ASSY DRIVE
    Part Number: IH-545511-R1
      Special Order
    $152.31
  • 2
    BOLT-WHEEL – Part Number: 710-3027
    BOLT-WHEEL
    Part Number: 710-3027
      Special Order
    $37.56
  • 2
    BEARING-COLUMN – Part Number: 941-3023
    BEARING-COLUMN
    Part Number: 941-3023
      Special Order
    $13.01
  • 2
    HUB – Part Number: IH-394034-R32
    HUB
    Part Number: IH-394034-R32
      Special Order
    $176.79
  • 3
    SPRING-COMPRESSION – Part Number: 932-3012
    SPRING-COMPRESSION
    Part Number: 932-3012
      Special Order
    $11.06
  • 3
    PIN – Part Number: IH-19837-R2
    PIN
    Part Number: IH-19837-R2
      Special Order
    $13.88
  • 3
    CONTROL-CHOKE – Part Number: IH-401439-R93
    CONTROL-CHOKE
    Part Number: IH-401439-R93
      Special Order
    $80.96
  • 3
    BEARING – Part Number: SU-9001370-0003
    BEARING
    Part Number: SU-9001370-0003
      Special Order
    $189.62
  • 4
    Ball Joint Assembly – Part Number: 923-3000
    Ball Joint Assembly
    Part Number: 923-3000
      In Stock
    $33.88
  • 4
    ARM-COUPLING – Part Number: 759-3009
    ARM-COUPLING
    Part Number: 759-3009
      Special Order
    $146.62
  • 4
    OIL SEAL – Part Number: 921-3032
    OIL SEAL
    Part Number: 921-3032
    ★★★★★
    ★★★★★
    (1)
      Special Order
    $27.31
  • 4
    SPRING-COMPRESSION – Part Number: 932-3013
    SPRING-COMPRESSION
    Part Number: 932-3013
      Special Order
    $11.35
  • 5
    Cotter Pin – Part Number: 714-3020
    Cotter Pin
    Part Number: 714-3020
      Special Order
    Minimum Quantity of 2 required
    $6.16
  • 5
    SPRING GUIDE PIN – Part Number: 711-3033
    SPRING GUIDE PIN
    Part Number: 711-3033
      In Stock
    $24.57
  • 5
    GASKET-AXLE CARRIE – Part Number: 721P3014
    GASKET-AXLE CARRIE
    Part Number: 721P3014
      On Order
    $21.09
  • 5
    FAN – Part Number: IH-547749-R2
    FAN
    Part Number: IH-547749-R2
    ★★★★★
    ★★★★★
    (1)
      Special Order
    $36.11
  • 6
    Fuel Shut-Off – Part Number: 951-3015
    Fuel Shut-Off
    Part Number: 951-3015
      Special Order
    $48.15
  • 7
    SPRING-LIFT HDLE – Part Number: 932-3005
    SPRING-LIFT HDLE
    Part Number: 932-3005
      On Order
    $13.84
  • 7
    BUMPER – Part Number: IH-128509-H1
    BUMPER
    Part Number: IH-128509-H1
      Special Order
    $7.48
  • 7
    KNUCKLE-RH STEERIN – Part Number: IH-544217-R1
    KNUCKLE-RH STEERIN
    Part Number: IH-544217-R1
      Special Order
    $407.36
  • 8
    BUSHING – Part Number: IH-394048-R1
    BUSHING
    Part Number: IH-394048-R1
      Special Order
    $42.03
  • 9
    Bolt-hex – Part Number: 710-3020
    Bolt-hex
    Part Number: 710-3020
      No Longer Available
  • 9
    SPRING-LIFT HDLE – Part Number: 932-3005
    SPRING-LIFT HDLE
    Part Number: 932-3005
      On Order
    $13.84
  • 10
    Ring, Retaining – Part Number: 716-0865
    Ring, Retaining
    Part Number: 716-0865
      In Stock
    $6.99
  • 10
    PAD-BRAKE & CLUTCH – Part Number: 924-3000
    PAD-BRAKE & CLUTCH
    Part Number: 924-3000
      Special Order
    $31.21
  • 10
    RETAINER/BALL ASSY – Part Number: 941-3021
    RETAINER/BALL ASSY
    Part Number: 941-3021
      Special Order
    $53.99
  • 11
    Connector-swivel tube 37 degree – Part Number: 927-3002
    Connector-swivel tube 37 degree
    Part Number: 927-3002
      Special Order
    $19.75
  • 12
    Ring-o-3/8 od tube – Part Number: 721-3001
    Ring-o-3/8 od tube
    Part Number: 721-3001
      Special Order
    $6.16
  • 12
    Ball Joint Assembly – Part Number: 923-3000
    Ball Joint Assembly
    Part Number: 923-3000
      In Stock
    $33.88
  • 12
    Case Assy, Transmission – Part Number: IH-394081-R91
    Case Assy, Transmission
    Part Number: IH-394081-R91
      No Longer Available
  • 12
    HINGE – Part Number: IH-545508-R2
    HINGE
    Part Number: IH-545508-R2
      Special Order
    $34.27
  • 13
    Harness Retainer – Part Number: 726-0272
    Harness Retainer
    Part Number: 726-0272
      Special Order
    $11.31
  • 13
    SPRING-EXTENSION – Part Number: 932-3015
    SPRING-EXTENSION
    Part Number: 932-3015
      Special Order
    $19.44
  • 13
    STATOR-BRAKE – Part Number: IH-548122-R2
    STATOR-BRAKE
    Part Number: IH-548122-R2
      Special Order
    $101.64
  • 14
    BUTTON – Part Number: IH-59982-C1
    BUTTON
    Part Number: IH-59982-C1
      Special Order
    $33.42
  • 15
    Gear assy-steering – Part Number: 703-1085
    Gear assy-steering
    Part Number: 703-1085
      No Longer Available
  • 15
    Fitting-90 deg hyd – Part Number: 727-3012
    Fitting-90 deg hyd
    Part Number: 727-3012
      Special Order
    $38.50
  • 15
    CLEVIS-ADJ ROD END – Part Number: 719-3018
    CLEVIS-ADJ ROD END
    Part Number: 719-3018
      Special Order
    $62.50
  • 15
    SPRING – Part Number: IH-391347-R2
    SPRING
    Part Number: IH-391347-R2
      Special Order
    $25.59
  • 15
    SPRING – Part Number: IH-543969-R1
    SPRING
    Part Number: IH-543969-R1
      Special Order
    $40.86
  • 16
    Ring-o-3/8 od tube – Part Number: 721-3001
    Ring-o-3/8 od tube
    Part Number: 721-3001
      Special Order
    $6.16
  • 16
    RETAINER/BALL ASSY – Part Number: 941-3021
    RETAINER/BALL ASSY
    Part Number: 941-3021
      Special Order
    $53.99
  • 16
    RING NAN-206 – Part Number: IH-473475-R1
    RING NAN-206
    Part Number: IH-473475-R1
      Special Order
    $16.35
  • 18
    GASKET – Part Number: IH-350837-R3
    GASKET
    Part Number: IH-350837-R3
      Special Order
    $42.63
  • 18
    STATOR-BRAKE – Part Number: IH-548122-R2
    STATOR-BRAKE
    Part Number: IH-548122-R2
      Special Order
    $101.64
  • 23
    GASKET – Part Number: 921-3004
    GASKET
    Part Number: 921-3004
      On Order
    $16.97
  • 23
    NUT, 1/4-28 HEX JAM – Part Number: IH-25930-R2
    NUT, 1/4-28 HEX JAM
    Part Number: IH-25930-R2
      Special Order
    $7.04
  • 24
    BEARING – Part Number: IH-ST436P
    BEARING
    Part Number: IH-ST436P
      Special Order
    $121.78
  • 25
    SWITCH-NEUTRAL STA – Part Number: 925-3038
    SWITCH-NEUTRAL STA
    Part Number: 925-3038
      On Order
    $103.68
  • 26
    SWITCH-IGNITION – Part Number: IH-60736-C3
    SWITCH-IGNITION
    Part Number: IH-60736-C3
      Special Order
    $115.63
  • 27
    KEY-IGNITION – Part Number: IH-131313-C2
    KEY-IGNITION
    Part Number: IH-131313-C2
      Special Order
    $19.44
  • 28
    WASHER – Part Number: IH-375431-R1
    WASHER
    Part Number: IH-375431-R1
      Special Order
    $18.85
  • 28
    PIPE – Part Number: SU-3101069
    PIPE
    Part Number: SU-3101069
      Special Order
    $58.70
  • 29
    NUT – Part Number: IH-365502-R1
    NUT
    Part Number: IH-365502-R1
      Special Order
    $18.11
  • 30
    SCREW – Part Number: IH-59980-C1
    SCREW
    Part Number: IH-59980-C1
      Special Order
    $6.16
  • 31
    SHOE-PTO BRAKE – Part Number: IH-59973-C1
    SHOE-PTO BRAKE
    Part Number: IH-59973-C1
      Special Order
    $184.92
  • 34
    PLUG ASM – Part Number: SU-4800323
    PLUG ASM
    Part Number: SU-4800323
      Special Order
    $51.69
  • 35
    Oil Filter – Part Number: 923-3014
    Oil Filter
    Part Number: 923-3014
      In Stock
    $23.78
  • 37
    VALVE ASSY – Part Number: SU-9500085P
    VALVE ASSY
    Part Number: SU-9500085P
      Special Order
    $571.20
  • 47
    OIL SEAL – Part Number: 921-3032
    OIL SEAL
    Part Number: 921-3032
    ★★★★★
    ★★★★★
    (1)
      Special Order
    $27.31
  • 48
    SHIM .014 – Part Number: 717-3099
    SHIM .014
    Part Number: 717-3099
      Special Order
    $53.83
  • 49
    PULLEY – Part Number: KH-231591
    PULLEY
    Part Number: KH-231591
      Special Order
    $297.40
  • 50
    DISC-FLEX COUPLING – Part Number: IH-376257-R3
    DISC-FLEX COUPLING
    Part Number: IH-376257-R3
      Special Order
    $62.97
  • 52
    CUP ASSEMBLY – Part Number: KH-41-071-03
    CUP ASSEMBLY
    Part Number: KH-41-071-03
      Special Order
    $195.55
  • 102
    POINTS-BREAKER – Part Number: KH-47-150-03
    POINTS-BREAKER
    Part Number: KH-47-150-03
      Special Order
    $32.28
  • 113
    BELT 3/8 X 31 11/1 – Part Number: IH-401960-R1
    BELT 3/8 X 31 11/1
    Part Number: IH-401960-R1
      Special Order
    $28.62
Brake Caliper Assembly
Brake Caliper Assembly Diagram and Parts List for 2050048U Cub Cadet Lawn Tractor
  • 1
    ROD-ASSY DRIVE – Part Number: IH-545511-R1
    ROD-ASSY DRIVE
    Part Number: IH-545511-R1
      Special Order
    $152.31
  • 1
    PLATE ASSY-DAMPER – Part Number: 903-0194
    PLATE ASSY-DAMPER
    Part Number: 903-0194
      Special Order
    $154.42
  • 2
    HUB – Part Number: IH-394034-R32
    HUB
    Part Number: IH-394034-R32
      Special Order
    $176.79
  • 2
    BEARING-COLUMN – Part Number: 941-3023
    BEARING-COLUMN
    Part Number: 941-3023
      Special Order
    $13.01
  • 2
    BOLT-WHEEL – Part Number: 710-3027
    BOLT-WHEEL
    Part Number: 710-3027
      Special Order
    $37.56
  • 3
    BEARING – Part Number: SU-9001370-0003
    BEARING
    Part Number: SU-9001370-0003
      Special Order
    $189.62
  • 3
    CONTROL-CHOKE – Part Number: IH-401439-R93
    CONTROL-CHOKE
    Part Number: IH-401439-R93
      Special Order
    $80.96
  • 3
    PIN – Part Number: IH-19837-R2
    PIN
    Part Number: IH-19837-R2
      Special Order
    $13.88
  • 3
    SPRING-COMPRESSION – Part Number: 932-3012
    SPRING-COMPRESSION
    Part Number: 932-3012
      Special Order
    $11.06
  • 4
    SPRING-COMPRESSION – Part Number: 932-3013
    SPRING-COMPRESSION
    Part Number: 932-3013
      Special Order
    $11.35
  • 4
    OIL SEAL – Part Number: 921-3032
    OIL SEAL
    Part Number: 921-3032
    ★★★★★
    ★★★★★
    (1)
      Special Order
    $27.31
  • 4
    ARM-COUPLING – Part Number: 759-3009
    ARM-COUPLING
    Part Number: 759-3009
      Special Order
    $146.62
  • 4
    Ball Joint Assembly – Part Number: 923-3000
    Ball Joint Assembly
    Part Number: 923-3000
      In Stock
    $33.88
  • 5
    FAN – Part Number: IH-547749-R2
    FAN
    Part Number: IH-547749-R2
    ★★★★★
    ★★★★★
    (1)
      Special Order
    $36.11
  • 5
    GASKET-AXLE CARRIE – Part Number: 721P3014
    GASKET-AXLE CARRIE
    Part Number: 721P3014
      On Order
    $21.09
  • 5
    SPRING GUIDE PIN – Part Number: 711-3033
    SPRING GUIDE PIN
    Part Number: 711-3033
      In Stock
    $24.57
  • 5
    Cotter Pin – Part Number: 714-3020
    Cotter Pin
    Part Number: 714-3020
      Special Order
    Minimum Quantity of 2 required
    $6.16
  • 6
    Fuel Shut-Off – Part Number: 951-3015
    Fuel Shut-Off
    Part Number: 951-3015
      Special Order
    $48.15
  • 7
    KNUCKLE-RH STEERIN – Part Number: IH-544217-R1
    KNUCKLE-RH STEERIN
    Part Number: IH-544217-R1
      Special Order
    $407.36
  • 7
    BUMPER – Part Number: IH-128509-H1
    BUMPER
    Part Number: IH-128509-H1
      Special Order
    $7.48
  • 7
    SPRING-LIFT HDLE – Part Number: 932-3005
    SPRING-LIFT HDLE
    Part Number: 932-3005
      On Order
    $13.84
  • 8
    BUSHING – Part Number: IH-394048-R1
    BUSHING
    Part Number: IH-394048-R1
      Special Order
    $42.03
  • 9
    SPRING-LIFT HDLE – Part Number: 932-3005
    SPRING-LIFT HDLE
    Part Number: 932-3005
      On Order
    $13.84
  • 9
    Bolt-hex – Part Number: 710-3020
    Bolt-hex
    Part Number: 710-3020
      No Longer Available
  • 10
    RETAINER/BALL ASSY – Part Number: 941-3021
    RETAINER/BALL ASSY
    Part Number: 941-3021
      Special Order
    $53.99
  • 10
    PAD-BRAKE & CLUTCH – Part Number: 924-3000
    PAD-BRAKE & CLUTCH
    Part Number: 924-3000
      Special Order
    $31.21
  • 10
    Ring, Retaining – Part Number: 716-0865
    Ring, Retaining
    Part Number: 716-0865
      In Stock
    $6.99
  • 11
    Connector-swivel tube 37 degree – Part Number: 927-3002
    Connector-swivel tube 37 degree
    Part Number: 927-3002
      Special Order
    $19.75
  • 12
    HINGE – Part Number: IH-545508-R2
    HINGE
    Part Number: IH-545508-R2
      Special Order
    $34.27
  • 12
    Case Assy, Transmission – Part Number: IH-394081-R91
    Case Assy, Transmission
    Part Number: IH-394081-R91
      No Longer Available
  • 12
    Ball Joint Assembly – Part Number: 923-3000
    Ball Joint Assembly
    Part Number: 923-3000
      In Stock
    $33.88
  • 12
    Ring-o-3/8 od tube – Part Number: 721-3001
    Ring-o-3/8 od tube
    Part Number: 721-3001
      Special Order
    $6.16
  • 13
    STATOR-BRAKE – Part Number: IH-548122-R2
    STATOR-BRAKE
    Part Number: IH-548122-R2
      Special Order
    $101.64
  • 13
    SPRING-EXTENSION – Part Number: 932-3015
    SPRING-EXTENSION
    Part Number: 932-3015
      Special Order
    $19.44
  • 13
    Harness Retainer – Part Number: 726-0272
    Harness Retainer
    Part Number: 726-0272
      Special Order
    $11.31
  • 14
    BUTTON – Part Number: IH-59982-C1
    BUTTON
    Part Number: IH-59982-C1
      Special Order
    $33.42
  • 15
    SPRING – Part Number: IH-543969-R1
    SPRING
    Part Number: IH-543969-R1
      Special Order
    $40.86
  • 15
    SPRING – Part Number: IH-391347-R2
    SPRING
    Part Number: IH-391347-R2
      Special Order
    $25.59
  • 15
    CLEVIS-ADJ ROD END – Part Number: 719-3018
    CLEVIS-ADJ ROD END
    Part Number: 719-3018
      Special Order
    $62.50
  • 15
    Fitting-90 deg hyd – Part Number: 727-3012
    Fitting-90 deg hyd
    Part Number: 727-3012
      Special Order
    $38.50
  • 15
    Gear assy-steering – Part Number: 703-1085
    Gear assy-steering
    Part Number: 703-1085
      No Longer Available
  • 16
    RING NAN-206 – Part Number: IH-473475-R1
    RING NAN-206
    Part Number: IH-473475-R1
      Special Order
    $16.35
  • 16
    RETAINER/BALL ASSY – Part Number: 941-3021
    RETAINER/BALL ASSY
    Part Number: 941-3021
      Special Order
    $53.99
  • 16
    Ring-o-3/8 od tube – Part Number: 721-3001
    Ring-o-3/8 od tube
    Part Number: 721-3001
      Special Order
    $6.16
  • 18
    STATOR-BRAKE – Part Number: IH-548122-R2
    STATOR-BRAKE
    Part Number: IH-548122-R2
      Special Order
    $101.64
  • 18
    GASKET – Part Number: IH-350837-R3
    GASKET
    Part Number: IH-350837-R3
      Special Order
    $42.63
  • 23
    NUT, 1/4-28 HEX JAM – Part Number: IH-25930-R2
    NUT, 1/4-28 HEX JAM
    Part Number: IH-25930-R2
      Special Order
    $7.04
  • 23
    GASKET – Part Number: 921-3004
    GASKET
    Part Number: 921-3004
      On Order
    $16.97
  • 24
    BEARING – Part Number: IH-ST436P
    BEARING
    Part Number: IH-ST436P
      Special Order
    $121.78
  • 25
    SWITCH-NEUTRAL STA – Part Number: 925-3038
    SWITCH-NEUTRAL STA
    Part Number: 925-3038
      On Order
    $103.68
  • 26
    SWITCH-IGNITION – Part Number: IH-60736-C3
    SWITCH-IGNITION
    Part Number: IH-60736-C3
      Special Order
    $115.63
  • 27
    KEY-IGNITION – Part Number: IH-131313-C2
    KEY-IGNITION
    Part Number: IH-131313-C2
      Special Order
    $19.44
  • 28
    PIPE – Part Number: SU-3101069
    PIPE
    Part Number: SU-3101069
      Special Order
    $58.70
  • 28
    WASHER – Part Number: IH-375431-R1
    WASHER
    Part Number: IH-375431-R1
      Special Order
    $18.85
  • 29
    NUT – Part Number: IH-365502-R1
    NUT
    Part Number: IH-365502-R1
      Special Order
    $18.11
  • 30
    SCREW – Part Number: IH-59980-C1
    SCREW
    Part Number: IH-59980-C1
      Special Order
    $6.16
  • 31
    SHOE-PTO BRAKE – Part Number: IH-59973-C1
    SHOE-PTO BRAKE
    Part Number: IH-59973-C1
      Special Order
    $184.92
  • 34
    PLUG ASM – Part Number: SU-4800323
    PLUG ASM
    Part Number: SU-4800323
      Special Order
    $51.69
  • 35
    Oil Filter – Part Number: 923-3014
    Oil Filter
    Part Number: 923-3014
      In Stock
    $23.78
  • 37
    VALVE ASSY – Part Number: SU-9500085P
    VALVE ASSY
    Part Number: SU-9500085P
      Special Order
    $571.20
  • 47
    OIL SEAL – Part Number: 921-3032
    OIL SEAL
    Part Number: 921-3032
    ★★★★★
    ★★★★★
    (1)
      Special Order
    $27.31
  • 48
    SHIM .014 – Part Number: 717-3099
    SHIM .014
    Part Number: 717-3099
      Special Order
    $53.83
  • 49
    PULLEY – Part Number: KH-231591
    PULLEY
    Part Number: KH-231591
      Special Order
    $297.40
  • 50
    DISC-FLEX COUPLING – Part Number: IH-376257-R3
    DISC-FLEX COUPLING
    Part Number: IH-376257-R3
      Special Order
    $62.97
  • 52
    CUP ASSEMBLY – Part Number: KH-41-071-03
    CUP ASSEMBLY
    Part Number: KH-41-071-03
      Special Order
    $195.55
  • 102
    POINTS-BREAKER – Part Number: KH-47-150-03
    POINTS-BREAKER
    Part Number: KH-47-150-03
      Special Order
    $32.28
  • 113
    BELT 3/8 X 31 11/1 – Part Number: IH-401960-R1
    BELT 3/8 X 31 11/1
    Part Number: IH-401960-R1
      Special Order
    $28.62
Carburetor
Carburetor Diagram and Parts List for 2050048U Cub Cadet Lawn Tractor
  • 1
    PLATE ASSY-DAMPER – Part Number: 903-0194
    PLATE ASSY-DAMPER
    Part Number: 903-0194
      Special Order
    $154.42
  • 1
    ROD-ASSY DRIVE – Part Number: IH-545511-R1
    ROD-ASSY DRIVE
    Part Number: IH-545511-R1
      Special Order
    $152.31
  • 2
    BOLT-WHEEL – Part Number: 710-3027
    BOLT-WHEEL
    Part Number: 710-3027
      Special Order
    $37.56
  • 2
    BEARING-COLUMN – Part Number: 941-3023
    BEARING-COLUMN
    Part Number: 941-3023
      Special Order
    $13.01
  • 2
    HUB – Part Number: IH-394034-R32
    HUB
    Part Number: IH-394034-R32
      Special Order
    $176.79
  • 3
    SPRING-COMPRESSION – Part Number: 932-3012
    SPRING-COMPRESSION
    Part Number: 932-3012
      Special Order
    $11.06
  • 3
    PIN – Part Number: IH-19837-R2
    PIN
    Part Number: IH-19837-R2
      Special Order
    $13.88
  • 3
    CONTROL-CHOKE – Part Number: IH-401439-R93
    CONTROL-CHOKE
    Part Number: IH-401439-R93
      Special Order
    $80.96
  • 3
    BEARING – Part Number: SU-9001370-0003
    BEARING
    Part Number: SU-9001370-0003
      Special Order
    $189.62
  • 4
    Ball Joint Assembly – Part Number: 923-3000
    Ball Joint Assembly
    Part Number: 923-3000
      In Stock
    $33.88
  • 4
    ARM-COUPLING – Part Number: 759-3009
    ARM-COUPLING
    Part Number: 759-3009
      Special Order
    $146.62
  • 4
    OIL SEAL – Part Number: 921-3032
    OIL SEAL
    Part Number: 921-3032
    ★★★★★
    ★★★★★
    (1)
      Special Order
    $27.31
  • 4
    SPRING-COMPRESSION – Part Number: 932-3013
    SPRING-COMPRESSION
    Part Number: 932-3013
      Special Order
    $11.35
  • 5
    Cotter Pin – Part Number: 714-3020
    Cotter Pin
    Part Number: 714-3020
      Special Order
    Minimum Quantity of 2 required
    $6.16
  • 5
    SPRING GUIDE PIN – Part Number: 711-3033
    SPRING GUIDE PIN
    Part Number: 711-3033
      In Stock
    $24.57
  • 5
    GASKET-AXLE CARRIE – Part Number: 721P3014
    GASKET-AXLE CARRIE
    Part Number: 721P3014
      On Order
    $21.09
  • 5
    FAN – Part Number: IH-547749-R2
    FAN
    Part Number: IH-547749-R2
    ★★★★★
    ★★★★★
    (1)
      Special Order
    $36.11
  • 6
    Fuel Shut-Off – Part Number: 951-3015
    Fuel Shut-Off
    Part Number: 951-3015
      Special Order
    $48.15
  • 7
    SPRING-LIFT HDLE – Part Number: 932-3005
    SPRING-LIFT HDLE
    Part Number: 932-3005
      On Order
    $13.84
  • 7
    BUMPER – Part Number: IH-128509-H1
    BUMPER
    Part Number: IH-128509-H1
      Special Order
    $7.48
  • 7
    KNUCKLE-RH STEERIN – Part Number: IH-544217-R1
    KNUCKLE-RH STEERIN
    Part Number: IH-544217-R1
      Special Order
    $407.36
  • 8
    BUSHING – Part Number: IH-394048-R1
    BUSHING
    Part Number: IH-394048-R1
      Special Order
    $42.03
  • 9
    Bolt-hex – Part Number: 710-3020
    Bolt-hex
    Part Number: 710-3020
      No Longer Available
  • 9
    SPRING-LIFT HDLE – Part Number: 932-3005
    SPRING-LIFT HDLE
    Part Number: 932-3005
      On Order
    $13.84
  • 10
    Ring, Retaining – Part Number: 716-0865
    Ring, Retaining
    Part Number: 716-0865
      In Stock
    $6.99
  • 10
    PAD-BRAKE & CLUTCH – Part Number: 924-3000
    PAD-BRAKE & CLUTCH
    Part Number: 924-3000
      Special Order
    $31.21
  • 10
    RETAINER/BALL ASSY – Part Number: 941-3021
    RETAINER/BALL ASSY
    Part Number: 941-3021
      Special Order
    $53.99
  • 11
    Connector-swivel tube 37 degree – Part Number: 927-3002
    Connector-swivel tube 37 degree
    Part Number: 927-3002
      Special Order
    $19.75
  • 12
    Ring-o-3/8 od tube – Part Number: 721-3001
    Ring-o-3/8 od tube
    Part Number: 721-3001
      Special Order
    $6.16
  • 12
    Ball Joint Assembly – Part Number: 923-3000
    Ball Joint Assembly
    Part Number: 923-3000
      In Stock
    $33.88
  • 12
    Case Assy, Transmission – Part Number: IH-394081-R91
    Case Assy, Transmission
    Part Number: IH-394081-R91
      No Longer Available
  • 12
    HINGE – Part Number: IH-545508-R2
    HINGE
    Part Number: IH-545508-R2
      Special Order
    $34.27
  • 13
    Harness Retainer – Part Number: 726-0272
    Harness Retainer
    Part Number: 726-0272
      Special Order
    $11.31
  • 13
    SPRING-EXTENSION – Part Number: 932-3015
    SPRING-EXTENSION
    Part Number: 932-3015
      Special Order
    $19.44
  • 13
    STATOR-BRAKE – Part Number: IH-548122-R2
    STATOR-BRAKE
    Part Number: IH-548122-R2
      Special Order
    $101.64
  • 14
    BUTTON – Part Number: IH-59982-C1
    BUTTON
    Part Number: IH-59982-C1
      Special Order
    $33.42
  • 15
    Gear assy-steering – Part Number: 703-1085
    Gear assy-steering
    Part Number: 703-1085
      No Longer Available
  • 15
    Fitting-90 deg hyd – Part Number: 727-3012
    Fitting-90 deg hyd
    Part Number: 727-3012
      Special Order
    $38.50
  • 15
    CLEVIS-ADJ ROD END – Part Number: 719-3018
    CLEVIS-ADJ ROD END
    Part Number: 719-3018
      Special Order
    $62.50
  • 15
    SPRING – Part Number: IH-391347-R2
    SPRING
    Part Number: IH-391347-R2
      Special Order
    $25.59
  • 15
    SPRING – Part Number: IH-543969-R1
    SPRING
    Part Number: IH-543969-R1
      Special Order
    $40.86
  • 16
    Ring-o-3/8 od tube – Part Number: 721-3001
    Ring-o-3/8 od tube
    Part Number: 721-3001
      Special Order
    $6.16
  • 16
    RETAINER/BALL ASSY – Part Number: 941-3021
    RETAINER/BALL ASSY
    Part Number: 941-3021
      Special Order
    $53.99
  • 16
    RING NAN-206 – Part Number: IH-473475-R1
    RING NAN-206
    Part Number: IH-473475-R1
      Special Order
    $16.35
  • 18
    GASKET – Part Number: IH-350837-R3
    GASKET
    Part Number: IH-350837-R3
      Special Order
    $42.63
  • 18
    STATOR-BRAKE – Part Number: IH-548122-R2
    STATOR-BRAKE
    Part Number: IH-548122-R2
      Special Order
    $101.64
  • 23
    GASKET – Part Number: 921-3004
    GASKET
    Part Number: 921-3004
      On Order
    $16.97
  • 23
    NUT, 1/4-28 HEX JAM – Part Number: IH-25930-R2
    NUT, 1/4-28 HEX JAM
    Part Number: IH-25930-R2
      Special Order
    $7.04
  • 24
    BEARING – Part Number: IH-ST436P
    BEARING
    Part Number: IH-ST436P
      Special Order
    $121.78
  • 25
    SWITCH-NEUTRAL STA – Part Number: 925-3038
    SWITCH-NEUTRAL STA
    Part Number: 925-3038
      On Order
    $103.68
  • 26
    SWITCH-IGNITION – Part Number: IH-60736-C3
    SWITCH-IGNITION
    Part Number: IH-60736-C3
      Special Order
    $115.63
  • 27
    KEY-IGNITION – Part Number: IH-131313-C2
    KEY-IGNITION
    Part Number: IH-131313-C2
      Special Order
    $19.44
  • 28
    WASHER – Part Number: IH-375431-R1
    WASHER
    Part Number: IH-375431-R1
      Special Order
    $18.85
  • 28
    PIPE – Part Number: SU-3101069
    PIPE
    Part Number: SU-3101069
      Special Order
    $58.70
  • 29
    NUT – Part Number: IH-365502-R1
    NUT
    Part Number: IH-365502-R1
      Special Order
    $18.11
  • 30
    SCREW – Part Number: IH-59980-C1
    SCREW
    Part Number: IH-59980-C1
      Special Order
    $6.16
  • 31
    SHOE-PTO BRAKE – Part Number: IH-59973-C1
    SHOE-PTO BRAKE
    Part Number: IH-59973-C1
      Special Order
    $184.92
  • 34
    PLUG ASM – Part Number: SU-4800323
    PLUG ASM
    Part Number: SU-4800323
      Special Order
    $51.69
  • 35
    Oil Filter – Part Number: 923-3014
    Oil Filter
    Part Number: 923-3014
      In Stock
    $23.78
  • 37
    VALVE ASSY – Part Number: SU-9500085P
    VALVE ASSY
    Part Number: SU-9500085P
      Special Order
    $571.20
  • 47
    OIL SEAL – Part Number: 921-3032
    OIL SEAL
    Part Number: 921-3032
    ★★★★★
    ★★★★★
    (1)
      Special Order
    $27.31
  • 48
    SHIM .014 – Part Number: 717-3099
    SHIM .014
    Part Number: 717-3099
      Special Order
    $53.83
  • 49
    PULLEY – Part Number: KH-231591
    PULLEY
    Part Number: KH-231591
      Special Order
    $297.40
  • 50
    DISC-FLEX COUPLING – Part Number: IH-376257-R3
    DISC-FLEX COUPLING
    Part Number: IH-376257-R3
      Special Order
    $62.97
  • 52
    CUP ASSEMBLY – Part Number: KH-41-071-03
    CUP ASSEMBLY
    Part Number: KH-41-071-03
      Special Order
    $195.55
  • 102
    POINTS-BREAKER – Part Number: KH-47-150-03
    POINTS-BREAKER
    Part Number: KH-47-150-03
      Special Order
    $32.28
  • 113
    BELT 3/8 X 31 11/1 – Part Number: IH-401960-R1
    BELT 3/8 X 31 11/1
    Part Number: IH-401960-R1
      Special Order
    $28.62
Control Valve Part 1
Control Valve Part 1 Diagram and Parts List for 2050048U Cub Cadet Lawn Tractor
  • 1
    ROD-ASSY DRIVE – Part Number: IH-545511-R1
    ROD-ASSY DRIVE
    Part Number: IH-545511-R1
      Special Order
    $152.31
  • 1
    PLATE ASSY-DAMPER – Part Number: 903-0194
    PLATE ASSY-DAMPER
    Part Number: 903-0194
      Special Order
    $154.42
  • 2
    HUB – Part Number: IH-394034-R32
    HUB
    Part Number: IH-394034-R32
      Special Order
    $176.79
  • 2
    BEARING-COLUMN – Part Number: 941-3023
    BEARING-COLUMN
    Part Number: 941-3023
      Special Order
    $13.01
  • 2
    BOLT-WHEEL – Part Number: 710-3027
    BOLT-WHEEL
    Part Number: 710-3027
      Special Order
    $37.56
  • 3
    BEARING – Part Number: SU-9001370-0003
    BEARING
    Part Number: SU-9001370-0003
      Special Order
    $189.62
  • 3
    CONTROL-CHOKE – Part Number: IH-401439-R93
    CONTROL-CHOKE
    Part Number: IH-401439-R93
      Special Order
    $80.96
  • 3
    PIN – Part Number: IH-19837-R2
    PIN
    Part Number: IH-19837-R2
      Special Order
    $13.88
  • 3
    SPRING-COMPRESSION – Part Number: 932-3012
    SPRING-COMPRESSION
    Part Number: 932-3012
      Special Order
    $11.06
  • 4
    SPRING-COMPRESSION – Part Number: 932-3013
    SPRING-COMPRESSION
    Part Number: 932-3013
      Special Order
    $11.35
  • 4
    OIL SEAL – Part Number: 921-3032
    OIL SEAL
    Part Number: 921-3032
    ★★★★★
    ★★★★★
    (1)
      Special Order
    $27.31
  • 4
    ARM-COUPLING – Part Number: 759-3009
    ARM-COUPLING
    Part Number: 759-3009
      Special Order
    $146.62
  • 4
    Ball Joint Assembly – Part Number: 923-3000
    Ball Joint Assembly
    Part Number: 923-3000
      In Stock
    $33.88
  • 5
    FAN – Part Number: IH-547749-R2
    FAN
    Part Number: IH-547749-R2
    ★★★★★
    ★★★★★
    (1)
      Special Order
    $36.11
  • 5
    GASKET-AXLE CARRIE – Part Number: 721P3014
    GASKET-AXLE CARRIE
    Part Number: 721P3014
      On Order
    $21.09
  • 5
    SPRING GUIDE PIN – Part Number: 711-3033
    SPRING GUIDE PIN
    Part Number: 711-3033
      In Stock
    $24.57
  • 5
    Cotter Pin – Part Number: 714-3020
    Cotter Pin
    Part Number: 714-3020
      Special Order
    Minimum Quantity of 2 required
    $6.16
  • 6
    Fuel Shut-Off – Part Number: 951-3015
    Fuel Shut-Off
    Part Number: 951-3015
      Special Order
    $48.15
  • 7
    KNUCKLE-RH STEERIN – Part Number: IH-544217-R1
    KNUCKLE-RH STEERIN
    Part Number: IH-544217-R1
      Special Order
    $407.36
  • 7
    BUMPER – Part Number: IH-128509-H1
    BUMPER
    Part Number: IH-128509-H1
      Special Order
    $7.48
  • 7
    SPRING-LIFT HDLE – Part Number: 932-3005
    SPRING-LIFT HDLE
    Part Number: 932-3005
      On Order
    $13.84
  • 8
    BUSHING – Part Number: IH-394048-R1
    BUSHING
    Part Number: IH-394048-R1
      Special Order
    $42.03
  • 9
    SPRING-LIFT HDLE – Part Number: 932-3005
    SPRING-LIFT HDLE
    Part Number: 932-3005
      On Order
    $13.84
  • 9
    Bolt-hex – Part Number: 710-3020
    Bolt-hex
    Part Number: 710-3020
      No Longer Available
  • 10
    RETAINER/BALL ASSY – Part Number: 941-3021
    RETAINER/BALL ASSY
    Part Number: 941-3021
      Special Order
    $53.99
  • 10
    PAD-BRAKE & CLUTCH – Part Number: 924-3000
    PAD-BRAKE & CLUTCH
    Part Number: 924-3000
      Special Order
    $31.21
  • 10
    Ring, Retaining – Part Number: 716-0865
    Ring, Retaining
    Part Number: 716-0865
      In Stock
    $6.99
  • 11
    Connector-swivel tube 37 degree – Part Number: 927-3002
    Connector-swivel tube 37 degree
    Part Number: 927-3002
      Special Order
    $19.75
  • 12
    HINGE – Part Number: IH-545508-R2
    HINGE
    Part Number: IH-545508-R2
      Special Order
    $34.27
  • 12
    Case Assy, Transmission – Part Number: IH-394081-R91
    Case Assy, Transmission
    Part Number: IH-394081-R91
      No Longer Available
  • 12
    Ball Joint Assembly – Part Number: 923-3000
    Ball Joint Assembly
    Part Number: 923-3000
      In Stock
    $33.88
  • 12
    Ring-o-3/8 od tube – Part Number: 721-3001
    Ring-o-3/8 od tube
    Part Number: 721-3001
      Special Order
    $6.16
  • 13
    STATOR-BRAKE – Part Number: IH-548122-R2
    STATOR-BRAKE
    Part Number: IH-548122-R2
      Special Order
    $101.64
  • 13
    SPRING-EXTENSION – Part Number: 932-3015
    SPRING-EXTENSION
    Part Number: 932-3015
      Special Order
    $19.44
  • 13
    Harness Retainer – Part Number: 726-0272
    Harness Retainer
    Part Number: 726-0272
      Special Order
    $11.31
  • 14
    BUTTON – Part Number: IH-59982-C1
    BUTTON
    Part Number: IH-59982-C1
      Special Order
    $33.42
  • 15
    SPRING – Part Number: IH-543969-R1
    SPRING
    Part Number: IH-543969-R1
      Special Order
    $40.86
  • 15
    SPRING – Part Number: IH-391347-R2
    SPRING
    Part Number: IH-391347-R2
      Special Order
    $25.59
  • 15
    CLEVIS-ADJ ROD END – Part Number: 719-3018
    CLEVIS-ADJ ROD END
    Part Number: 719-3018
      Special Order
    $62.50
  • 15
    Fitting-90 deg hyd – Part Number: 727-3012
    Fitting-90 deg hyd
    Part Number: 727-3012
      Special Order
    $38.50
  • 15
    Gear assy-steering – Part Number: 703-1085
    Gear assy-steering
    Part Number: 703-1085
      No Longer Available
  • 16
    RING NAN-206 – Part Number: IH-473475-R1
    RING NAN-206
    Part Number: IH-473475-R1
      Special Order
    $16.35
  • 16
    RETAINER/BALL ASSY – Part Number: 941-3021
    RETAINER/BALL ASSY
    Part Number: 941-3021
      Special Order
    $53.99
  • 16
    Ring-o-3/8 od tube – Part Number: 721-3001
    Ring-o-3/8 od tube
    Part Number: 721-3001
      Special Order
    $6.16
  • 18
    STATOR-BRAKE – Part Number: IH-548122-R2
    STATOR-BRAKE
    Part Number: IH-548122-R2
      Special Order
    $101.64
  • 18
    GASKET – Part Number: IH-350837-R3
    GASKET
    Part Number: IH-350837-R3
      Special Order
    $42.63
  • 23
    NUT, 1/4-28 HEX JAM – Part Number: IH-25930-R2
    NUT, 1/4-28 HEX JAM
    Part Number: IH-25930-R2
      Special Order
    $7.04
  • 23
    GASKET – Part Number: 921-3004
    GASKET
    Part Number: 921-3004
      On Order
    $16.97
  • 24
    BEARING – Part Number: IH-ST436P
    BEARING
    Part Number: IH-ST436P
      Special Order
    $121.78
  • 25
    SWITCH-NEUTRAL STA – Part Number: 925-3038
    SWITCH-NEUTRAL STA
    Part Number: 925-3038
      On Order
    $103.68
  • 26
    SWITCH-IGNITION – Part Number: IH-60736-C3
    SWITCH-IGNITION
    Part Number: IH-60736-C3
      Special Order
    $115.63
  • 27
    KEY-IGNITION – Part Number: IH-131313-C2
    KEY-IGNITION
    Part Number: IH-131313-C2
      Special Order
    $19.44
  • 28
    PIPE – Part Number: SU-3101069
    PIPE
    Part Number: SU-3101069
      Special Order
    $58.70
  • 28
    WASHER – Part Number: IH-375431-R1
    WASHER
    Part Number: IH-375431-R1
      Special Order
    $18.85
  • 29
    NUT – Part Number: IH-365502-R1
    NUT
    Part Number: IH-365502-R1
      Special Order
    $18.11
  • 30
    SCREW – Part Number: IH-59980-C1
    SCREW
    Part Number: IH-59980-C1
      Special Order
    $6.16
  • 31
    SHOE-PTO BRAKE – Part Number: IH-59973-C1
    SHOE-PTO BRAKE
    Part Number: IH-59973-C1
      Special Order
    $184.92
  • 34
    PLUG ASM – Part Number: SU-4800323
    PLUG ASM
    Part Number: SU-4800323
      Special Order
    $51.69
  • 35
    Oil Filter – Part Number: 923-3014
    Oil Filter
    Part Number: 923-3014
      In Stock
    $23.78
  • 37
    VALVE ASSY – Part Number: SU-9500085P
    VALVE ASSY
    Part Number: SU-9500085P
      Special Order
    $571.20
  • 47
    OIL SEAL – Part Number: 921-3032
    OIL SEAL
    Part Number: 921-3032
    ★★★★★
    ★★★★★
    (1)
      Special Order
    $27.31
  • 48
    SHIM .014 – Part Number: 717-3099
    SHIM .014
    Part Number: 717-3099
      Special Order
    $53.83
  • 49
    PULLEY – Part Number: KH-231591
    PULLEY
    Part Number: KH-231591
      Special Order
    $297.40
  • 50
    DISC-FLEX COUPLING – Part Number: IH-376257-R3
    DISC-FLEX COUPLING
    Part Number: IH-376257-R3
      Special Order
    $62.97
  • 52
    CUP ASSEMBLY – Part Number: KH-41-071-03
    CUP ASSEMBLY
    Part Number: KH-41-071-03
      Special Order
    $195.55
  • 102
    POINTS-BREAKER – Part Number: KH-47-150-03
    POINTS-BREAKER
    Part Number: KH-47-150-03
      Special Order
    $32.28
  • 113
    BELT 3/8 X 31 11/1 – Part Number: IH-401960-R1
    BELT 3/8 X 31 11/1
    Part Number: IH-401960-R1
      Special Order
    $28.62
Control Valve Part 2
Control Valve Part 2 Diagram and Parts List for 2050048U Cub Cadet Lawn Tractor
  • 1
    PLATE ASSY-DAMPER – Part Number: 903-0194
    PLATE ASSY-DAMPER
    Part Number: 903-0194
      Special Order
    $154.42
  • 1
    ROD-ASSY DRIVE – Part Number: IH-545511-R1
    ROD-ASSY DRIVE
    Part Number: IH-545511-R1
      Special Order
    $152.31
  • 2
    BOLT-WHEEL – Part Number: 710-3027
    BOLT-WHEEL
    Part Number: 710-3027
      Special Order
    $37.56
  • 2
    BEARING-COLUMN – Part Number: 941-3023
    BEARING-COLUMN
    Part Number: 941-3023
      Special Order
    $13.01
  • 2
    HUB – Part Number: IH-394034-R32
    HUB
    Part Number: IH-394034-R32
      Special Order
    $176.79
  • 3
    SPRING-COMPRESSION – Part Number: 932-3012
    SPRING-COMPRESSION
    Part Number: 932-3012
      Special Order
    $11.06
  • 3
    PIN – Part Number: IH-19837-R2
    PIN
    Part Number: IH-19837-R2
      Special Order
    $13.88
  • 3
    CONTROL-CHOKE – Part Number: IH-401439-R93
    CONTROL-CHOKE
    Part Number: IH-401439-R93
      Special Order
    $80.96
  • 3
    BEARING – Part Number: SU-9001370-0003
    BEARING
    Part Number: SU-9001370-0003
      Special Order
    $189.62
  • 4
    Ball Joint Assembly – Part Number: 923-3000
    Ball Joint Assembly
    Part Number: 923-3000
      In Stock
    $33.88
  • 4
    ARM-COUPLING – Part Number: 759-3009
    ARM-COUPLING
    Part Number: 759-3009
      Special Order
    $146.62
  • 4
    OIL SEAL – Part Number: 921-3032
    OIL SEAL
    Part Number: 921-3032
    ★★★★★
    ★★★★★
    (1)
      Special Order
    $27.31
  • 4
    SPRING-COMPRESSION – Part Number: 932-3013
    SPRING-COMPRESSION
    Part Number: 932-3013
      Special Order
    $11.35
  • 5
    Cotter Pin – Part Number: 714-3020
    Cotter Pin
    Part Number: 714-3020
      Special Order
    Minimum Quantity of 2 required
    $6.16
  • 5
    SPRING GUIDE PIN – Part Number: 711-3033
    SPRING GUIDE PIN
    Part Number: 711-3033
      In Stock
    $24.57
  • 5
    GASKET-AXLE CARRIE – Part Number: 721P3014
    GASKET-AXLE CARRIE
    Part Number: 721P3014
      On Order
    $21.09
  • 5
    FAN – Part Number: IH-547749-R2
    FAN
    Part Number: IH-547749-R2
    ★★★★★
    ★★★★★
    (1)
      Special Order
    $36.11
  • 6
    Fuel Shut-Off – Part Number: 951-3015
    Fuel Shut-Off
    Part Number: 951-3015
      Special Order
    $48.15
  • 7
    SPRING-LIFT HDLE – Part Number: 932-3005
    SPRING-LIFT HDLE
    Part Number: 932-3005
      On Order
    $13.84
  • 7
    BUMPER – Part Number: IH-128509-H1
    BUMPER
    Part Number: IH-128509-H1
      Special Order
    $7.48
  • 7
    KNUCKLE-RH STEERIN – Part Number: IH-544217-R1
    KNUCKLE-RH STEERIN
    Part Number: IH-544217-R1
      Special Order
    $407.36
  • 8
    BUSHING – Part Number: IH-394048-R1
    BUSHING
    Part Number: IH-394048-R1
      Special Order
    $42.03
  • 9
    Bolt-hex – Part Number: 710-3020
    Bolt-hex
    Part Number: 710-3020
      No Longer Available
  • 9
    SPRING-LIFT HDLE – Part Number: 932-3005
    SPRING-LIFT HDLE
    Part Number: 932-3005
      On Order
    $13.84
  • 10
    Ring, Retaining – Part Number: 716-0865
    Ring, Retaining
    Part Number: 716-0865
      In Stock
    $6.99
  • 10
    PAD-BRAKE & CLUTCH – Part Number: 924-3000
    PAD-BRAKE & CLUTCH
    Part Number: 924-3000
      Special Order
    $31.21
  • 10
    RETAINER/BALL ASSY – Part Number: 941-3021
    RETAINER/BALL ASSY
    Part Number: 941-3021
      Special Order
    $53.99
  • 11
    Connector-swivel tube 37 degree – Part Number: 927-3002
    Connector-swivel tube 37 degree
    Part Number: 927-3002
      Special Order
    $19.75
  • 12
    Ring-o-3/8 od tube – Part Number: 721-3001
    Ring-o-3/8 od tube
    Part Number: 721-3001
      Special Order
    $6.16
  • 12
    Ball Joint Assembly – Part Number: 923-3000
    Ball Joint Assembly
    Part Number: 923-3000
      In Stock
    $33.88
  • 12
    Case Assy, Transmission – Part Number: IH-394081-R91
    Case Assy, Transmission
    Part Number: IH-394081-R91
      No Longer Available
  • 12
    HINGE – Part Number: IH-545508-R2
    HINGE
    Part Number: IH-545508-R2
      Special Order
    $34.27
  • 13
    Harness Retainer – Part Number: 726-0272
    Harness Retainer
    Part Number: 726-0272
      Special Order
    $11.31
  • 13
    SPRING-EXTENSION – Part Number: 932-3015
    SPRING-EXTENSION
    Part Number: 932-3015
      Special Order
    $19.44
  • 13
    STATOR-BRAKE – Part Number: IH-548122-R2
    STATOR-BRAKE
    Part Number: IH-548122-R2
      Special Order
    $101.64
  • 14
    BUTTON – Part Number: IH-59982-C1
    BUTTON
    Part Number: IH-59982-C1
      Special Order
    $33.42
  • 15
    Gear assy-steering – Part Number: 703-1085
    Gear assy-steering
    Part Number: 703-1085
      No Longer Available
  • 15
    Fitting-90 deg hyd – Part Number: 727-3012
    Fitting-90 deg hyd
    Part Number: 727-3012
      Special Order
    $38.50
  • 15
    CLEVIS-ADJ ROD END – Part Number: 719-3018
    CLEVIS-ADJ ROD END
    Part Number: 719-3018
      Special Order
    $62.50
  • 15
    SPRING – Part Number: IH-391347-R2
    SPRING
    Part Number: IH-391347-R2
      Special Order
    $25.59
  • 15
    SPRING – Part Number: IH-543969-R1
    SPRING
    Part Number: IH-543969-R1
      Special Order
    $40.86
  • 16
    Ring-o-3/8 od tube – Part Number: 721-3001
    Ring-o-3/8 od tube
    Part Number: 721-3001
      Special Order
    $6.16
  • 16
    RETAINER/BALL ASSY – Part Number: 941-3021
    RETAINER/BALL ASSY
    Part Number: 941-3021
      Special Order
    $53.99
  • 16
    RING NAN-206 – Part Number: IH-473475-R1
    RING NAN-206
    Part Number: IH-473475-R1
      Special Order
    $16.35
  • 18
    GASKET – Part Number: IH-350837-R3
    GASKET
    Part Number: IH-350837-R3
      Special Order
    $42.63
  • 18
    STATOR-BRAKE – Part Number: IH-548122-R2
    STATOR-BRAKE
    Part Number: IH-548122-R2
      Special Order
    $101.64
  • 23
    GASKET – Part Number: 921-3004
    GASKET
    Part Number: 921-3004
      On Order
    $16.97
  • 23
    NUT, 1/4-28 HEX JAM – Part Number: IH-25930-R2
    NUT, 1/4-28 HEX JAM
    Part Number: IH-25930-R2
      Special Order
    $7.04
  • 24
    BEARING – Part Number: IH-ST436P
    BEARING
    Part Number: IH-ST436P
      Special Order
    $121.78
  • 25
    SWITCH-NEUTRAL STA – Part Number: 925-3038
    SWITCH-NEUTRAL STA
    Part Number: 925-3038
      On Order
    $103.68
  • 26
    SWITCH-IGNITION – Part Number: IH-60736-C3
    SWITCH-IGNITION
    Part Number: IH-60736-C3
      Special Order
    $115.63
  • 27
    KEY-IGNITION – Part Number: IH-131313-C2
    KEY-IGNITION
    Part Number: IH-131313-C2
      Special Order
    $19.44
  • 28
    WASHER – Part Number: IH-375431-R1
    WASHER
    Part Number: IH-375431-R1
      Special Order
    $18.85
  • 28
    PIPE – Part Number: SU-3101069
    PIPE
    Part Number: SU-3101069
      Special Order
    $58.70
  • 29
    NUT – Part Number: IH-365502-R1
    NUT
    Part Number: IH-365502-R1
      Special Order
    $18.11
  • 30
    SCREW – Part Number: IH-59980-C1
    SCREW
    Part Number: IH-59980-C1
      Special Order
    $6.16
  • 31
    SHOE-PTO BRAKE – Part Number: IH-59973-C1
    SHOE-PTO BRAKE
    Part Number: IH-59973-C1
      Special Order
    $184.92
  • 34
    PLUG ASM – Part Number: SU-4800323
    PLUG ASM
    Part Number: SU-4800323
      Special Order
    $51.69
  • 35
    Oil Filter – Part Number: 923-3014
    Oil Filter
    Part Number: 923-3014
      In Stock
    $23.78
  • 37
    VALVE ASSY – Part Number: SU-9500085P
    VALVE ASSY
    Part Number: SU-9500085P
      Special Order
    $571.20
  • 47
    OIL SEAL – Part Number: 921-3032
    OIL SEAL
    Part Number: 921-3032
    ★★★★★
    ★★★★★
    (1)
      Special Order
    $27.31
  • 48
    SHIM .014 – Part Number: 717-3099
    SHIM .014
    Part Number: 717-3099
      Special Order
    $53.83
  • 49
    PULLEY – Part Number: KH-231591
    PULLEY
    Part Number: KH-231591
      Special Order
    $297.40
  • 50
    DISC-FLEX COUPLING – Part Number: IH-376257-R3
    DISC-FLEX COUPLING
    Part Number: IH-376257-R3
      Special Order
    $62.97
  • 52
    CUP ASSEMBLY – Part Number: KH-41-071-03
    CUP ASSEMBLY
    Part Number: KH-41-071-03
      Special Order
    $195.55
  • 102
    POINTS-BREAKER – Part Number: KH-47-150-03
    POINTS-BREAKER
    Part Number: KH-47-150-03
      Special Order
    $32.28
  • 113
    BELT 3/8 X 31 11/1 – Part Number: IH-401960-R1
    BELT 3/8 X 31 11/1
    Part Number: IH-401960-R1
      Special Order
    $28.62
Engine Controls & Instrument Panel
Engine Controls & Instrument Panel Diagram and Parts List for 2050048U Cub Cadet Lawn Tractor
  • 1
    ROD-ASSY DRIVE – Part Number: IH-545511-R1
    ROD-ASSY DRIVE
    Part Number: IH-545511-R1
      Special Order
    $152.31
  • 1
    PLATE ASSY-DAMPER – Part Number: 903-0194
    PLATE ASSY-DAMPER
    Part Number: 903-0194
      Special Order
    $154.42
  • 2
    HUB – Part Number: IH-394034-R32
    HUB
    Part Number: IH-394034-R32
      Special Order
    $176.79
  • 2
    BEARING-COLUMN – Part Number: 941-3023
    BEARING-COLUMN
    Part Number: 941-3023
      Special Order
    $13.01
  • 2
    BOLT-WHEEL – Part Number: 710-3027
    BOLT-WHEEL
    Part Number: 710-3027
      Special Order
    $37.56
  • 3
    BEARING – Part Number: SU-9001370-0003
    BEARING
    Part Number: SU-9001370-0003
      Special Order
    $189.62
  • 3
    CONTROL-CHOKE – Part Number: IH-401439-R93
    CONTROL-CHOKE
    Part Number: IH-401439-R93
      Special Order
    $80.96
  • 3
    PIN – Part Number: IH-19837-R2
    PIN
    Part Number: IH-19837-R2
      Special Order
    $13.88
  • 3
    SPRING-COMPRESSION – Part Number: 932-3012
    SPRING-COMPRESSION
    Part Number: 932-3012
      Special Order
    $11.06
  • 4
    SPRING-COMPRESSION – Part Number: 932-3013
    SPRING-COMPRESSION
    Part Number: 932-3013
      Special Order
    $11.35
  • 4
    OIL SEAL – Part Number: 921-3032
    OIL SEAL
    Part Number: 921-3032
    ★★★★★
    ★★★★★
    (1)
      Special Order
    $27.31
  • 4
    ARM-COUPLING – Part Number: 759-3009
    ARM-COUPLING
    Part Number: 759-3009
      Special Order
    $146.62
  • 4
    Ball Joint Assembly – Part Number: 923-3000
    Ball Joint Assembly
    Part Number: 923-3000
      In Stock
    $33.88
  • 5
    FAN – Part Number: IH-547749-R2
    FAN
    Part Number: IH-547749-R2
    ★★★★★
    ★★★★★
    (1)
      Special Order
    $36.11
  • 5
    GASKET-AXLE CARRIE – Part Number: 721P3014
    GASKET-AXLE CARRIE
    Part Number: 721P3014
      On Order
    $21.09
  • 5
    SPRING GUIDE PIN – Part Number: 711-3033
    SPRING GUIDE PIN
    Part Number: 711-3033
      In Stock
    $24.57
  • 5
    Cotter Pin – Part Number: 714-3020
    Cotter Pin
    Part Number: 714-3020
      Special Order
    Minimum Quantity of 2 required
    $6.16
  • 6
    Fuel Shut-Off – Part Number: 951-3015
    Fuel Shut-Off
    Part Number: 951-3015
      Special Order
    $48.15
  • 7
    KNUCKLE-RH STEERIN – Part Number: IH-544217-R1
    KNUCKLE-RH STEERIN
    Part Number: IH-544217-R1
      Special Order
    $407.36
  • 7
    BUMPER – Part Number: IH-128509-H1
    BUMPER
    Part Number: IH-128509-H1
      Special Order
    $7.48
  • 7
    SPRING-LIFT HDLE – Part Number: 932-3005
    SPRING-LIFT HDLE
    Part Number: 932-3005
      On Order
    $13.84
  • 8
    BUSHING – Part Number: IH-394048-R1
    BUSHING
    Part Number: IH-394048-R1
      Special Order
    $42.03
  • 9
    SPRING-LIFT HDLE – Part Number: 932-3005
    SPRING-LIFT HDLE
    Part Number: 932-3005
      On Order
    $13.84
  • 9
    Bolt-hex – Part Number: 710-3020
    Bolt-hex
    Part Number: 710-3020
      No Longer Available
  • 10
    RETAINER/BALL ASSY – Part Number: 941-3021
    RETAINER/BALL ASSY
    Part Number: 941-3021
      Special Order
    $53.99
  • 10
    PAD-BRAKE & CLUTCH – Part Number: 924-3000
    PAD-BRAKE & CLUTCH
    Part Number: 924-3000
      Special Order
    $31.21
  • 10
    Ring, Retaining – Part Number: 716-0865
    Ring, Retaining
    Part Number: 716-0865
      In Stock
    $6.99
  • 11
    Connector-swivel tube 37 degree – Part Number: 927-3002
    Connector-swivel tube 37 degree
    Part Number: 927-3002
      Special Order
    $19.75
  • 12
    HINGE – Part Number: IH-545508-R2
    HINGE
    Part Number: IH-545508-R2
      Special Order
    $34.27
  • 12
    Case Assy, Transmission – Part Number: IH-394081-R91
    Case Assy, Transmission
    Part Number: IH-394081-R91
      No Longer Available
  • 12
    Ball Joint Assembly – Part Number: 923-3000
    Ball Joint Assembly
    Part Number: 923-3000
      In Stock
    $33.88
  • 12
    Ring-o-3/8 od tube – Part Number: 721-3001
    Ring-o-3/8 od tube
    Part Number: 721-3001
      Special Order
    $6.16
  • 13
    STATOR-BRAKE – Part Number: IH-548122-R2
    STATOR-BRAKE
    Part Number: IH-548122-R2
      Special Order
    $101.64
  • 13
    SPRING-EXTENSION – Part Number: 932-3015
    SPRING-EXTENSION
    Part Number: 932-3015
      Special Order
    $19.44
  • 13
    Harness Retainer – Part Number: 726-0272
    Harness Retainer
    Part Number: 726-0272
      Special Order
    $11.31
  • 14
    BUTTON – Part Number: IH-59982-C1
    BUTTON
    Part Number: IH-59982-C1
      Special Order
    $33.42
  • 15
    SPRING – Part Number: IH-543969-R1
    SPRING
    Part Number: IH-543969-R1
      Special Order
    $40.86
  • 15
    SPRING – Part Number: IH-391347-R2
    SPRING
    Part Number: IH-391347-R2
      Special Order
    $25.59
  • 15
    CLEVIS-ADJ ROD END – Part Number: 719-3018
    CLEVIS-ADJ ROD END
    Part Number: 719-3018
      Special Order
    $62.50
  • 15
    Fitting-90 deg hyd – Part Number: 727-3012
    Fitting-90 deg hyd
    Part Number: 727-3012
      Special Order
    $38.50
  • 15
    Gear assy-steering – Part Number: 703-1085
    Gear assy-steering
    Part Number: 703-1085
      No Longer Available
  • 16
    RING NAN-206 – Part Number: IH-473475-R1
    RING NAN-206
    Part Number: IH-473475-R1
      Special Order
    $16.35
  • 16
    RETAINER/BALL ASSY – Part Number: 941-3021
    RETAINER/BALL ASSY
    Part Number: 941-3021
      Special Order
    $53.99
  • 16
    Ring-o-3/8 od tube – Part Number: 721-3001
    Ring-o-3/8 od tube
    Part Number: 721-3001
      Special Order
    $6.16
  • 18
    STATOR-BRAKE – Part Number: IH-548122-R2
    STATOR-BRAKE
    Part Number: IH-548122-R2
      Special Order
    $101.64
  • 18
    GASKET – Part Number: IH-350837-R3
    GASKET
    Part Number: IH-350837-R3
      Special Order
    $42.63
  • 23
    NUT, 1/4-28 HEX JAM – Part Number: IH-25930-R2
    NUT, 1/4-28 HEX JAM
    Part Number: IH-25930-R2
      Special Order
    $7.04
  • 23
    GASKET – Part Number: 921-3004
    GASKET
    Part Number: 921-3004
      On Order
    $16.97
  • 24
    BEARING – Part Number: IH-ST436P
    BEARING
    Part Number: IH-ST436P
      Special Order
    $121.78
  • 25
    SWITCH-NEUTRAL STA – Part Number: 925-3038
    SWITCH-NEUTRAL STA
    Part Number: 925-3038
      On Order
    $103.68
  • 26
    SWITCH-IGNITION – Part Number: IH-60736-C3
    SWITCH-IGNITION
    Part Number: IH-60736-C3
      Special Order
    $115.63
  • 27
    KEY-IGNITION – Part Number: IH-131313-C2
    KEY-IGNITION
    Part Number: IH-131313-C2
      Special Order
    $19.44
  • 28
    PIPE – Part Number: SU-3101069
    PIPE
    Part Number: SU-3101069
      Special Order
    $58.70
  • 28
    WASHER – Part Number: IH-375431-R1
    WASHER
    Part Number: IH-375431-R1
      Special Order
    $18.85
  • 29
    NUT – Part Number: IH-365502-R1
    NUT
    Part Number: IH-365502-R1
      Special Order
    $18.11
  • 30
    SCREW – Part Number: IH-59980-C1
    SCREW
    Part Number: IH-59980-C1
      Special Order
    $6.16
  • 31
    SHOE-PTO BRAKE – Part Number: IH-59973-C1
    SHOE-PTO BRAKE
    Part Number: IH-59973-C1
      Special Order
    $184.92
  • 34
    PLUG ASM – Part Number: SU-4800323
    PLUG ASM
    Part Number: SU-4800323
      Special Order
    $51.69
  • 35
    Oil Filter – Part Number: 923-3014
    Oil Filter
    Part Number: 923-3014
      In Stock
    $23.78
  • 37
    VALVE ASSY – Part Number: SU-9500085P
    VALVE ASSY
    Part Number: SU-9500085P
      Special Order
    $571.20
  • 47
    OIL SEAL – Part Number: 921-3032
    OIL SEAL
    Part Number: 921-3032
    ★★★★★
    ★★★★★
    (1)
      Special Order
    $27.31
  • 48
    SHIM .014 – Part Number: 717-3099
    SHIM .014
    Part Number: 717-3099
      Special Order
    $53.83
  • 49
    PULLEY – Part Number: KH-231591
    PULLEY
    Part Number: KH-231591
      Special Order
    $297.40
  • 50
    DISC-FLEX COUPLING – Part Number: IH-376257-R3
    DISC-FLEX COUPLING
    Part Number: IH-376257-R3
      Special Order
    $62.97
  • 52
    CUP ASSEMBLY – Part Number: KH-41-071-03
    CUP ASSEMBLY
    Part Number: KH-41-071-03
      Special Order
    $195.55
  • 102
    POINTS-BREAKER – Part Number: KH-47-150-03
    POINTS-BREAKER
    Part Number: KH-47-150-03
      Special Order
    $32.28
  • 113
    BELT 3/8 X 31 11/1 – Part Number: IH-401960-R1
    BELT 3/8 X 31 11/1
    Part Number: IH-401960-R1
      Special Order
    $28.62
Engine Driven Power Take-Off
Engine Driven Power Take-Off Diagram and Parts List for 2050048U Cub Cadet Lawn Tractor
  • 1
    PLATE ASSY-DAMPER – Part Number: 903-0194
    PLATE ASSY-DAMPER
    Part Number: 903-0194
      Special Order
    $154.42
  • 1
    ROD-ASSY DRIVE – Part Number: IH-545511-R1
    ROD-ASSY DRIVE
    Part Number: IH-545511-R1
      Special Order
    $152.31
  • 2
    BOLT-WHEEL – Part Number: 710-3027
    BOLT-WHEEL
    Part Number: 710-3027
      Special Order
    $37.56
  • 2
    BEARING-COLUMN – Part Number: 941-3023
    BEARING-COLUMN
    Part Number: 941-3023
      Special Order
    $13.01
  • 2
    HUB – Part Number: IH-394034-R32
    HUB
    Part Number: IH-394034-R32
      Special Order
    $176.79
  • 3
    SPRING-COMPRESSION – Part Number: 932-3012
    SPRING-COMPRESSION
    Part Number: 932-3012
      Special Order
    $11.06
  • 3
    PIN – Part Number: IH-19837-R2
    PIN
    Part Number: IH-19837-R2
      Special Order
    $13.88
  • 3
    CONTROL-CHOKE – Part Number: IH-401439-R93
    CONTROL-CHOKE
    Part Number: IH-401439-R93
      Special Order
    $80.96
  • 3
    BEARING – Part Number: SU-9001370-0003
    BEARING
    Part Number: SU-9001370-0003
      Special Order
    $189.62
  • 4
    Ball Joint Assembly – Part Number: 923-3000
    Ball Joint Assembly
    Part Number: 923-3000
      In Stock
    $33.88
  • 4
    ARM-COUPLING – Part Number: 759-3009
    ARM-COUPLING
    Part Number: 759-3009
      Special Order
    $146.62
  • 4
    OIL SEAL – Part Number: 921-3032
    OIL SEAL
    Part Number: 921-3032
    ★★★★★
    ★★★★★
    (1)
      Special Order
    $27.31
  • 4
    SPRING-COMPRESSION – Part Number: 932-3013
    SPRING-COMPRESSION
    Part Number: 932-3013
      Special Order
    $11.35
  • 5
    Cotter Pin – Part Number: 714-3020
    Cotter Pin
    Part Number: 714-3020
      Special Order
    Minimum Quantity of 2 required
    $6.16
  • 5
    SPRING GUIDE PIN – Part Number: 711-3033
    SPRING GUIDE PIN
    Part Number: 711-3033
      In Stock
    $24.57
  • 5
    GASKET-AXLE CARRIE – Part Number: 721P3014
    GASKET-AXLE CARRIE
    Part Number: 721P3014
      On Order
    $21.09
  • 5
    FAN – Part Number: IH-547749-R2
    FAN
    Part Number: IH-547749-R2
    ★★★★★
    ★★★★★
    (1)
      Special Order
    $36.11
  • 6
    Fuel Shut-Off – Part Number: 951-3015
    Fuel Shut-Off
    Part Number: 951-3015
      Special Order
    $48.15
  • 7
    SPRING-LIFT HDLE – Part Number: 932-3005
    SPRING-LIFT HDLE
    Part Number: 932-3005
      On Order
    $13.84
  • 7
    BUMPER – Part Number: IH-128509-H1
    BUMPER
    Part Number: IH-128509-H1
      Special Order
    $7.48
  • 7
    KNUCKLE-RH STEERIN – Part Number: IH-544217-R1
    KNUCKLE-RH STEERIN
    Part Number: IH-544217-R1
      Special Order
    $407.36
  • 8
    BUSHING – Part Number: IH-394048-R1
    BUSHING
    Part Number: IH-394048-R1
      Special Order
    $42.03
  • 9
    Bolt-hex – Part Number: 710-3020
    Bolt-hex
    Part Number: 710-3020
      No Longer Available
  • 9
    SPRING-LIFT HDLE – Part Number: 932-3005
    SPRING-LIFT HDLE
    Part Number: 932-3005
      On Order
    $13.84
  • 10
    Ring, Retaining – Part Number: 716-0865
    Ring, Retaining
    Part Number: 716-0865
      In Stock
    $6.99
  • 10
    PAD-BRAKE & CLUTCH – Part Number: 924-3000
    PAD-BRAKE & CLUTCH
    Part Number: 924-3000
      Special Order
    $31.21
  • 10
    RETAINER/BALL ASSY – Part Number: 941-3021
    RETAINER/BALL ASSY
    Part Number: 941-3021
      Special Order
    $53.99
  • 11
    Connector-swivel tube 37 degree – Part Number: 927-3002
    Connector-swivel tube 37 degree
    Part Number: 927-3002
      Special Order
    $19.75
  • 12
    Ring-o-3/8 od tube – Part Number: 721-3001
    Ring-o-3/8 od tube
    Part Number: 721-3001
      Special Order
    $6.16
  • 12
    Ball Joint Assembly – Part Number: 923-3000
    Ball Joint Assembly
    Part Number: 923-3000
      In Stock
    $33.88
  • 12
    Case Assy, Transmission – Part Number: IH-394081-R91
    Case Assy, Transmission
    Part Number: IH-394081-R91
      No Longer Available
  • 12
    HINGE – Part Number: IH-545508-R2
    HINGE
    Part Number: IH-545508-R2
      Special Order
    $34.27
  • 13
    Harness Retainer – Part Number: 726-0272
    Harness Retainer
    Part Number: 726-0272
      Special Order
    $11.31
  • 13
    SPRING-EXTENSION – Part Number: 932-3015
    SPRING-EXTENSION
    Part Number: 932-3015
      Special Order
    $19.44
  • 13
    STATOR-BRAKE – Part Number: IH-548122-R2
    STATOR-BRAKE
    Part Number: IH-548122-R2
      Special Order
    $101.64
  • 14
    BUTTON – Part Number: IH-59982-C1
    BUTTON
    Part Number: IH-59982-C1
      Special Order
    $33.42
  • 15
    Gear assy-steering – Part Number: 703-1085
    Gear assy-steering
    Part Number: 703-1085
      No Longer Available
  • 15
    Fitting-90 deg hyd – Part Number: 727-3012
    Fitting-90 deg hyd
    Part Number: 727-3012
      Special Order
    $38.50
  • 15
    CLEVIS-ADJ ROD END – Part Number: 719-3018
    CLEVIS-ADJ ROD END
    Part Number: 719-3018
      Special Order
    $62.50
  • 15
    SPRING – Part Number: IH-391347-R2
    SPRING
    Part Number: IH-391347-R2
      Special Order
    $25.59
  • 15
    SPRING – Part Number: IH-543969-R1
    SPRING
    Part Number: IH-543969-R1
      Special Order
    $40.86
  • 16
    Ring-o-3/8 od tube – Part Number: 721-3001
    Ring-o-3/8 od tube
    Part Number: 721-3001
      Special Order
    $6.16
  • 16
    RETAINER/BALL ASSY – Part Number: 941-3021
    RETAINER/BALL ASSY
    Part Number: 941-3021
      Special Order
    $53.99
  • 16
    RING NAN-206 – Part Number: IH-473475-R1
    RING NAN-206
    Part Number: IH-473475-R1
      Special Order
    $16.35
  • 18
    GASKET – Part Number: IH-350837-R3
    GASKET
    Part Number: IH-350837-R3
      Special Order
    $42.63
  • 18
    STATOR-BRAKE – Part Number: IH-548122-R2
    STATOR-BRAKE
    Part Number: IH-548122-R2
      Special Order
    $101.64
  • 23
    GASKET – Part Number: 921-3004
    GASKET
    Part Number: 921-3004
      On Order
    $16.97
  • 23
    NUT, 1/4-28 HEX JAM – Part Number: IH-25930-R2
    NUT, 1/4-28 HEX JAM
    Part Number: IH-25930-R2
      Special Order
    $7.04
  • 24
    BEARING – Part Number: IH-ST436P
    BEARING
    Part Number: IH-ST436P
      Special Order
    $121.78
  • 25
    SWITCH-NEUTRAL STA – Part Number: 925-3038
    SWITCH-NEUTRAL STA
    Part Number: 925-3038
      On Order
    $103.68
  • 26
    SWITCH-IGNITION – Part Number: IH-60736-C3
    SWITCH-IGNITION
    Part Number: IH-60736-C3
      Special Order
    $115.63
  • 27
    KEY-IGNITION – Part Number: IH-131313-C2
    KEY-IGNITION
    Part Number: IH-131313-C2
      Special Order
    $19.44
  • 28
    WASHER – Part Number: IH-375431-R1
    WASHER
    Part Number: IH-375431-R1
      Special Order
    $18.85
  • 28
    PIPE – Part Number: SU-3101069
    PIPE
    Part Number: SU-3101069
      Special Order
    $58.70
  • 29
    NUT – Part Number: IH-365502-R1
    NUT
    Part Number: IH-365502-R1
      Special Order
    $18.11
  • 30
    SCREW – Part Number: IH-59980-C1
    SCREW
    Part Number: IH-59980-C1
      Special Order
    $6.16
  • 31
    SHOE-PTO BRAKE – Part Number: IH-59973-C1
    SHOE-PTO BRAKE
    Part Number: IH-59973-C1
      Special Order
    $184.92
  • 34
    PLUG ASM – Part Number: SU-4800323
    PLUG ASM
    Part Number: SU-4800323
      Special Order
    $51.69
  • 35
    Oil Filter – Part Number: 923-3014
    Oil Filter
    Part Number: 923-3014
      In Stock
    $23.78
  • 37
    VALVE ASSY – Part Number: SU-9500085P
    VALVE ASSY
    Part Number: SU-9500085P
      Special Order
    $571.20
  • 47
    OIL SEAL – Part Number: 921-3032
    OIL SEAL
    Part Number: 921-3032
    ★★★★★
    ★★★★★
    (1)
      Special Order
    $27.31
  • 48
    SHIM .014 – Part Number: 717-3099
    SHIM .014
    Part Number: 717-3099
      Special Order
    $53.83
  • 49
    PULLEY – Part Number: KH-231591
    PULLEY
    Part Number: KH-231591
      Special Order
    $297.40
  • 50
    DISC-FLEX COUPLING – Part Number: IH-376257-R3
    DISC-FLEX COUPLING
    Part Number: IH-376257-R3
      Special Order
    $62.97
  • 52
    CUP ASSEMBLY – Part Number: KH-41-071-03
    CUP ASSEMBLY
    Part Number: KH-41-071-03
      Special Order
    $195.55
  • 102
    POINTS-BREAKER – Part Number: KH-47-150-03
    POINTS-BREAKER
    Part Number: KH-47-150-03
      Special Order
    $32.28
  • 113
    BELT 3/8 X 31 11/1 – Part Number: IH-401960-R1
    BELT 3/8 X 31 11/1
    Part Number: IH-401960-R1
      Special Order
    $28.62
Engine-K341-16 Hp
Engine-K341-16 Hp Diagram and Parts List for 2050048U Cub Cadet Lawn Tractor
  • 1
    ROD-ASSY DRIVE – Part Number: IH-545511-R1
    ROD-ASSY DRIVE
    Part Number: IH-545511-R1
      Special Order
    $152.31
  • 1
    PLATE ASSY-DAMPER – Part Number: 903-0194
    PLATE ASSY-DAMPER
    Part Number: 903-0194
      Special Order
    $154.42
  • 2
    HUB – Part Number: IH-394034-R32
    HUB
    Part Number: IH-394034-R32
      Special Order
    $176.79
  • 2
    BEARING-COLUMN – Part Number: 941-3023
    BEARING-COLUMN
    Part Number: 941-3023
      Special Order
    $13.01
  • 2
    BOLT-WHEEL – Part Number: 710-3027
    BOLT-WHEEL
    Part Number: 710-3027
      Special Order
    $37.56
  • 3
    BEARING – Part Number: SU-9001370-0003
    BEARING
    Part Number: SU-9001370-0003
      Special Order
    $189.62
  • 3
    CONTROL-CHOKE – Part Number: IH-401439-R93
    CONTROL-CHOKE
    Part Number: IH-401439-R93
      Special Order
    $80.96
  • 3
    PIN – Part Number: IH-19837-R2
    PIN
    Part Number: IH-19837-R2
      Special Order
    $13.88
  • 3
    SPRING-COMPRESSION – Part Number: 932-3012
    SPRING-COMPRESSION
    Part Number: 932-3012
      Special Order
    $11.06
  • 4
    SPRING-COMPRESSION – Part Number: 932-3013
    SPRING-COMPRESSION
    Part Number: 932-3013
      Special Order
    $11.35
  • 4
    OIL SEAL – Part Number: 921-3032
    OIL SEAL
    Part Number: 921-3032
    ★★★★★
    ★★★★★
    (1)
      Special Order
    $27.31
  • 4
    ARM-COUPLING – Part Number: 759-3009
    ARM-COUPLING
    Part Number: 759-3009
      Special Order
    $146.62
  • 4
    Ball Joint Assembly – Part Number: 923-3000
    Ball Joint Assembly
    Part Number: 923-3000
      In Stock
    $33.88
  • 5
    FAN – Part Number: IH-547749-R2
    FAN
    Part Number: IH-547749-R2
    ★★★★★
    ★★★★★
    (1)
      Special Order
    $36.11
  • 5
    GASKET-AXLE CARRIE – Part Number: 721P3014
    GASKET-AXLE CARRIE
    Part Number: 721P3014
      On Order
    $21.09
  • 5
    SPRING GUIDE PIN – Part Number: 711-3033
    SPRING GUIDE PIN
    Part Number: 711-3033
      In Stock
    $24.57
  • 5
    Cotter Pin – Part Number: 714-3020
    Cotter Pin
    Part Number: 714-3020
      Special Order
    Minimum Quantity of 2 required
    $6.16
  • 6
    Fuel Shut-Off – Part Number: 951-3015
    Fuel Shut-Off
    Part Number: 951-3015
      Special Order
    $48.15
  • 7
    KNUCKLE-RH STEERIN – Part Number: IH-544217-R1
    KNUCKLE-RH STEERIN
    Part Number: IH-544217-R1
      Special Order
    $407.36
  • 7
    BUMPER – Part Number: IH-128509-H1
    BUMPER
    Part Number: IH-128509-H1
      Special Order
    $7.48
  • 7
    SPRING-LIFT HDLE – Part Number: 932-3005
    SPRING-LIFT HDLE
    Part Number: 932-3005
      On Order
    $13.84
  • 8
    BUSHING – Part Number: IH-394048-R1
    BUSHING
    Part Number: IH-394048-R1
      Special Order
    $42.03
  • 9
    SPRING-LIFT HDLE – Part Number: 932-3005
    SPRING-LIFT HDLE
    Part Number: 932-3005
      On Order
    $13.84
  • 9
    Bolt-hex – Part Number: 710-3020
    Bolt-hex
    Part Number: 710-3020
      No Longer Available
  • 10
    RETAINER/BALL ASSY – Part Number: 941-3021
    RETAINER/BALL ASSY
    Part Number: 941-3021
      Special Order
    $53.99
  • 10
    PAD-BRAKE & CLUTCH – Part Number: 924-3000
    PAD-BRAKE & CLUTCH
    Part Number: 924-3000
      Special Order
    $31.21
  • 10
    Ring, Retaining – Part Number: 716-0865
    Ring, Retaining
    Part Number: 716-0865
      In Stock
    $6.99
  • 11
    Connector-swivel tube 37 degree – Part Number: 927-3002
    Connector-swivel tube 37 degree
    Part Number: 927-3002
      Special Order
    $19.75
  • 12
    HINGE – Part Number: IH-545508-R2
    HINGE
    Part Number: IH-545508-R2
      Special Order
    $34.27
  • 12
    Case Assy, Transmission – Part Number: IH-394081-R91
    Case Assy, Transmission
    Part Number: IH-394081-R91
      No Longer Available
  • 12
    Ball Joint Assembly – Part Number: 923-3000
    Ball Joint Assembly
    Part Number: 923-3000
      In Stock
    $33.88
  • 12
    Ring-o-3/8 od tube – Part Number: 721-3001
    Ring-o-3/8 od tube
    Part Number: 721-3001
      Special Order
    $6.16
  • 13
    STATOR-BRAKE – Part Number: IH-548122-R2
    STATOR-BRAKE
    Part Number: IH-548122-R2
      Special Order
    $101.64
  • 13
    SPRING-EXTENSION – Part Number: 932-3015
    SPRING-EXTENSION
    Part Number: 932-3015
      Special Order
    $19.44
  • 13
    Harness Retainer – Part Number: 726-0272
    Harness Retainer
    Part Number: 726-0272
      Special Order
    $11.31
  • 14
    BUTTON – Part Number: IH-59982-C1
    BUTTON
    Part Number: IH-59982-C1
      Special Order
    $33.42
  • 15
    SPRING – Part Number: IH-543969-R1
    SPRING
    Part Number: IH-543969-R1
      Special Order
    $40.86
  • 15
    SPRING – Part Number: IH-391347-R2
    SPRING
    Part Number: IH-391347-R2
      Special Order
    $25.59
  • 15
    CLEVIS-ADJ ROD END – Part Number: 719-3018
    CLEVIS-ADJ ROD END
    Part Number: 719-3018
      Special Order
    $62.50
  • 15
    Fitting-90 deg hyd – Part Number: 727-3012
    Fitting-90 deg hyd
    Part Number: 727-3012
      Special Order
    $38.50
  • 15
    Gear assy-steering – Part Number: 703-1085
    Gear assy-steering
    Part Number: 703-1085
      No Longer Available
  • 16
    RING NAN-206 – Part Number: IH-473475-R1
    RING NAN-206
    Part Number: IH-473475-R1
      Special Order
    $16.35
  • 16
    RETAINER/BALL ASSY – Part Number: 941-3021
    RETAINER/BALL ASSY
    Part Number: 941-3021
      Special Order
    $53.99
  • 16
    Ring-o-3/8 od tube – Part Number: 721-3001
    Ring-o-3/8 od tube
    Part Number: 721-3001
      Special Order
    $6.16
  • 18
    STATOR-BRAKE – Part Number: IH-548122-R2
    STATOR-BRAKE
    Part Number: IH-548122-R2
      Special Order
    $101.64
  • 18
    GASKET – Part Number: IH-350837-R3
    GASKET
    Part Number: IH-350837-R3
      Special Order
    $42.63
  • 23
    NUT, 1/4-28 HEX JAM – Part Number: IH-25930-R2
    NUT, 1/4-28 HEX JAM
    Part Number: IH-25930-R2
      Special Order
    $7.04
  • 23
    GASKET – Part Number: 921-3004
    GASKET
    Part Number: 921-3004
      On Order
    $16.97
  • 24
    BEARING – Part Number: IH-ST436P
    BEARING
    Part Number: IH-ST436P
      Special Order
    $121.78
  • 25
    SWITCH-NEUTRAL STA – Part Number: 925-3038
    SWITCH-NEUTRAL STA
    Part Number: 925-3038
      On Order
    $103.68
  • 26
    SWITCH-IGNITION – Part Number: IH-60736-C3
    SWITCH-IGNITION
    Part Number: IH-60736-C3
      Special Order
    $115.63
  • 27
    KEY-IGNITION – Part Number: IH-131313-C2
    KEY-IGNITION
    Part Number: IH-131313-C2
      Special Order
    $19.44
  • 28
    PIPE – Part Number: SU-3101069
    PIPE
    Part Number: SU-3101069
      Special Order
    $58.70
  • 28
    WASHER – Part Number: IH-375431-R1
    WASHER
    Part Number: IH-375431-R1
      Special Order
    $18.85
  • 29
    NUT – Part Number: IH-365502-R1
    NUT
    Part Number: IH-365502-R1
      Special Order
    $18.11
  • 30
    SCREW – Part Number: IH-59980-C1
    SCREW
    Part Number: IH-59980-C1
      Special Order
    $6.16
  • 31
    SHOE-PTO BRAKE – Part Number: IH-59973-C1
    SHOE-PTO BRAKE
    Part Number: IH-59973-C1
      Special Order
    $184.92
  • 34
    PLUG ASM – Part Number: SU-4800323
    PLUG ASM
    Part Number: SU-4800323
      Special Order
    $51.69
  • 35
    Oil Filter – Part Number: 923-3014
    Oil Filter
    Part Number: 923-3014
      In Stock
    $23.78
  • 37
    VALVE ASSY – Part Number: SU-9500085P
    VALVE ASSY
    Part Number: SU-9500085P
      Special Order
    $571.20
  • 47
    OIL SEAL – Part Number: 921-3032
    OIL SEAL
    Part Number: 921-3032
    ★★★★★
    ★★★★★
    (1)
      Special Order
    $27.31
  • 48
    SHIM .014 – Part Number: 717-3099
    SHIM .014
    Part Number: 717-3099
      Special Order
    $53.83
  • 49
    PULLEY – Part Number: KH-231591
    PULLEY
    Part Number: KH-231591
      Special Order
    $297.40
  • 50
    DISC-FLEX COUPLING – Part Number: IH-376257-R3
    DISC-FLEX COUPLING
    Part Number: IH-376257-R3
      Special Order
    $62.97
  • 52
    CUP ASSEMBLY – Part Number: KH-41-071-03
    CUP ASSEMBLY
    Part Number: KH-41-071-03
      Special Order
    $195.55
  • 102
    POINTS-BREAKER – Part Number: KH-47-150-03
    POINTS-BREAKER
    Part Number: KH-47-150-03
      Special Order
    $32.28
  • 113
    BELT 3/8 X 31 11/1 – Part Number: IH-401960-R1
    BELT 3/8 X 31 11/1
    Part Number: IH-401960-R1
      Special Order
    $28.62
Fender & Connections
Fender & Connections Diagram and Parts List for 2050048U Cub Cadet Lawn Tractor
  • 1
    PLATE ASSY-DAMPER – Part Number: 903-0194
    PLATE ASSY-DAMPER
    Part Number: 903-0194
      Special Order
    $154.42
  • 1
    ROD-ASSY DRIVE – Part Number: IH-545511-R1
    ROD-ASSY DRIVE
    Part Number: IH-545511-R1
      Special Order
    $152.31
  • 2
    BOLT-WHEEL – Part Number: 710-3027
    BOLT-WHEEL
    Part Number: 710-3027
      Special Order
    $37.56
  • 2
    BEARING-COLUMN – Part Number: 941-3023
    BEARING-COLUMN
    Part Number: 941-3023
      Special Order
    $13.01
  • 2
    HUB – Part Number: IH-394034-R32
    HUB
    Part Number: IH-394034-R32
      Special Order
    $176.79
  • 3
    SPRING-COMPRESSION – Part Number: 932-3012
    SPRING-COMPRESSION
    Part Number: 932-3012
      Special Order
    $11.06
  • 3
    PIN – Part Number: IH-19837-R2
    PIN
    Part Number: IH-19837-R2
      Special Order
    $13.88
  • 3
    CONTROL-CHOKE – Part Number: IH-401439-R93
    CONTROL-CHOKE
    Part Number: IH-401439-R93
      Special Order
    $80.96
  • 3
    BEARING – Part Number: SU-9001370-0003
    BEARING
    Part Number: SU-9001370-0003
      Special Order
    $189.62
  • 4
    Ball Joint Assembly – Part Number: 923-3000
    Ball Joint Assembly
    Part Number: 923-3000
      In Stock
    $33.88
  • 4
    ARM-COUPLING – Part Number: 759-3009
    ARM-COUPLING
    Part Number: 759-3009
      Special Order
    $146.62
  • 4
    OIL SEAL – Part Number: 921-3032
    OIL SEAL
    Part Number: 921-3032
    ★★★★★
    ★★★★★
    (1)
      Special Order
    $27.31
  • 4
    SPRING-COMPRESSION – Part Number: 932-3013
    SPRING-COMPRESSION
    Part Number: 932-3013
      Special Order
    $11.35
  • 5
    Cotter Pin – Part Number: 714-3020
    Cotter Pin
    Part Number: 714-3020
      Special Order
    Minimum Quantity of 2 required
    $6.16
  • 5
    SPRING GUIDE PIN – Part Number: 711-3033
    SPRING GUIDE PIN
    Part Number: 711-3033
      In Stock
    $24.57
  • 5
    GASKET-AXLE CARRIE – Part Number: 721P3014
    GASKET-AXLE CARRIE
    Part Number: 721P3014
      On Order
    $21.09
  • 5
    FAN – Part Number: IH-547749-R2
    FAN
    Part Number: IH-547749-R2
    ★★★★★
    ★★★★★
    (1)
      Special Order
    $36.11
  • 6
    Fuel Shut-Off – Part Number: 951-3015
    Fuel Shut-Off
    Part Number: 951-3015
      Special Order
    $48.15
  • 7
    SPRING-LIFT HDLE – Part Number: 932-3005
    SPRING-LIFT HDLE
    Part Number: 932-3005
      On Order
    $13.84
  • 7
    BUMPER – Part Number: IH-128509-H1
    BUMPER
    Part Number: IH-128509-H1
      Special Order
    $7.48
  • 7
    KNUCKLE-RH STEERIN – Part Number: IH-544217-R1
    KNUCKLE-RH STEERIN
    Part Number: IH-544217-R1
      Special Order
    $407.36
  • 8
    BUSHING – Part Number: IH-394048-R1
    BUSHING
    Part Number: IH-394048-R1
      Special Order
    $42.03
  • 9
    Bolt-hex – Part Number: 710-3020
    Bolt-hex
    Part Number: 710-3020
      No Longer Available
  • 9
    SPRING-LIFT HDLE – Part Number: 932-3005
    SPRING-LIFT HDLE
    Part Number: 932-3005
      On Order
    $13.84
  • 10
    Ring, Retaining – Part Number: 716-0865
    Ring, Retaining
    Part Number: 716-0865
      In Stock
    $6.99
  • 10
    PAD-BRAKE & CLUTCH – Part Number: 924-3000
    PAD-BRAKE & CLUTCH
    Part Number: 924-3000
      Special Order
    $31.21
  • 10
    RETAINER/BALL ASSY – Part Number: 941-3021
    RETAINER/BALL ASSY
    Part Number: 941-3021
      Special Order
    $53.99
  • 11
    Connector-swivel tube 37 degree – Part Number: 927-3002
    Connector-swivel tube 37 degree
    Part Number: 927-3002
      Special Order
    $19.75
  • 12
    Ring-o-3/8 od tube – Part Number: 721-3001
    Ring-o-3/8 od tube
    Part Number: 721-3001
      Special Order
    $6.16
  • 12
    Ball Joint Assembly – Part Number: 923-3000
    Ball Joint Assembly
    Part Number: 923-3000
      In Stock
    $33.88
  • 12
    Case Assy, Transmission – Part Number: IH-394081-R91
    Case Assy, Transmission
    Part Number: IH-394081-R91
      No Longer Available
  • 12
    HINGE – Part Number: IH-545508-R2
    HINGE
    Part Number: IH-545508-R2
      Special Order
    $34.27
  • 13
    Harness Retainer – Part Number: 726-0272
    Harness Retainer
    Part Number: 726-0272
      Special Order
    $11.31
  • 13
    SPRING-EXTENSION – Part Number: 932-3015
    SPRING-EXTENSION
    Part Number: 932-3015
      Special Order
    $19.44
  • 13
    STATOR-BRAKE – Part Number: IH-548122-R2
    STATOR-BRAKE
    Part Number: IH-548122-R2
      Special Order
    $101.64
  • 14
    BUTTON – Part Number: IH-59982-C1
    BUTTON
    Part Number: IH-59982-C1
      Special Order
    $33.42
  • 15
    Gear assy-steering – Part Number: 703-1085
    Gear assy-steering
    Part Number: 703-1085
      No Longer Available
  • 15
    Fitting-90 deg hyd – Part Number: 727-3012
    Fitting-90 deg hyd
    Part Number: 727-3012
      Special Order
    $38.50
  • 15
    CLEVIS-ADJ ROD END – Part Number: 719-3018
    CLEVIS-ADJ ROD END
    Part Number: 719-3018
      Special Order
    $62.50
  • 15
    SPRING – Part Number: IH-391347-R2
    SPRING
    Part Number: IH-391347-R2
      Special Order
    $25.59
  • 15
    SPRING – Part Number: IH-543969-R1
    SPRING
    Part Number: IH-543969-R1
      Special Order
    $40.86
  • 16
    Ring-o-3/8 od tube – Part Number: 721-3001
    Ring-o-3/8 od tube
    Part Number: 721-3001
      Special Order
    $6.16
  • 16
    RETAINER/BALL ASSY – Part Number: 941-3021
    RETAINER/BALL ASSY
    Part Number: 941-3021
      Special Order
    $53.99
  • 16
    RING NAN-206 – Part Number: IH-473475-R1
    RING NAN-206
    Part Number: IH-473475-R1
      Special Order
    $16.35
  • 18
    GASKET – Part Number: IH-350837-R3
    GASKET
    Part Number: IH-350837-R3
      Special Order
    $42.63
  • 18
    STATOR-BRAKE – Part Number: IH-548122-R2
    STATOR-BRAKE
    Part Number: IH-548122-R2
      Special Order
    $101.64
  • 23
    GASKET – Part Number: 921-3004
    GASKET
    Part Number: 921-3004
      On Order
    $16.97
  • 23
    NUT, 1/4-28 HEX JAM – Part Number: IH-25930-R2
    NUT, 1/4-28 HEX JAM
    Part Number: IH-25930-R2
      Special Order
    $7.04
  • 24
    BEARING – Part Number: IH-ST436P
    BEARING
    Part Number: IH-ST436P
      Special Order
    $121.78
  • 25
    SWITCH-NEUTRAL STA – Part Number: 925-3038
    SWITCH-NEUTRAL STA
    Part Number: 925-3038
      On Order
    $103.68
  • 26
    SWITCH-IGNITION – Part Number: IH-60736-C3
    SWITCH-IGNITION
    Part Number: IH-60736-C3
      Special Order
    $115.63
  • 27
    KEY-IGNITION – Part Number: IH-131313-C2
    KEY-IGNITION
    Part Number: IH-131313-C2
      Special Order
    $19.44
  • 28
    WASHER – Part Number: IH-375431-R1
    WASHER
    Part Number: IH-375431-R1
      Special Order
    $18.85
  • 28
    PIPE – Part Number: SU-3101069
    PIPE
    Part Number: SU-3101069
      Special Order
    $58.70
  • 29
    NUT – Part Number: IH-365502-R1
    NUT
    Part Number: IH-365502-R1
      Special Order
    $18.11
  • 30
    SCREW – Part Number: IH-59980-C1
    SCREW
    Part Number: IH-59980-C1
      Special Order
    $6.16
  • 31
    SHOE-PTO BRAKE – Part Number: IH-59973-C1
    SHOE-PTO BRAKE
    Part Number: IH-59973-C1
      Special Order
    $184.92
  • 34
    PLUG ASM – Part Number: SU-4800323
    PLUG ASM
    Part Number: SU-4800323
      Special Order
    $51.69
  • 35
    Oil Filter – Part Number: 923-3014
    Oil Filter
    Part Number: 923-3014
      In Stock
    $23.78
  • 37
    VALVE ASSY – Part Number: SU-9500085P
    VALVE ASSY
    Part Number: SU-9500085P
      Special Order
    $571.20
  • 47
    OIL SEAL – Part Number: 921-3032
    OIL SEAL
    Part Number: 921-3032
    ★★★★★
    ★★★★★
    (1)
      Special Order
    $27.31
  • 48
    SHIM .014 – Part Number: 717-3099
    SHIM .014
    Part Number: 717-3099
      Special Order
    $53.83
  • 49
    PULLEY – Part Number: KH-231591
    PULLEY
    Part Number: KH-231591
      Special Order
    $297.40
  • 50
    DISC-FLEX COUPLING – Part Number: IH-376257-R3
    DISC-FLEX COUPLING
    Part Number: IH-376257-R3
      Special Order
    $62.97
  • 52
    CUP ASSEMBLY – Part Number: KH-41-071-03
    CUP ASSEMBLY
    Part Number: KH-41-071-03
      Special Order
    $195.55
  • 102
    POINTS-BREAKER – Part Number: KH-47-150-03
    POINTS-BREAKER
    Part Number: KH-47-150-03
      Special Order
    $32.28
  • 113
    BELT 3/8 X 31 11/1 – Part Number: IH-401960-R1
    BELT 3/8 X 31 11/1
    Part Number: IH-401960-R1
      Special Order
    $28.62
Front Axle & Connections
Front Axle & Connections Diagram and Parts List for 2050048U Cub Cadet Lawn Tractor
  • 1
    ROD-ASSY DRIVE – Part Number: IH-545511-R1
    ROD-ASSY DRIVE
    Part Number: IH-545511-R1
      Special Order
    $152.31
  • 1
    PLATE ASSY-DAMPER – Part Number: 903-0194
    PLATE ASSY-DAMPER
    Part Number: 903-0194
      Special Order
    $154.42
  • 2
    HUB – Part Number: IH-394034-R32
    HUB
    Part Number: IH-394034-R32
      Special Order
    $176.79
  • 2
    BEARING-COLUMN – Part Number: 941-3023
    BEARING-COLUMN
    Part Number: 941-3023
      Special Order
    $13.01
  • 2
    BOLT-WHEEL – Part Number: 710-3027
    BOLT-WHEEL
    Part Number: 710-3027
      Special Order
    $37.56
  • 3
    BEARING – Part Number: SU-9001370-0003
    BEARING
    Part Number: SU-9001370-0003
      Special Order
    $189.62
  • 3
    CONTROL-CHOKE – Part Number: IH-401439-R93
    CONTROL-CHOKE
    Part Number: IH-401439-R93
      Special Order
    $80.96
  • 3
    PIN – Part Number: IH-19837-R2
    PIN
    Part Number: IH-19837-R2
      Special Order
    $13.88
  • 3
    SPRING-COMPRESSION – Part Number: 932-3012
    SPRING-COMPRESSION
    Part Number: 932-3012
      Special Order
    $11.06
  • 4
    SPRING-COMPRESSION – Part Number: 932-3013
    SPRING-COMPRESSION
    Part Number: 932-3013
      Special Order
    $11.35
  • 4
    OIL SEAL – Part Number: 921-3032
    OIL SEAL
    Part Number: 921-3032
    ★★★★★
    ★★★★★
    (1)
      Special Order
    $27.31
  • 4
    ARM-COUPLING – Part Number: 759-3009
    ARM-COUPLING
    Part Number: 759-3009
      Special Order
    $146.62
  • 4
    Ball Joint Assembly – Part Number: 923-3000
    Ball Joint Assembly
    Part Number: 923-3000
      In Stock
    $33.88
  • 5
    FAN – Part Number: IH-547749-R2
    FAN
    Part Number: IH-547749-R2
    ★★★★★
    ★★★★★
    (1)
      Special Order
    $36.11
  • 5
    GASKET-AXLE CARRIE – Part Number: 721P3014
    GASKET-AXLE CARRIE
    Part Number: 721P3014
      On Order
    $21.09
  • 5
    SPRING GUIDE PIN – Part Number: 711-3033
    SPRING GUIDE PIN
    Part Number: 711-3033
      In Stock
    $24.57
  • 5
    Cotter Pin – Part Number: 714-3020
    Cotter Pin
    Part Number: 714-3020
      Special Order
    Minimum Quantity of 2 required
    $6.16
  • 6
    Fuel Shut-Off – Part Number: 951-3015
    Fuel Shut-Off
    Part Number: 951-3015
      Special Order
    $48.15
  • 7
    KNUCKLE-RH STEERIN – Part Number: IH-544217-R1
    KNUCKLE-RH STEERIN
    Part Number: IH-544217-R1
      Special Order
    $407.36
  • 7
    BUMPER – Part Number: IH-128509-H1
    BUMPER
    Part Number: IH-128509-H1
      Special Order
    $7.48
  • 7
    SPRING-LIFT HDLE – Part Number: 932-3005
    SPRING-LIFT HDLE
    Part Number: 932-3005
      On Order
    $13.84
  • 8
    BUSHING – Part Number: IH-394048-R1
    BUSHING
    Part Number: IH-394048-R1
      Special Order
    $42.03
  • 9
    SPRING-LIFT HDLE – Part Number: 932-3005
    SPRING-LIFT HDLE
    Part Number: 932-3005
      On Order
    $13.84
  • 9
    Bolt-hex – Part Number: 710-3020
    Bolt-hex
    Part Number: 710-3020
      No Longer Available
  • 10
    RETAINER/BALL ASSY – Part Number: 941-3021
    RETAINER/BALL ASSY
    Part Number: 941-3021
      Special Order
    $53.99
  • 10
    PAD-BRAKE & CLUTCH – Part Number: 924-3000
    PAD-BRAKE & CLUTCH
    Part Number: 924-3000
      Special Order
    $31.21
  • 10
    Ring, Retaining – Part Number: 716-0865
    Ring, Retaining
    Part Number: 716-0865
      In Stock
    $6.99
  • 11
    Connector-swivel tube 37 degree – Part Number: 927-3002
    Connector-swivel tube 37 degree
    Part Number: 927-3002
      Special Order
    $19.75
  • 12
    HINGE – Part Number: IH-545508-R2
    HINGE
    Part Number: IH-545508-R2
      Special Order
    $34.27
  • 12
    Case Assy, Transmission – Part Number: IH-394081-R91
    Case Assy, Transmission
    Part Number: IH-394081-R91
      No Longer Available
  • 12
    Ball Joint Assembly – Part Number: 923-3000
    Ball Joint Assembly
    Part Number: 923-3000
      In Stock
    $33.88
  • 12
    Ring-o-3/8 od tube – Part Number: 721-3001
    Ring-o-3/8 od tube
    Part Number: 721-3001
      Special Order
    $6.16
  • 13
    STATOR-BRAKE – Part Number: IH-548122-R2
    STATOR-BRAKE
    Part Number: IH-548122-R2
      Special Order
    $101.64
  • 13
    SPRING-EXTENSION – Part Number: 932-3015
    SPRING-EXTENSION
    Part Number: 932-3015
      Special Order
    $19.44
  • 13
    Harness Retainer – Part Number: 726-0272
    Harness Retainer
    Part Number: 726-0272
      Special Order
    $11.31
  • 14
    BUTTON – Part Number: IH-59982-C1
    BUTTON
    Part Number: IH-59982-C1
      Special Order
    $33.42
  • 15
    SPRING – Part Number: IH-543969-R1
    SPRING
    Part Number: IH-543969-R1
      Special Order
    $40.86
  • 15
    SPRING – Part Number: IH-391347-R2
    SPRING
    Part Number: IH-391347-R2
      Special Order
    $25.59
  • 15
    CLEVIS-ADJ ROD END – Part Number: 719-3018
    CLEVIS-ADJ ROD END
    Part Number: 719-3018
      Special Order
    $62.50
  • 15
    Fitting-90 deg hyd – Part Number: 727-3012
    Fitting-90 deg hyd
    Part Number: 727-3012
      Special Order
    $38.50
  • 15
    Gear assy-steering – Part Number: 703-1085
    Gear assy-steering
    Part Number: 703-1085
      No Longer Available
  • 16
    RING NAN-206 – Part Number: IH-473475-R1
    RING NAN-206
    Part Number: IH-473475-R1
      Special Order
    $16.35
  • 16
    RETAINER/BALL ASSY – Part Number: 941-3021
    RETAINER/BALL ASSY
    Part Number: 941-3021
      Special Order
    $53.99
  • 16
    Ring-o-3/8 od tube – Part Number: 721-3001
    Ring-o-3/8 od tube
    Part Number: 721-3001
      Special Order
    $6.16
  • 18
    STATOR-BRAKE – Part Number: IH-548122-R2
    STATOR-BRAKE
    Part Number: IH-548122-R2
      Special Order
    $101.64
  • 18
    GASKET – Part Number: IH-350837-R3
    GASKET
    Part Number: IH-350837-R3
      Special Order
    $42.63
  • 23
    NUT, 1/4-28 HEX JAM – Part Number: IH-25930-R2
    NUT, 1/4-28 HEX JAM
    Part Number: IH-25930-R2
      Special Order
    $7.04
  • 23
    GASKET – Part Number: 921-3004
    GASKET
    Part Number: 921-3004
      On Order
    $16.97
  • 24
    BEARING – Part Number: IH-ST436P
    BEARING
    Part Number: IH-ST436P
      Special Order
    $121.78
  • 25
    SWITCH-NEUTRAL STA – Part Number: 925-3038
    SWITCH-NEUTRAL STA
    Part Number: 925-3038
      On Order
    $103.68
  • 26
    SWITCH-IGNITION – Part Number: IH-60736-C3
    SWITCH-IGNITION
    Part Number: IH-60736-C3
      Special Order
    $115.63
  • 27
    KEY-IGNITION – Part Number: IH-131313-C2
    KEY-IGNITION
    Part Number: IH-131313-C2
      Special Order
    $19.44
  • 28
    PIPE – Part Number: SU-3101069
    PIPE
    Part Number: SU-3101069
      Special Order
    $58.70
  • 28
    WASHER – Part Number: IH-375431-R1
    WASHER
    Part Number: IH-375431-R1
      Special Order
    $18.85
  • 29
    NUT – Part Number: IH-365502-R1
    NUT
    Part Number: IH-365502-R1
      Special Order
    $18.11
  • 30
    SCREW – Part Number: IH-59980-C1
    SCREW
    Part Number: IH-59980-C1
      Special Order
    $6.16
  • 31
    SHOE-PTO BRAKE – Part Number: IH-59973-C1
    SHOE-PTO BRAKE
    Part Number: IH-59973-C1
      Special Order
    $184.92
  • 34
    PLUG ASM – Part Number: SU-4800323
    PLUG ASM
    Part Number: SU-4800323
      Special Order
    $51.69
  • 35
    Oil Filter – Part Number: 923-3014
    Oil Filter
    Part Number: 923-3014
      In Stock
    $23.78
  • 37
    VALVE ASSY – Part Number: SU-9500085P
    VALVE ASSY
    Part Number: SU-9500085P
      Special Order
    $571.20
  • 47
    OIL SEAL – Part Number: 921-3032
    OIL SEAL
    Part Number: 921-3032
    ★★★★★
    ★★★★★
    (1)
      Special Order
    $27.31
  • 48
    SHIM .014 – Part Number: 717-3099
    SHIM .014
    Part Number: 717-3099
      Special Order
    $53.83
  • 49
    PULLEY – Part Number: KH-231591
    PULLEY
    Part Number: KH-231591
      Special Order
    $297.40
  • 50
    DISC-FLEX COUPLING – Part Number: IH-376257-R3
    DISC-FLEX COUPLING
    Part Number: IH-376257-R3
      Special Order
    $62.97
  • 52
    CUP ASSEMBLY – Part Number: KH-41-071-03
    CUP ASSEMBLY
    Part Number: KH-41-071-03
      Special Order
    $195.55
  • 102
    POINTS-BREAKER – Part Number: KH-47-150-03
    POINTS-BREAKER
    Part Number: KH-47-150-03
      Special Order
    $32.28
  • 113
    BELT 3/8 X 31 11/1 – Part Number: IH-401960-R1
    BELT 3/8 X 31 11/1
    Part Number: IH-401960-R1
      Special Order
    $28.62
Front Wheels
Front Wheels Diagram and Parts List for 2050048U Cub Cadet Lawn Tractor
  • 1
    PLATE ASSY-DAMPER – Part Number: 903-0194
    PLATE ASSY-DAMPER
    Part Number: 903-0194
      Special Order
    $154.42
  • 1
    ROD-ASSY DRIVE – Part Number: IH-545511-R1
    ROD-ASSY DRIVE
    Part Number: IH-545511-R1
      Special Order
    $152.31
  • 2
    BOLT-WHEEL – Part Number: 710-3027
    BOLT-WHEEL
    Part Number: 710-3027
      Special Order
    $37.56
  • 2
    BEARING-COLUMN – Part Number: 941-3023
    BEARING-COLUMN
    Part Number: 941-3023
      Special Order
    $13.01
  • 2
    HUB – Part Number: IH-394034-R32
    HUB
    Part Number: IH-394034-R32
      Special Order
    $176.79
  • 3
    SPRING-COMPRESSION – Part Number: 932-3012
    SPRING-COMPRESSION
    Part Number: 932-3012
      Special Order
    $11.06
  • 3
    PIN – Part Number: IH-19837-R2
    PIN
    Part Number: IH-19837-R2
      Special Order
    $13.88
  • 3
    CONTROL-CHOKE – Part Number: IH-401439-R93
    CONTROL-CHOKE
    Part Number: IH-401439-R93
      Special Order
    $80.96
  • 3
    BEARING – Part Number: SU-9001370-0003
    BEARING
    Part Number: SU-9001370-0003
      Special Order
    $189.62
  • 4
    Ball Joint Assembly – Part Number: 923-3000
    Ball Joint Assembly
    Part Number: 923-3000
      In Stock
    $33.88
  • 4
    ARM-COUPLING – Part Number: 759-3009
    ARM-COUPLING
    Part Number: 759-3009
      Special Order
    $146.62
  • 4
    OIL SEAL – Part Number: 921-3032
    OIL SEAL
    Part Number: 921-3032
    ★★★★★
    ★★★★★
    (1)
      Special Order
    $27.31
  • 4
    SPRING-COMPRESSION – Part Number: 932-3013
    SPRING-COMPRESSION
    Part Number: 932-3013
      Special Order
    $11.35
  • 5
    Cotter Pin – Part Number: 714-3020
    Cotter Pin
    Part Number: 714-3020
      Special Order
    Minimum Quantity of 2 required
    $6.16
  • 5
    SPRING GUIDE PIN – Part Number: 711-3033
    SPRING GUIDE PIN
    Part Number: 711-3033
      In Stock
    $24.57
  • 5
    GASKET-AXLE CARRIE – Part Number: 721P3014
    GASKET-AXLE CARRIE
    Part Number: 721P3014
      On Order
    $21.09
  • 5
    FAN – Part Number: IH-547749-R2
    FAN
    Part Number: IH-547749-R2
    ★★★★★
    ★★★★★
    (1)
      Special Order
    $36.11
  • 6
    Fuel Shut-Off – Part Number: 951-3015
    Fuel Shut-Off
    Part Number: 951-3015
      Special Order
    $48.15
  • 7
    SPRING-LIFT HDLE – Part Number: 932-3005
    SPRING-LIFT HDLE
    Part Number: 932-3005
      On Order
    $13.84
  • 7
    BUMPER – Part Number: IH-128509-H1
    BUMPER
    Part Number: IH-128509-H1
      Special Order
    $7.48
  • 7
    KNUCKLE-RH STEERIN – Part Number: IH-544217-R1
    KNUCKLE-RH STEERIN
    Part Number: IH-544217-R1
      Special Order
    $407.36
  • 8
    BUSHING – Part Number: IH-394048-R1
    BUSHING
    Part Number: IH-394048-R1
      Special Order
    $42.03
  • 9
    Bolt-hex – Part Number: 710-3020
    Bolt-hex
    Part Number: 710-3020
      No Longer Available
  • 9
    SPRING-LIFT HDLE – Part Number: 932-3005
    SPRING-LIFT HDLE
    Part Number: 932-3005
      On Order
    $13.84
  • 10
    Ring, Retaining – Part Number: 716-0865
    Ring, Retaining
    Part Number: 716-0865
      In Stock
    $6.99
  • 10
    PAD-BRAKE & CLUTCH – Part Number: 924-3000
    PAD-BRAKE & CLUTCH
    Part Number: 924-3000
      Special Order
    $31.21
  • 10
    RETAINER/BALL ASSY – Part Number: 941-3021
    RETAINER/BALL ASSY
    Part Number: 941-3021
      Special Order
    $53.99
  • 11
    Connector-swivel tube 37 degree – Part Number: 927-3002
    Connector-swivel tube 37 degree
    Part Number: 927-3002
      Special Order
    $19.75
  • 12
    Ring-o-3/8 od tube – Part Number: 721-3001
    Ring-o-3/8 od tube
    Part Number: 721-3001
      Special Order
    $6.16
  • 12
    Ball Joint Assembly – Part Number: 923-3000
    Ball Joint Assembly
    Part Number: 923-3000
      In Stock
    $33.88
  • 12
    Case Assy, Transmission – Part Number: IH-394081-R91
    Case Assy, Transmission
    Part Number: IH-394081-R91
      No Longer Available
  • 12
    HINGE – Part Number: IH-545508-R2
    HINGE
    Part Number: IH-545508-R2
      Special Order
    $34.27
  • 13
    Harness Retainer – Part Number: 726-0272
    Harness Retainer
    Part Number: 726-0272
      Special Order
    $11.31
  • 13
    SPRING-EXTENSION – Part Number: 932-3015
    SPRING-EXTENSION
    Part Number: 932-3015
      Special Order
    $19.44
  • 13
    STATOR-BRAKE – Part Number: IH-548122-R2
    STATOR-BRAKE
    Part Number: IH-548122-R2
      Special Order
    $101.64
  • 14
    BUTTON – Part Number: IH-59982-C1
    BUTTON
    Part Number: IH-59982-C1
      Special Order
    $33.42
  • 15
    Gear assy-steering – Part Number: 703-1085
    Gear assy-steering
    Part Number: 703-1085
      No Longer Available
  • 15
    Fitting-90 deg hyd – Part Number: 727-3012
    Fitting-90 deg hyd
    Part Number: 727-3012
      Special Order
    $38.50
  • 15
    CLEVIS-ADJ ROD END – Part Number: 719-3018
    CLEVIS-ADJ ROD END
    Part Number: 719-3018
      Special Order
    $62.50
  • 15
    SPRING – Part Number: IH-391347-R2
    SPRING
    Part Number: IH-391347-R2
      Special Order
    $25.59
  • 15
    SPRING – Part Number: IH-543969-R1
    SPRING
    Part Number: IH-543969-R1
      Special Order
    $40.86
  • 16
    Ring-o-3/8 od tube – Part Number: 721-3001
    Ring-o-3/8 od tube
    Part Number: 721-3001
      Special Order
    $6.16
  • 16
    RETAINER/BALL ASSY – Part Number: 941-3021
    RETAINER/BALL ASSY
    Part Number: 941-3021
      Special Order
    $53.99
  • 16
    RING NAN-206 – Part Number: IH-473475-R1
    RING NAN-206
    Part Number: IH-473475-R1
      Special Order
    $16.35
  • 18
    GASKET – Part Number: IH-350837-R3
    GASKET
    Part Number: IH-350837-R3
      Special Order
    $42.63
  • 18
    STATOR-BRAKE – Part Number: IH-548122-R2
    STATOR-BRAKE
    Part Number: IH-548122-R2
      Special Order
    $101.64
  • 23
    GASKET – Part Number: 921-3004
    GASKET
    Part Number: 921-3004
      On Order
    $16.97
  • 23
    NUT, 1/4-28 HEX JAM – Part Number: IH-25930-R2
    NUT, 1/4-28 HEX JAM
    Part Number: IH-25930-R2
      Special Order
    $7.04
  • 24
    BEARING – Part Number: IH-ST436P
    BEARING
    Part Number: IH-ST436P
      Special Order
    $121.78
  • 25
    SWITCH-NEUTRAL STA – Part Number: 925-3038
    SWITCH-NEUTRAL STA
    Part Number: 925-3038
      On Order
    $103.68
  • 26
    SWITCH-IGNITION – Part Number: IH-60736-C3
    SWITCH-IGNITION
    Part Number: IH-60736-C3
      Special Order
    $115.63
  • 27
    KEY-IGNITION – Part Number: IH-131313-C2
    KEY-IGNITION
    Part Number: IH-131313-C2
      Special Order
    $19.44
  • 28
    WASHER – Part Number: IH-375431-R1
    WASHER
    Part Number: IH-375431-R1
      Special Order
    $18.85
  • 28
    PIPE – Part Number: SU-3101069
    PIPE
    Part Number: SU-3101069
      Special Order
    $58.70
  • 29
    NUT – Part Number: IH-365502-R1
    NUT
    Part Number: IH-365502-R1
      Special Order
    $18.11
  • 30
    SCREW – Part Number: IH-59980-C1
    SCREW
    Part Number: IH-59980-C1
      Special Order
    $6.16
  • 31
    SHOE-PTO BRAKE – Part Number: IH-59973-C1
    SHOE-PTO BRAKE
    Part Number: IH-59973-C1
      Special Order
    $184.92
  • 34
    PLUG ASM – Part Number: SU-4800323
    PLUG ASM
    Part Number: SU-4800323
      Special Order
    $51.69
  • 35
    Oil Filter – Part Number: 923-3014
    Oil Filter
    Part Number: 923-3014
      In Stock
    $23.78
  • 37
    VALVE ASSY – Part Number: SU-9500085P
    VALVE ASSY
    Part Number: SU-9500085P
      Special Order
    $571.20
  • 47
    OIL SEAL – Part Number: 921-3032
    OIL SEAL
    Part Number: 921-3032
    ★★★★★
    ★★★★★
    (1)
      Special Order
    $27.31
  • 48
    SHIM .014 – Part Number: 717-3099
    SHIM .014
    Part Number: 717-3099
      Special Order
    $53.83
  • 49
    PULLEY – Part Number: KH-231591
    PULLEY
    Part Number: KH-231591
      Special Order
    $297.40
  • 50
    DISC-FLEX COUPLING – Part Number: IH-376257-R3
    DISC-FLEX COUPLING
    Part Number: IH-376257-R3
      Special Order
    $62.97
  • 52
    CUP ASSEMBLY – Part Number: KH-41-071-03
    CUP ASSEMBLY
    Part Number: KH-41-071-03
      Special Order
    $195.55
  • 102
    POINTS-BREAKER – Part Number: KH-47-150-03
    POINTS-BREAKER
    Part Number: KH-47-150-03
      Special Order
    $32.28
  • 113
    BELT 3/8 X 31 11/1 – Part Number: IH-401960-R1
    BELT 3/8 X 31 11/1
    Part Number: IH-401960-R1
      Special Order
    $28.62
Fuel Tank, Supports & Piping
Fuel Tank, Supports & Piping Diagram and Parts List for 2050048U Cub Cadet Lawn Tractor
  • 1
    ROD-ASSY DRIVE – Part Number: IH-545511-R1
    ROD-ASSY DRIVE
    Part Number: IH-545511-R1
      Special Order
    $152.31
  • 1
    PLATE ASSY-DAMPER – Part Number: 903-0194
    PLATE ASSY-DAMPER
    Part Number: 903-0194
      Special Order
    $154.42
  • 2
    HUB – Part Number: IH-394034-R32
    HUB
    Part Number: IH-394034-R32
      Special Order
    $176.79
  • 2
    BEARING-COLUMN – Part Number: 941-3023
    BEARING-COLUMN
    Part Number: 941-3023
      Special Order
    $13.01
  • 2
    BOLT-WHEEL – Part Number: 710-3027
    BOLT-WHEEL
    Part Number: 710-3027
      Special Order
    $37.56
  • 3
    BEARING – Part Number: SU-9001370-0003
    BEARING
    Part Number: SU-9001370-0003
      Special Order
    $189.62
  • 3
    CONTROL-CHOKE – Part Number: IH-401439-R93
    CONTROL-CHOKE
    Part Number: IH-401439-R93
      Special Order
    $80.96
  • 3
    PIN – Part Number: IH-19837-R2
    PIN
    Part Number: IH-19837-R2
      Special Order
    $13.88
  • 3
    SPRING-COMPRESSION – Part Number: 932-3012
    SPRING-COMPRESSION
    Part Number: 932-3012
      Special Order
    $11.06
  • 4
    SPRING-COMPRESSION – Part Number: 932-3013
    SPRING-COMPRESSION
    Part Number: 932-3013
      Special Order
    $11.35
  • 4
    OIL SEAL – Part Number: 921-3032
    OIL SEAL
    Part Number: 921-3032
    ★★★★★
    ★★★★★
    (1)
      Special Order
    $27.31
  • 4
    ARM-COUPLING – Part Number: 759-3009
    ARM-COUPLING
    Part Number: 759-3009
      Special Order
    $146.62
  • 4
    Ball Joint Assembly – Part Number: 923-3000
    Ball Joint Assembly
    Part Number: 923-3000
      In Stock
    $33.88
  • 5
    FAN – Part Number: IH-547749-R2
    FAN
    Part Number: IH-547749-R2
    ★★★★★
    ★★★★★
    (1)
      Special Order
    $36.11
  • 5
    GASKET-AXLE CARRIE – Part Number: 721P3014
    GASKET-AXLE CARRIE
    Part Number: 721P3014
      On Order
    $21.09
  • 5
    SPRING GUIDE PIN – Part Number: 711-3033
    SPRING GUIDE PIN
    Part Number: 711-3033
      In Stock
    $24.57
  • 5
    Cotter Pin – Part Number: 714-3020
    Cotter Pin
    Part Number: 714-3020
      Special Order
    Minimum Quantity of 2 required
    $6.16
  • 6
    Fuel Shut-Off – Part Number: 951-3015
    Fuel Shut-Off
    Part Number: 951-3015
      Special Order
    $48.15
  • 7
    KNUCKLE-RH STEERIN – Part Number: IH-544217-R1
    KNUCKLE-RH STEERIN
    Part Number: IH-544217-R1
      Special Order
    $407.36
  • 7
    BUMPER – Part Number: IH-128509-H1
    BUMPER
    Part Number: IH-128509-H1
      Special Order
    $7.48
  • 7
    SPRING-LIFT HDLE – Part Number: 932-3005
    SPRING-LIFT HDLE
    Part Number: 932-3005
      On Order
    $13.84
  • 8
    BUSHING – Part Number: IH-394048-R1
    BUSHING
    Part Number: IH-394048-R1
      Special Order
    $42.03
  • 9
    SPRING-LIFT HDLE – Part Number: 932-3005
    SPRING-LIFT HDLE
    Part Number: 932-3005
      On Order
    $13.84
  • 9
    Bolt-hex – Part Number: 710-3020
    Bolt-hex
    Part Number: 710-3020
      No Longer Available
  • 10
    RETAINER/BALL ASSY – Part Number: 941-3021
    RETAINER/BALL ASSY
    Part Number: 941-3021
      Special Order
    $53.99
  • 10
    PAD-BRAKE & CLUTCH – Part Number: 924-3000
    PAD-BRAKE & CLUTCH
    Part Number: 924-3000
      Special Order
    $31.21
  • 10
    Ring, Retaining – Part Number: 716-0865
    Ring, Retaining
    Part Number: 716-0865
      In Stock
    $6.99
  • 11
    Connector-swivel tube 37 degree – Part Number: 927-3002
    Connector-swivel tube 37 degree
    Part Number: 927-3002
      Special Order
    $19.75
  • 12
    HINGE – Part Number: IH-545508-R2
    HINGE
    Part Number: IH-545508-R2
      Special Order
    $34.27
  • 12
    Case Assy, Transmission – Part Number: IH-394081-R91
    Case Assy, Transmission
    Part Number: IH-394081-R91
      No Longer Available
  • 12
    Ball Joint Assembly – Part Number: 923-3000
    Ball Joint Assembly
    Part Number: 923-3000
      In Stock
    $33.88
  • 12
    Ring-o-3/8 od tube – Part Number: 721-3001
    Ring-o-3/8 od tube
    Part Number: 721-3001
      Special Order
    $6.16
  • 13
    STATOR-BRAKE – Part Number: IH-548122-R2
    STATOR-BRAKE
    Part Number: IH-548122-R2
      Special Order
    $101.64
  • 13
    SPRING-EXTENSION – Part Number: 932-3015
    SPRING-EXTENSION
    Part Number: 932-3015
      Special Order
    $19.44
  • 13
    Harness Retainer – Part Number: 726-0272
    Harness Retainer
    Part Number: 726-0272
      Special Order
    $11.31
  • 14
    BUTTON – Part Number: IH-59982-C1
    BUTTON
    Part Number: IH-59982-C1
      Special Order
    $33.42
  • 15
    SPRING – Part Number: IH-543969-R1
    SPRING
    Part Number: IH-543969-R1
      Special Order
    $40.86
  • 15
    SPRING – Part Number: IH-391347-R2
    SPRING
    Part Number: IH-391347-R2
      Special Order
    $25.59
  • 15
    CLEVIS-ADJ ROD END – Part Number: 719-3018
    CLEVIS-ADJ ROD END
    Part Number: 719-3018
      Special Order
    $62.50
  • 15
    Fitting-90 deg hyd – Part Number: 727-3012
    Fitting-90 deg hyd
    Part Number: 727-3012
      Special Order
    $38.50
  • 15
    Gear assy-steering – Part Number: 703-1085
    Gear assy-steering
    Part Number: 703-1085
      No Longer Available
  • 16
    RING NAN-206 – Part Number: IH-473475-R1
    RING NAN-206
    Part Number: IH-473475-R1
      Special Order
    $16.35
  • 16
    RETAINER/BALL ASSY – Part Number: 941-3021
    RETAINER/BALL ASSY
    Part Number: 941-3021
      Special Order
    $53.99
  • 16
    Ring-o-3/8 od tube – Part Number: 721-3001
    Ring-o-3/8 od tube
    Part Number: 721-3001
      Special Order
    $6.16
  • 18
    STATOR-BRAKE – Part Number: IH-548122-R2
    STATOR-BRAKE
    Part Number: IH-548122-R2
      Special Order
    $101.64
  • 18
    GASKET – Part Number: IH-350837-R3
    GASKET
    Part Number: IH-350837-R3
      Special Order
    $42.63
  • 23
    NUT, 1/4-28 HEX JAM – Part Number: IH-25930-R2
    NUT, 1/4-28 HEX JAM
    Part Number: IH-25930-R2
      Special Order
    $7.04
  • 23
    GASKET – Part Number: 921-3004
    GASKET
    Part Number: 921-3004
      On Order
    $16.97
  • 24
    BEARING – Part Number: IH-ST436P
    BEARING
    Part Number: IH-ST436P
      Special Order
    $121.78
  • 25
    SWITCH-NEUTRAL STA – Part Number: 925-3038
    SWITCH-NEUTRAL STA
    Part Number: 925-3038
      On Order
    $103.68
  • 26
    SWITCH-IGNITION – Part Number: IH-60736-C3
    SWITCH-IGNITION
    Part Number: IH-60736-C3
      Special Order
    $115.63
  • 27
    KEY-IGNITION – Part Number: IH-131313-C2
    KEY-IGNITION
    Part Number: IH-131313-C2
      Special Order
    $19.44
  • 28
    PIPE – Part Number: SU-3101069
    PIPE
    Part Number: SU-3101069
      Special Order
    $58.70
  • 28
    WASHER – Part Number: IH-375431-R1
    WASHER
    Part Number: IH-375431-R1
      Special Order
    $18.85
  • 29
    NUT – Part Number: IH-365502-R1
    NUT
    Part Number: IH-365502-R1
      Special Order
    $18.11
  • 30
    SCREW – Part Number: IH-59980-C1
    SCREW
    Part Number: IH-59980-C1
      Special Order
    $6.16
  • 31
    SHOE-PTO BRAKE – Part Number: IH-59973-C1
    SHOE-PTO BRAKE
    Part Number: IH-59973-C1
      Special Order
    $184.92
  • 34
    PLUG ASM – Part Number: SU-4800323
    PLUG ASM
    Part Number: SU-4800323
      Special Order
    $51.69
  • 35
    Oil Filter – Part Number: 923-3014
    Oil Filter
    Part Number: 923-3014
      In Stock
    $23.78
  • 37
    VALVE ASSY – Part Number: SU-9500085P
    VALVE ASSY
    Part Number: SU-9500085P
      Special Order
    $571.20
  • 47
    OIL SEAL – Part Number: 921-3032
    OIL SEAL
    Part Number: 921-3032
    ★★★★★
    ★★★★★
    (1)
      Special Order
    $27.31
  • 48
    SHIM .014 – Part Number: 717-3099
    SHIM .014
    Part Number: 717-3099
      Special Order
    $53.83
  • 49
    PULLEY – Part Number: KH-231591
    PULLEY
    Part Number: KH-231591
      Special Order
    $297.40
  • 50
    DISC-FLEX COUPLING – Part Number: IH-376257-R3
    DISC-FLEX COUPLING
    Part Number: IH-376257-R3
      Special Order
    $62.97
  • 52
    CUP ASSEMBLY – Part Number: KH-41-071-03
    CUP ASSEMBLY
    Part Number: KH-41-071-03
      Special Order
    $195.55
  • 102
    POINTS-BREAKER – Part Number: KH-47-150-03
    POINTS-BREAKER
    Part Number: KH-47-150-03
      Special Order
    $32.28
  • 113
    BELT 3/8 X 31 11/1 – Part Number: IH-401960-R1
    BELT 3/8 X 31 11/1
    Part Number: IH-401960-R1
      Special Order
    $28.62
Hood, Grille & Frame
Hood, Grille & Frame Diagram and Parts List for 2050048U Cub Cadet Lawn Tractor
  • 1
    PLATE ASSY-DAMPER – Part Number: 903-0194
    PLATE ASSY-DAMPER
    Part Number: 903-0194
      Special Order
    $154.42
  • 1
    ROD-ASSY DRIVE – Part Number: IH-545511-R1
    ROD-ASSY DRIVE
    Part Number: IH-545511-R1
      Special Order
    $152.31
  • 2
    BOLT-WHEEL – Part Number: 710-3027
    BOLT-WHEEL
    Part Number: 710-3027
      Special Order
    $37.56
  • 2
    BEARING-COLUMN – Part Number: 941-3023
    BEARING-COLUMN
    Part Number: 941-3023
      Special Order
    $13.01
  • 2
    HUB – Part Number: IH-394034-R32
    HUB
    Part Number: IH-394034-R32
      Special Order
    $176.79
  • 3
    SPRING-COMPRESSION – Part Number: 932-3012
    SPRING-COMPRESSION
    Part Number: 932-3012
      Special Order
    $11.06
  • 3
    PIN – Part Number: IH-19837-R2
    PIN
    Part Number: IH-19837-R2
      Special Order
    $13.88
  • 3
    CONTROL-CHOKE – Part Number: IH-401439-R93
    CONTROL-CHOKE
    Part Number: IH-401439-R93
      Special Order
    $80.96
  • 3
    BEARING – Part Number: SU-9001370-0003
    BEARING
    Part Number: SU-9001370-0003
      Special Order
    $189.62
  • 4
    Ball Joint Assembly – Part Number: 923-3000
    Ball Joint Assembly
    Part Number: 923-3000
      In Stock
    $33.88
  • 4
    ARM-COUPLING – Part Number: 759-3009
    ARM-COUPLING
    Part Number: 759-3009
      Special Order
    $146.62
  • 4
    OIL SEAL – Part Number: 921-3032
    OIL SEAL
    Part Number: 921-3032
    ★★★★★
    ★★★★★
    (1)
      Special Order
    $27.31
  • 4
    SPRING-COMPRESSION – Part Number: 932-3013
    SPRING-COMPRESSION
    Part Number: 932-3013
      Special Order
    $11.35
  • 5
    Cotter Pin – Part Number: 714-3020
    Cotter Pin
    Part Number: 714-3020
      Special Order
    Minimum Quantity of 2 required
    $6.16
  • 5
    SPRING GUIDE PIN – Part Number: 711-3033
    SPRING GUIDE PIN
    Part Number: 711-3033
      In Stock
    $24.57
  • 5
    GASKET-AXLE CARRIE – Part Number: 721P3014
    GASKET-AXLE CARRIE
    Part Number: 721P3014
      On Order
    $21.09
  • 5
    FAN – Part Number: IH-547749-R2
    FAN
    Part Number: IH-547749-R2
    ★★★★★
    ★★★★★
    (1)
      Special Order
    $36.11
  • 6
    Fuel Shut-Off – Part Number: 951-3015
    Fuel Shut-Off
    Part Number: 951-3015
      Special Order
    $48.15
  • 7
    SPRING-LIFT HDLE – Part Number: 932-3005
    SPRING-LIFT HDLE
    Part Number: 932-3005
      On Order
    $13.84
  • 7
    BUMPER – Part Number: IH-128509-H1
    BUMPER
    Part Number: IH-128509-H1
      Special Order
    $7.48
  • 7
    KNUCKLE-RH STEERIN – Part Number: IH-544217-R1
    KNUCKLE-RH STEERIN
    Part Number: IH-544217-R1
      Special Order
    $407.36
  • 8
    BUSHING – Part Number: IH-394048-R1
    BUSHING
    Part Number: IH-394048-R1
      Special Order
    $42.03
  • 9
    Bolt-hex – Part Number: 710-3020
    Bolt-hex
    Part Number: 710-3020
      No Longer Available
  • 9
    SPRING-LIFT HDLE – Part Number: 932-3005
    SPRING-LIFT HDLE
    Part Number: 932-3005
      On Order
    $13.84
  • 10
    Ring, Retaining – Part Number: 716-0865
    Ring, Retaining
    Part Number: 716-0865
      In Stock
    $6.99
  • 10
    PAD-BRAKE & CLUTCH – Part Number: 924-3000
    PAD-BRAKE & CLUTCH
    Part Number: 924-3000
      Special Order
    $31.21
  • 10
    RETAINER/BALL ASSY – Part Number: 941-3021
    RETAINER/BALL ASSY
    Part Number: 941-3021
      Special Order
    $53.99
  • 11
    Connector-swivel tube 37 degree – Part Number: 927-3002
    Connector-swivel tube 37 degree
    Part Number: 927-3002
      Special Order
    $19.75
  • 12
    Ring-o-3/8 od tube – Part Number: 721-3001
    Ring-o-3/8 od tube
    Part Number: 721-3001
      Special Order
    $6.16
  • 12
    Ball Joint Assembly – Part Number: 923-3000
    Ball Joint Assembly
    Part Number: 923-3000
      In Stock
    $33.88
  • 12
    Case Assy, Transmission – Part Number: IH-394081-R91
    Case Assy, Transmission
    Part Number: IH-394081-R91
      No Longer Available
  • 12
    HINGE – Part Number: IH-545508-R2
    HINGE
    Part Number: IH-545508-R2
      Special Order
    $34.27
  • 13
    Harness Retainer – Part Number: 726-0272
    Harness Retainer
    Part Number: 726-0272
      Special Order
    $11.31
  • 13
    SPRING-EXTENSION – Part Number: 932-3015
    SPRING-EXTENSION
    Part Number: 932-3015
      Special Order
    $19.44
  • 13
    STATOR-BRAKE – Part Number: IH-548122-R2
    STATOR-BRAKE
    Part Number: IH-548122-R2
      Special Order
    $101.64
  • 14
    BUTTON – Part Number: IH-59982-C1
    BUTTON
    Part Number: IH-59982-C1
      Special Order
    $33.42
  • 15
    Gear assy-steering – Part Number: 703-1085
    Gear assy-steering
    Part Number: 703-1085
      No Longer Available
  • 15
    Fitting-90 deg hyd – Part Number: 727-3012
    Fitting-90 deg hyd
    Part Number: 727-3012
      Special Order
    $38.50
  • 15
    CLEVIS-ADJ ROD END – Part Number: 719-3018
    CLEVIS-ADJ ROD END
    Part Number: 719-3018
      Special Order
    $62.50
  • 15
    SPRING – Part Number: IH-391347-R2
    SPRING
    Part Number: IH-391347-R2
      Special Order
    $25.59
  • 15
    SPRING – Part Number: IH-543969-R1
    SPRING
    Part Number: IH-543969-R1
      Special Order
    $40.86
  • 16
    Ring-o-3/8 od tube – Part Number: 721-3001
    Ring-o-3/8 od tube
    Part Number: 721-3001
      Special Order
    $6.16
  • 16
    RETAINER/BALL ASSY – Part Number: 941-3021
    RETAINER/BALL ASSY
    Part Number: 941-3021
      Special Order
    $53.99
  • 16
    RING NAN-206 – Part Number: IH-473475-R1
    RING NAN-206
    Part Number: IH-473475-R1
      Special Order
    $16.35
  • 18
    GASKET – Part Number: IH-350837-R3
    GASKET
    Part Number: IH-350837-R3
      Special Order
    $42.63
  • 18
    STATOR-BRAKE – Part Number: IH-548122-R2
    STATOR-BRAKE
    Part Number: IH-548122-R2
      Special Order
    $101.64
  • 23
    GASKET – Part Number: 921-3004
    GASKET
    Part Number: 921-3004
      On Order
    $16.97
  • 23
    NUT, 1/4-28 HEX JAM – Part Number: IH-25930-R2
    NUT, 1/4-28 HEX JAM
    Part Number: IH-25930-R2
      Special Order
    $7.04
  • 24
    BEARING – Part Number: IH-ST436P
    BEARING
    Part Number: IH-ST436P
      Special Order
    $121.78
  • 25
    SWITCH-NEUTRAL STA – Part Number: 925-3038
    SWITCH-NEUTRAL STA
    Part Number: 925-3038
      On Order
    $103.68
  • 26
    SWITCH-IGNITION – Part Number: IH-60736-C3
    SWITCH-IGNITION
    Part Number: IH-60736-C3
      Special Order
    $115.63
  • 27
    KEY-IGNITION – Part Number: IH-131313-C2
    KEY-IGNITION
    Part Number: IH-131313-C2
      Special Order
    $19.44
  • 28
    WASHER – Part Number: IH-375431-R1
    WASHER
    Part Number: IH-375431-R1
      Special Order
    $18.85
  • 28
    PIPE – Part Number: SU-3101069
    PIPE
    Part Number: SU-3101069
      Special Order
    $58.70
  • 29
    NUT – Part Number: IH-365502-R1
    NUT
    Part Number: IH-365502-R1
      Special Order
    $18.11
  • 30
    SCREW – Part Number: IH-59980-C1
    SCREW
    Part Number: IH-59980-C1
      Special Order
    $6.16
  • 31
    SHOE-PTO BRAKE – Part Number: IH-59973-C1
    SHOE-PTO BRAKE
    Part Number: IH-59973-C1
      Special Order
    $184.92
  • 34
    PLUG ASM – Part Number: SU-4800323
    PLUG ASM
    Part Number: SU-4800323
      Special Order
    $51.69
  • 35
    Oil Filter – Part Number: 923-3014
    Oil Filter
    Part Number: 923-3014
      In Stock
    $23.78
  • 37
    VALVE ASSY – Part Number: SU-9500085P
    VALVE ASSY
    Part Number: SU-9500085P
      Special Order
    $571.20
  • 47
    OIL SEAL – Part Number: 921-3032
    OIL SEAL
    Part Number: 921-3032
    ★★★★★
    ★★★★★
    (1)
      Special Order
    $27.31
  • 48
    SHIM .014 – Part Number: 717-3099
    SHIM .014
    Part Number: 717-3099
      Special Order
    $53.83
  • 49
    PULLEY – Part Number: KH-231591
    PULLEY
    Part Number: KH-231591
      Special Order
    $297.40
  • 50
    DISC-FLEX COUPLING – Part Number: IH-376257-R3
    DISC-FLEX COUPLING
    Part Number: IH-376257-R3
      Special Order
    $62.97
  • 52
    CUP ASSEMBLY – Part Number: KH-41-071-03
    CUP ASSEMBLY
    Part Number: KH-41-071-03
      Special Order
    $195.55
  • 102
    POINTS-BREAKER – Part Number: KH-47-150-03
    POINTS-BREAKER
    Part Number: KH-47-150-03
      Special Order
    $32.28
  • 113
    BELT 3/8 X 31 11/1 – Part Number: IH-401960-R1
    BELT 3/8 X 31 11/1
    Part Number: IH-401960-R1
      Special Order
    $28.62
Hydraulic Lift
Hydraulic Lift Diagram and Parts List for 2050048U Cub Cadet Lawn Tractor
  • 1
    ROD-ASSY DRIVE – Part Number: IH-545511-R1
    ROD-ASSY DRIVE
    Part Number: IH-545511-R1
      Special Order
    $152.31
  • 1
    PLATE ASSY-DAMPER – Part Number: 903-0194
    PLATE ASSY-DAMPER
    Part Number: 903-0194
      Special Order
    $154.42
  • 2
    HUB – Part Number: IH-394034-R32
    HUB
    Part Number: IH-394034-R32
      Special Order
    $176.79
  • 2
    BEARING-COLUMN – Part Number: 941-3023
    BEARING-COLUMN
    Part Number: 941-3023
      Special Order
    $13.01
  • 2
    BOLT-WHEEL – Part Number: 710-3027
    BOLT-WHEEL
    Part Number: 710-3027
      Special Order
    $37.56
  • 3
    BEARING – Part Number: SU-9001370-0003
    BEARING
    Part Number: SU-9001370-0003
      Special Order
    $189.62
  • 3
    CONTROL-CHOKE – Part Number: IH-401439-R93
    CONTROL-CHOKE
    Part Number: IH-401439-R93
      Special Order
    $80.96
  • 3
    PIN – Part Number: IH-19837-R2
    PIN
    Part Number: IH-19837-R2
      Special Order
    $13.88
  • 3
    SPRING-COMPRESSION – Part Number: 932-3012
    SPRING-COMPRESSION
    Part Number: 932-3012
      Special Order
    $11.06
  • 4
    SPRING-COMPRESSION – Part Number: 932-3013
    SPRING-COMPRESSION
    Part Number: 932-3013
      Special Order
    $11.35
  • 4
    OIL SEAL – Part Number: 921-3032
    OIL SEAL
    Part Number: 921-3032
    ★★★★★
    ★★★★★
    (1)
      Special Order
    $27.31
  • 4
    ARM-COUPLING – Part Number: 759-3009
    ARM-COUPLING
    Part Number: 759-3009
      Special Order
    $146.62
  • 4
    Ball Joint Assembly – Part Number: 923-3000
    Ball Joint Assembly
    Part Number: 923-3000
      In Stock
    $33.88
  • 5
    FAN – Part Number: IH-547749-R2
    FAN
    Part Number: IH-547749-R2
    ★★★★★
    ★★★★★
    (1)
      Special Order
    $36.11
  • 5
    GASKET-AXLE CARRIE – Part Number: 721P3014
    GASKET-AXLE CARRIE
    Part Number: 721P3014
      On Order
    $21.09
  • 5
    SPRING GUIDE PIN – Part Number: 711-3033
    SPRING GUIDE PIN
    Part Number: 711-3033
      In Stock
    $24.57
  • 5
    Cotter Pin – Part Number: 714-3020
    Cotter Pin
    Part Number: 714-3020
      Special Order
    Minimum Quantity of 2 required
    $6.16
  • 6
    Fuel Shut-Off – Part Number: 951-3015
    Fuel Shut-Off
    Part Number: 951-3015
      Special Order
    $48.15
  • 7
    KNUCKLE-RH STEERIN – Part Number: IH-544217-R1
    KNUCKLE-RH STEERIN
    Part Number: IH-544217-R1
      Special Order
    $407.36
  • 7
    BUMPER – Part Number: IH-128509-H1
    BUMPER
    Part Number: IH-128509-H1
      Special Order
    $7.48
  • 7
    SPRING-LIFT HDLE – Part Number: 932-3005
    SPRING-LIFT HDLE
    Part Number: 932-3005
      On Order
    $13.84
  • 8
    BUSHING – Part Number: IH-394048-R1
    BUSHING
    Part Number: IH-394048-R1
      Special Order
    $42.03
  • 9
    SPRING-LIFT HDLE – Part Number: 932-3005
    SPRING-LIFT HDLE
    Part Number: 932-3005
      On Order
    $13.84
  • 9
    Bolt-hex – Part Number: 710-3020
    Bolt-hex
    Part Number: 710-3020
      No Longer Available
  • 10
    RETAINER/BALL ASSY – Part Number: 941-3021
    RETAINER/BALL ASSY
    Part Number: 941-3021
      Special Order
    $53.99
  • 10
    PAD-BRAKE & CLUTCH – Part Number: 924-3000
    PAD-BRAKE & CLUTCH
    Part Number: 924-3000
      Special Order
    $31.21
  • 10
    Ring, Retaining – Part Number: 716-0865
    Ring, Retaining
    Part Number: 716-0865
      In Stock
    $6.99
  • 11
    Connector-swivel tube 37 degree – Part Number: 927-3002
    Connector-swivel tube 37 degree
    Part Number: 927-3002
      Special Order
    $19.75
  • 12
    HINGE – Part Number: IH-545508-R2
    HINGE
    Part Number: IH-545508-R2
      Special Order
    $34.27
  • 12
    Case Assy, Transmission – Part Number: IH-394081-R91
    Case Assy, Transmission
    Part Number: IH-394081-R91
      No Longer Available
  • 12
    Ball Joint Assembly – Part Number: 923-3000
    Ball Joint Assembly
    Part Number: 923-3000
      In Stock
    $33.88
  • 12
    Ring-o-3/8 od tube – Part Number: 721-3001
    Ring-o-3/8 od tube
    Part Number: 721-3001
      Special Order
    $6.16
  • 13
    STATOR-BRAKE – Part Number: IH-548122-R2
    STATOR-BRAKE
    Part Number: IH-548122-R2
      Special Order
    $101.64
  • 13
    SPRING-EXTENSION – Part Number: 932-3015
    SPRING-EXTENSION
    Part Number: 932-3015
      Special Order
    $19.44
  • 13
    Harness Retainer – Part Number: 726-0272
    Harness Retainer
    Part Number: 726-0272
      Special Order
    $11.31
  • 14
    BUTTON – Part Number: IH-59982-C1
    BUTTON
    Part Number: IH-59982-C1
      Special Order
    $33.42
  • 15
    SPRING – Part Number: IH-543969-R1
    SPRING
    Part Number: IH-543969-R1
      Special Order
    $40.86
  • 15
    SPRING – Part Number: IH-391347-R2
    SPRING
    Part Number: IH-391347-R2
      Special Order
    $25.59
  • 15
    CLEVIS-ADJ ROD END – Part Number: 719-3018
    CLEVIS-ADJ ROD END
    Part Number: 719-3018
      Special Order
    $62.50
  • 15
    Fitting-90 deg hyd – Part Number: 727-3012
    Fitting-90 deg hyd
    Part Number: 727-3012
      Special Order
    $38.50
  • 15
    Gear assy-steering – Part Number: 703-1085
    Gear assy-steering
    Part Number: 703-1085
      No Longer Available
  • 16
    RING NAN-206 – Part Number: IH-473475-R1
    RING NAN-206
    Part Number: IH-473475-R1
      Special Order
    $16.35
  • 16
    RETAINER/BALL ASSY – Part Number: 941-3021
    RETAINER/BALL ASSY
    Part Number: 941-3021
      Special Order
    $53.99
  • 16
    Ring-o-3/8 od tube – Part Number: 721-3001
    Ring-o-3/8 od tube
    Part Number: 721-3001
      Special Order
    $6.16
  • 18
    STATOR-BRAKE – Part Number: IH-548122-R2
    STATOR-BRAKE
    Part Number: IH-548122-R2
      Special Order
    $101.64
  • 18
    GASKET – Part Number: IH-350837-R3
    GASKET
    Part Number: IH-350837-R3
      Special Order
    $42.63
  • 23
    NUT, 1/4-28 HEX JAM – Part Number: IH-25930-R2
    NUT, 1/4-28 HEX JAM
    Part Number: IH-25930-R2
      Special Order
    $7.04
  • 23
    GASKET – Part Number: 921-3004
    GASKET
    Part Number: 921-3004
      On Order
    $16.97
  • 24
    BEARING – Part Number: IH-ST436P
    BEARING
    Part Number: IH-ST436P
      Special Order
    $121.78
  • 25
    SWITCH-NEUTRAL STA – Part Number: 925-3038
    SWITCH-NEUTRAL STA
    Part Number: 925-3038
      On Order
    $103.68
  • 26
    SWITCH-IGNITION – Part Number: IH-60736-C3
    SWITCH-IGNITION
    Part Number: IH-60736-C3
      Special Order
    $115.63
  • 27
    KEY-IGNITION – Part Number: IH-131313-C2
    KEY-IGNITION
    Part Number: IH-131313-C2
      Special Order
    $19.44
  • 28
    PIPE – Part Number: SU-3101069
    PIPE
    Part Number: SU-3101069
      Special Order
    $58.70
  • 28
    WASHER – Part Number: IH-375431-R1
    WASHER
    Part Number: IH-375431-R1
      Special Order
    $18.85
  • 29
    NUT – Part Number: IH-365502-R1
    NUT
    Part Number: IH-365502-R1
      Special Order
    $18.11
  • 30
    SCREW – Part Number: IH-59980-C1
    SCREW
    Part Number: IH-59980-C1
      Special Order
    $6.16
  • 31
    SHOE-PTO BRAKE – Part Number: IH-59973-C1
    SHOE-PTO BRAKE
    Part Number: IH-59973-C1
      Special Order
    $184.92
  • 34
    PLUG ASM – Part Number: SU-4800323
    PLUG ASM
    Part Number: SU-4800323
      Special Order
    $51.69
  • 35
    Oil Filter – Part Number: 923-3014
    Oil Filter
    Part Number: 923-3014
      In Stock
    $23.78
  • 37
    VALVE ASSY – Part Number: SU-9500085P
    VALVE ASSY
    Part Number: SU-9500085P
      Special Order
    $571.20
  • 47
    OIL SEAL – Part Number: 921-3032
    OIL SEAL
    Part Number: 921-3032
    ★★★★★
    ★★★★★
    (1)
      Special Order
    $27.31
  • 48
    SHIM .014 – Part Number: 717-3099
    SHIM .014
    Part Number: 717-3099
      Special Order
    $53.83
  • 49
    PULLEY – Part Number: KH-231591
    PULLEY
    Part Number: KH-231591
      Special Order
    $297.40
  • 50
    DISC-FLEX COUPLING – Part Number: IH-376257-R3
    DISC-FLEX COUPLING
    Part Number: IH-376257-R3
      Special Order
    $62.97
  • 52
    CUP ASSEMBLY – Part Number: KH-41-071-03
    CUP ASSEMBLY
    Part Number: KH-41-071-03
      Special Order
    $195.55
  • 102
    POINTS-BREAKER – Part Number: KH-47-150-03
    POINTS-BREAKER
    Part Number: KH-47-150-03
      Special Order
    $32.28
  • 113
    BELT 3/8 X 31 11/1 – Part Number: IH-401960-R1
    BELT 3/8 X 31 11/1
    Part Number: IH-401960-R1
      Special Order
    $28.62
Hydrostatic Transmission
Hydrostatic Transmission Diagram and Parts List for 2050048U Cub Cadet Lawn Tractor
  • 1
    PLATE ASSY-DAMPER – Part Number: 903-0194
    PLATE ASSY-DAMPER
    Part Number: 903-0194
      Special Order
    $154.42
  • 1
    ROD-ASSY DRIVE – Part Number: IH-545511-R1
    ROD-ASSY DRIVE
    Part Number: IH-545511-R1
      Special Order
    $152.31
  • 2
    BOLT-WHEEL – Part Number: 710-3027
    BOLT-WHEEL
    Part Number: 710-3027
      Special Order
    $37.56
  • 2
    BEARING-COLUMN – Part Number: 941-3023
    BEARING-COLUMN
    Part Number: 941-3023
      Special Order
    $13.01
  • 2
    HUB – Part Number: IH-394034-R32
    HUB
    Part Number: IH-394034-R32
      Special Order
    $176.79
  • 3
    SPRING-COMPRESSION – Part Number: 932-3012
    SPRING-COMPRESSION
    Part Number: 932-3012
      Special Order
    $11.06
  • 3
    PIN – Part Number: IH-19837-R2
    PIN
    Part Number: IH-19837-R2
      Special Order
    $13.88
  • 3
    CONTROL-CHOKE – Part Number: IH-401439-R93
    CONTROL-CHOKE
    Part Number: IH-401439-R93
      Special Order
    $80.96
  • 3
    BEARING – Part Number: SU-9001370-0003
    BEARING
    Part Number: SU-9001370-0003
      Special Order
    $189.62
  • 4
    Ball Joint Assembly – Part Number: 923-3000
    Ball Joint Assembly
    Part Number: 923-3000
      In Stock
    $33.88
  • 4
    ARM-COUPLING – Part Number: 759-3009
    ARM-COUPLING
    Part Number: 759-3009
      Special Order
    $146.62
  • 4
    OIL SEAL – Part Number: 921-3032
    OIL SEAL
    Part Number: 921-3032
    ★★★★★
    ★★★★★
    (1)
      Special Order
    $27.31
  • 4
    SPRING-COMPRESSION – Part Number: 932-3013
    SPRING-COMPRESSION
    Part Number: 932-3013
      Special Order
    $11.35
  • 5
    Cotter Pin – Part Number: 714-3020
    Cotter Pin
    Part Number: 714-3020
      Special Order
    Minimum Quantity of 2 required
    $6.16
  • 5
    SPRING GUIDE PIN – Part Number: 711-3033
    SPRING GUIDE PIN
    Part Number: 711-3033
      In Stock
    $24.57
  • 5
    GASKET-AXLE CARRIE – Part Number: 721P3014
    GASKET-AXLE CARRIE
    Part Number: 721P3014
      On Order
    $21.09
  • 5
    FAN – Part Number: IH-547749-R2
    FAN
    Part Number: IH-547749-R2
    ★★★★★
    ★★★★★
    (1)
      Special Order
    $36.11
  • 6
    Fuel Shut-Off – Part Number: 951-3015
    Fuel Shut-Off
    Part Number: 951-3015
      Special Order
    $48.15
  • 7
    SPRING-LIFT HDLE – Part Number: 932-3005
    SPRING-LIFT HDLE
    Part Number: 932-3005
      On Order
    $13.84
  • 7
    BUMPER – Part Number: IH-128509-H1
    BUMPER
    Part Number: IH-128509-H1
      Special Order
    $7.48
  • 7
    KNUCKLE-RH STEERIN – Part Number: IH-544217-R1
    KNUCKLE-RH STEERIN
    Part Number: IH-544217-R1
      Special Order
    $407.36
  • 8
    BUSHING – Part Number: IH-394048-R1
    BUSHING
    Part Number: IH-394048-R1
      Special Order
    $42.03
  • 9
    Bolt-hex – Part Number: 710-3020
    Bolt-hex
    Part Number: 710-3020
      No Longer Available
  • 9
    SPRING-LIFT HDLE – Part Number: 932-3005
    SPRING-LIFT HDLE
    Part Number: 932-3005
      On Order
    $13.84
  • 10
    Ring, Retaining – Part Number: 716-0865
    Ring, Retaining
    Part Number: 716-0865
      In Stock
    $6.99
  • 10
    PAD-BRAKE & CLUTCH – Part Number: 924-3000
    PAD-BRAKE & CLUTCH
    Part Number: 924-3000
      Special Order
    $31.21
  • 10
    RETAINER/BALL ASSY – Part Number: 941-3021
    RETAINER/BALL ASSY
    Part Number: 941-3021
      Special Order
    $53.99
  • 11
    Connector-swivel tube 37 degree – Part Number: 927-3002
    Connector-swivel tube 37 degree
    Part Number: 927-3002
      Special Order
    $19.75
  • 12
    Ring-o-3/8 od tube – Part Number: 721-3001
    Ring-o-3/8 od tube
    Part Number: 721-3001
      Special Order
    $6.16
  • 12
    Ball Joint Assembly – Part Number: 923-3000
    Ball Joint Assembly
    Part Number: 923-3000
      In Stock
    $33.88
  • 12
    Case Assy, Transmission – Part Number: IH-394081-R91
    Case Assy, Transmission
    Part Number: IH-394081-R91
      No Longer Available
  • 12
    HINGE – Part Number: IH-545508-R2
    HINGE
    Part Number: IH-545508-R2
      Special Order
    $34.27
  • 13
    Harness Retainer – Part Number: 726-0272
    Harness Retainer
    Part Number: 726-0272
      Special Order
    $11.31
  • 13
    SPRING-EXTENSION – Part Number: 932-3015
    SPRING-EXTENSION
    Part Number: 932-3015
      Special Order
    $19.44
  • 13
    STATOR-BRAKE – Part Number: IH-548122-R2
    STATOR-BRAKE
    Part Number: IH-548122-R2
      Special Order
    $101.64
  • 14
    BUTTON – Part Number: IH-59982-C1
    BUTTON
    Part Number: IH-59982-C1
      Special Order
    $33.42
  • 15
    Gear assy-steering – Part Number: 703-1085
    Gear assy-steering
    Part Number: 703-1085
      No Longer Available
  • 15
    Fitting-90 deg hyd – Part Number: 727-3012
    Fitting-90 deg hyd
    Part Number: 727-3012
      Special Order
    $38.50
  • 15
    CLEVIS-ADJ ROD END – Part Number: 719-3018
    CLEVIS-ADJ ROD END
    Part Number: 719-3018
      Special Order
    $62.50
  • 15
    SPRING – Part Number: IH-391347-R2
    SPRING
    Part Number: IH-391347-R2
      Special Order
    $25.59
  • 15
    SPRING – Part Number: IH-543969-R1
    SPRING
    Part Number: IH-543969-R1
      Special Order
    $40.86
  • 16
    Ring-o-3/8 od tube – Part Number: 721-3001
    Ring-o-3/8 od tube
    Part Number: 721-3001
      Special Order
    $6.16
  • 16
    RETAINER/BALL ASSY – Part Number: 941-3021
    RETAINER/BALL ASSY
    Part Number: 941-3021
      Special Order
    $53.99
  • 16
    RING NAN-206 – Part Number: IH-473475-R1
    RING NAN-206
    Part Number: IH-473475-R1
      Special Order
    $16.35
  • 18
    GASKET – Part Number: IH-350837-R3
    GASKET
    Part Number: IH-350837-R3
      Special Order
    $42.63
  • 18
    STATOR-BRAKE – Part Number: IH-548122-R2
    STATOR-BRAKE
    Part Number: IH-548122-R2
      Special Order
    $101.64
  • 23
    GASKET – Part Number: 921-3004
    GASKET
    Part Number: 921-3004
      On Order
    $16.97
  • 23
    NUT, 1/4-28 HEX JAM – Part Number: IH-25930-R2
    NUT, 1/4-28 HEX JAM
    Part Number: IH-25930-R2
      Special Order
    $7.04
  • 24
    BEARING – Part Number: IH-ST436P
    BEARING
    Part Number: IH-ST436P
      Special Order
    $121.78
  • 25
    SWITCH-NEUTRAL STA – Part Number: 925-3038
    SWITCH-NEUTRAL STA
    Part Number: 925-3038
      On Order
    $103.68
  • 26
    SWITCH-IGNITION – Part Number: IH-60736-C3
    SWITCH-IGNITION
    Part Number: IH-60736-C3
      Special Order
    $115.63
  • 27
    KEY-IGNITION – Part Number: IH-131313-C2
    KEY-IGNITION
    Part Number: IH-131313-C2
      Special Order
    $19.44
  • 28
    WASHER – Part Number: IH-375431-R1
    WASHER
    Part Number: IH-375431-R1
      Special Order
    $18.85
  • 28
    PIPE – Part Number: SU-3101069
    PIPE
    Part Number: SU-3101069
      Special Order
    $58.70
  • 29
    NUT – Part Number: IH-365502-R1
    NUT
    Part Number: IH-365502-R1
      Special Order
    $18.11
  • 30
    SCREW – Part Number: IH-59980-C1
    SCREW
    Part Number: IH-59980-C1
      Special Order
    $6.16
  • 31
    SHOE-PTO BRAKE – Part Number: IH-59973-C1
    SHOE-PTO BRAKE
    Part Number: IH-59973-C1
      Special Order
    $184.92
  • 34
    PLUG ASM – Part Number: SU-4800323
    PLUG ASM
    Part Number: SU-4800323
      Special Order
    $51.69
  • 35
    Oil Filter – Part Number: 923-3014
    Oil Filter
    Part Number: 923-3014
      In Stock
    $23.78
  • 37
    VALVE ASSY – Part Number: SU-9500085P
    VALVE ASSY
    Part Number: SU-9500085P
      Special Order
    $571.20
  • 47
    OIL SEAL – Part Number: 921-3032
    OIL SEAL
    Part Number: 921-3032
    ★★★★★
    ★★★★★
    (1)
      Special Order
    $27.31
  • 48
    SHIM .014 – Part Number: 717-3099
    SHIM .014
    Part Number: 717-3099
      Special Order
    $53.83
  • 49
    PULLEY – Part Number: KH-231591
    PULLEY
    Part Number: KH-231591
      Special Order
    $297.40
  • 50
    DISC-FLEX COUPLING – Part Number: IH-376257-R3
    DISC-FLEX COUPLING
    Part Number: IH-376257-R3
      Special Order
    $62.97
  • 52
    CUP ASSEMBLY – Part Number: KH-41-071-03
    CUP ASSEMBLY
    Part Number: KH-41-071-03
      Special Order
    $195.55
  • 102
    POINTS-BREAKER – Part Number: KH-47-150-03
    POINTS-BREAKER
    Part Number: KH-47-150-03
      Special Order
    $32.28
  • 113
    BELT 3/8 X 31 11/1 – Part Number: IH-401960-R1
    BELT 3/8 X 31 11/1
    Part Number: IH-401960-R1
      Special Order
    $28.62
Manual Lift Handle & Connections
Manual Lift Handle & Connections Diagram and Parts List for 2050048U Cub Cadet Lawn Tractor
  • 1
    ROD-ASSY DRIVE – Part Number: IH-545511-R1
    ROD-ASSY DRIVE
    Part Number: IH-545511-R1
      Special Order
    $152.31
  • 1
    PLATE ASSY-DAMPER – Part Number: 903-0194
    PLATE ASSY-DAMPER
    Part Number: 903-0194
      Special Order
    $154.42
  • 2
    HUB – Part Number: IH-394034-R32
    HUB
    Part Number: IH-394034-R32
      Special Order
    $176.79
  • 2
    BEARING-COLUMN – Part Number: 941-3023
    BEARING-COLUMN
    Part Number: 941-3023
      Special Order
    $13.01
  • 2
    BOLT-WHEEL – Part Number: 710-3027
    BOLT-WHEEL
    Part Number: 710-3027
      Special Order
    $37.56
  • 3
    BEARING – Part Number: SU-9001370-0003
    BEARING
    Part Number: SU-9001370-0003
      Special Order
    $189.62
  • 3
    CONTROL-CHOKE – Part Number: IH-401439-R93
    CONTROL-CHOKE
    Part Number: IH-401439-R93
      Special Order
    $80.96
  • 3
    PIN – Part Number: IH-19837-R2
    PIN
    Part Number: IH-19837-R2
      Special Order
    $13.88
  • 3
    SPRING-COMPRESSION – Part Number: 932-3012
    SPRING-COMPRESSION
    Part Number: 932-3012
      Special Order
    $11.06
  • 4
    SPRING-COMPRESSION – Part Number: 932-3013
    SPRING-COMPRESSION
    Part Number: 932-3013
      Special Order
    $11.35
  • 4
    OIL SEAL – Part Number: 921-3032
    OIL SEAL
    Part Number: 921-3032
    ★★★★★
    ★★★★★
    (1)
      Special Order
    $27.31
  • 4
    ARM-COUPLING – Part Number: 759-3009
    ARM-COUPLING
    Part Number: 759-3009
      Special Order
    $146.62
  • 4
    Ball Joint Assembly – Part Number: 923-3000
    Ball Joint Assembly
    Part Number: 923-3000
      In Stock
    $33.88
  • 5
    FAN – Part Number: IH-547749-R2
    FAN
    Part Number: IH-547749-R2
    ★★★★★
    ★★★★★
    (1)
      Special Order
    $36.11
  • 5
    GASKET-AXLE CARRIE – Part Number: 721P3014
    GASKET-AXLE CARRIE
    Part Number: 721P3014
      On Order
    $21.09
  • 5
    SPRING GUIDE PIN – Part Number: 711-3033
    SPRING GUIDE PIN
    Part Number: 711-3033
      In Stock
    $24.57
  • 5
    Cotter Pin – Part Number: 714-3020
    Cotter Pin
    Part Number: 714-3020
      Special Order
    Minimum Quantity of 2 required
    $6.16
  • 6
    Fuel Shut-Off – Part Number: 951-3015
    Fuel Shut-Off
    Part Number: 951-3015
      Special Order
    $48.15
  • 7
    KNUCKLE-RH STEERIN – Part Number: IH-544217-R1
    KNUCKLE-RH STEERIN
    Part Number: IH-544217-R1
      Special Order
    $407.36
  • 7
    BUMPER – Part Number: IH-128509-H1
    BUMPER
    Part Number: IH-128509-H1
      Special Order
    $7.48
  • 7
    SPRING-LIFT HDLE – Part Number: 932-3005
    SPRING-LIFT HDLE
    Part Number: 932-3005
      On Order
    $13.84
  • 8
    BUSHING – Part Number: IH-394048-R1
    BUSHING
    Part Number: IH-394048-R1
      Special Order
    $42.03
  • 9
    SPRING-LIFT HDLE – Part Number: 932-3005
    SPRING-LIFT HDLE
    Part Number: 932-3005
      On Order
    $13.84
  • 9
    Bolt-hex – Part Number: 710-3020
    Bolt-hex
    Part Number: 710-3020
      No Longer Available
  • 10
    RETAINER/BALL ASSY – Part Number: 941-3021
    RETAINER/BALL ASSY
    Part Number: 941-3021
      Special Order
    $53.99
  • 10
    PAD-BRAKE & CLUTCH – Part Number: 924-3000
    PAD-BRAKE & CLUTCH
    Part Number: 924-3000
      Special Order
    $31.21
  • 10
    Ring, Retaining – Part Number: 716-0865
    Ring, Retaining
    Part Number: 716-0865
      In Stock
    $6.99
  • 11
    Connector-swivel tube 37 degree – Part Number: 927-3002
    Connector-swivel tube 37 degree
    Part Number: 927-3002
      Special Order
    $19.75
  • 12
    HINGE – Part Number: IH-545508-R2
    HINGE
    Part Number: IH-545508-R2
      Special Order
    $34.27
  • 12
    Case Assy, Transmission – Part Number: IH-394081-R91
    Case Assy, Transmission
    Part Number: IH-394081-R91
      No Longer Available
  • 12
    Ball Joint Assembly – Part Number: 923-3000
    Ball Joint Assembly
    Part Number: 923-3000
      In Stock
    $33.88
  • 12
    Ring-o-3/8 od tube – Part Number: 721-3001
    Ring-o-3/8 od tube
    Part Number: 721-3001
      Special Order
    $6.16
  • 13
    STATOR-BRAKE – Part Number: IH-548122-R2
    STATOR-BRAKE
    Part Number: IH-548122-R2
      Special Order
    $101.64
  • 13
    SPRING-EXTENSION – Part Number: 932-3015
    SPRING-EXTENSION
    Part Number: 932-3015
      Special Order
    $19.44
  • 13
    Harness Retainer – Part Number: 726-0272
    Harness Retainer
    Part Number: 726-0272
      Special Order
    $11.31
  • 14
    BUTTON – Part Number: IH-59982-C1
    BUTTON
    Part Number: IH-59982-C1
      Special Order
    $33.42
  • 15
    SPRING – Part Number: IH-543969-R1
    SPRING
    Part Number: IH-543969-R1
      Special Order
    $40.86
  • 15
    SPRING – Part Number: IH-391347-R2
    SPRING
    Part Number: IH-391347-R2
      Special Order
    $25.59
  • 15
    CLEVIS-ADJ ROD END – Part Number: 719-3018
    CLEVIS-ADJ ROD END
    Part Number: 719-3018
      Special Order
    $62.50
  • 15
    Fitting-90 deg hyd – Part Number: 727-3012
    Fitting-90 deg hyd
    Part Number: 727-3012
      Special Order
    $38.50
  • 15
    Gear assy-steering – Part Number: 703-1085
    Gear assy-steering
    Part Number: 703-1085
      No Longer Available
  • 16
    RING NAN-206 – Part Number: IH-473475-R1
    RING NAN-206
    Part Number: IH-473475-R1
      Special Order
    $16.35
  • 16
    RETAINER/BALL ASSY – Part Number: 941-3021
    RETAINER/BALL ASSY
    Part Number: 941-3021
      Special Order
    $53.99
  • 16
    Ring-o-3/8 od tube – Part Number: 721-3001
    Ring-o-3/8 od tube
    Part Number: 721-3001
      Special Order
    $6.16
  • 18
    STATOR-BRAKE – Part Number: IH-548122-R2
    STATOR-BRAKE
    Part Number: IH-548122-R2
      Special Order
    $101.64
  • 18
    GASKET – Part Number: IH-350837-R3
    GASKET
    Part Number: IH-350837-R3
      Special Order
    $42.63
  • 23
    NUT, 1/4-28 HEX JAM – Part Number: IH-25930-R2
    NUT, 1/4-28 HEX JAM
    Part Number: IH-25930-R2
      Special Order
    $7.04
  • 23
    GASKET – Part Number: 921-3004
    GASKET
    Part Number: 921-3004
      On Order
    $16.97
  • 24
    BEARING – Part Number: IH-ST436P
    BEARING
    Part Number: IH-ST436P
      Special Order
    $121.78
  • 25
    SWITCH-NEUTRAL STA – Part Number: 925-3038
    SWITCH-NEUTRAL STA
    Part Number: 925-3038
      On Order
    $103.68
  • 26
    SWITCH-IGNITION – Part Number: IH-60736-C3
    SWITCH-IGNITION
    Part Number: IH-60736-C3
      Special Order
    $115.63
  • 27
    KEY-IGNITION – Part Number: IH-131313-C2
    KEY-IGNITION
    Part Number: IH-131313-C2
      Special Order
    $19.44
  • 28
    PIPE – Part Number: SU-3101069
    PIPE
    Part Number: SU-3101069
      Special Order
    $58.70
  • 28
    WASHER – Part Number: IH-375431-R1
    WASHER
    Part Number: IH-375431-R1
      Special Order
    $18.85
  • 29
    NUT – Part Number: IH-365502-R1
    NUT
    Part Number: IH-365502-R1
      Special Order
    $18.11
  • 30
    SCREW – Part Number: IH-59980-C1
    SCREW
    Part Number: IH-59980-C1
      Special Order
    $6.16
  • 31
    SHOE-PTO BRAKE – Part Number: IH-59973-C1
    SHOE-PTO BRAKE
    Part Number: IH-59973-C1
      Special Order
    $184.92
  • 34
    PLUG ASM – Part Number: SU-4800323
    PLUG ASM
    Part Number: SU-4800323
      Special Order
    $51.69
  • 35
    Oil Filter – Part Number: 923-3014
    Oil Filter
    Part Number: 923-3014
      In Stock
    $23.78
  • 37
    VALVE ASSY – Part Number: SU-9500085P
    VALVE ASSY
    Part Number: SU-9500085P
      Special Order
    $571.20
  • 47
    OIL SEAL – Part Number: 921-3032
    OIL SEAL
    Part Number: 921-3032
    ★★★★★
    ★★★★★
    (1)
      Special Order
    $27.31
  • 48
    SHIM .014 – Part Number: 717-3099
    SHIM .014
    Part Number: 717-3099
      Special Order
    $53.83
  • 49
    PULLEY – Part Number: KH-231591
    PULLEY
    Part Number: KH-231591
      Special Order
    $297.40
  • 50
    DISC-FLEX COUPLING – Part Number: IH-376257-R3
    DISC-FLEX COUPLING
    Part Number: IH-376257-R3
      Special Order
    $62.97
  • 52
    CUP ASSEMBLY – Part Number: KH-41-071-03
    CUP ASSEMBLY
    Part Number: KH-41-071-03
      Special Order
    $195.55
  • 102
    POINTS-BREAKER – Part Number: KH-47-150-03
    POINTS-BREAKER
    Part Number: KH-47-150-03
      Special Order
    $32.28
  • 113
    BELT 3/8 X 31 11/1 – Part Number: IH-401960-R1
    BELT 3/8 X 31 11/1
    Part Number: IH-401960-R1
      Special Order
    $28.62
Protective Canopy
Protective Canopy Diagram and Parts List for 2050048U Cub Cadet Lawn Tractor
  • 1
    PLATE ASSY-DAMPER – Part Number: 903-0194
    PLATE ASSY-DAMPER
    Part Number: 903-0194
      Special Order
    $154.42
  • 1
    ROD-ASSY DRIVE – Part Number: IH-545511-R1
    ROD-ASSY DRIVE
    Part Number: IH-545511-R1
      Special Order
    $152.31
  • 2
    BOLT-WHEEL – Part Number: 710-3027
    BOLT-WHEEL
    Part Number: 710-3027
      Special Order
    $37.56
  • 2
    BEARING-COLUMN – Part Number: 941-3023
    BEARING-COLUMN
    Part Number: 941-3023
      Special Order
    $13.01
  • 2
    HUB – Part Number: IH-394034-R32
    HUB
    Part Number: IH-394034-R32
      Special Order
    $176.79
  • 3
    SPRING-COMPRESSION – Part Number: 932-3012
    SPRING-COMPRESSION
    Part Number: 932-3012
      Special Order
    $11.06
  • 3
    PIN – Part Number: IH-19837-R2
    PIN
    Part Number: IH-19837-R2
      Special Order
    $13.88
  • 3
    CONTROL-CHOKE – Part Number: IH-401439-R93
    CONTROL-CHOKE
    Part Number: IH-401439-R93
      Special Order
    $80.96
  • 3
    BEARING – Part Number: SU-9001370-0003
    BEARING
    Part Number: SU-9001370-0003
      Special Order
    $189.62
  • 4
    Ball Joint Assembly – Part Number: 923-3000
    Ball Joint Assembly
    Part Number: 923-3000
      In Stock
    $33.88
  • 4
    ARM-COUPLING – Part Number: 759-3009
    ARM-COUPLING
    Part Number: 759-3009
      Special Order
    $146.62
  • 4
    OIL SEAL – Part Number: 921-3032
    OIL SEAL
    Part Number: 921-3032
    ★★★★★
    ★★★★★
    (1)
      Special Order
    $27.31
  • 4
    SPRING-COMPRESSION – Part Number: 932-3013
    SPRING-COMPRESSION
    Part Number: 932-3013
      Special Order
    $11.35
  • 5
    Cotter Pin – Part Number: 714-3020
    Cotter Pin
    Part Number: 714-3020
      Special Order
    Minimum Quantity of 2 required
    $6.16
  • 5
    SPRING GUIDE PIN – Part Number: 711-3033
    SPRING GUIDE PIN
    Part Number: 711-3033
      In Stock
    $24.57
  • 5
    GASKET-AXLE CARRIE – Part Number: 721P3014
    GASKET-AXLE CARRIE
    Part Number: 721P3014
      On Order
    $21.09
  • 5
    FAN – Part Number: IH-547749-R2
    FAN
    Part Number: IH-547749-R2
    ★★★★★
    ★★★★★
    (1)
      Special Order
    $36.11
  • 6
    Fuel Shut-Off – Part Number: 951-3015
    Fuel Shut-Off
    Part Number: 951-3015
      Special Order
    $48.15
  • 7
    SPRING-LIFT HDLE – Part Number: 932-3005
    SPRING-LIFT HDLE
    Part Number: 932-3005
      On Order
    $13.84
  • 7
    BUMPER – Part Number: IH-128509-H1
    BUMPER
    Part Number: IH-128509-H1
      Special Order
    $7.48
  • 7
    KNUCKLE-RH STEERIN – Part Number: IH-544217-R1
    KNUCKLE-RH STEERIN
    Part Number: IH-544217-R1
      Special Order
    $407.36
  • 8
    BUSHING – Part Number: IH-394048-R1
    BUSHING
    Part Number: IH-394048-R1
      Special Order
    $42.03
  • 9
    Bolt-hex – Part Number: 710-3020
    Bolt-hex
    Part Number: 710-3020
      No Longer Available
  • 9
    SPRING-LIFT HDLE – Part Number: 932-3005
    SPRING-LIFT HDLE
    Part Number: 932-3005
      On Order
    $13.84
  • 10
    Ring, Retaining – Part Number: 716-0865
    Ring, Retaining
    Part Number: 716-0865
      In Stock
    $6.99
  • 10
    PAD-BRAKE & CLUTCH – Part Number: 924-3000
    PAD-BRAKE & CLUTCH
    Part Number: 924-3000
      Special Order
    $31.21
  • 10
    RETAINER/BALL ASSY – Part Number: 941-3021
    RETAINER/BALL ASSY
    Part Number: 941-3021
      Special Order
    $53.99
  • 11
    Connector-swivel tube 37 degree – Part Number: 927-3002
    Connector-swivel tube 37 degree
    Part Number: 927-3002
      Special Order
    $19.75
  • 12
    Ring-o-3/8 od tube – Part Number: 721-3001
    Ring-o-3/8 od tube
    Part Number: 721-3001
      Special Order
    $6.16
  • 12
    Ball Joint Assembly – Part Number: 923-3000
    Ball Joint Assembly
    Part Number: 923-3000
      In Stock
    $33.88
  • 12
    Case Assy, Transmission – Part Number: IH-394081-R91
    Case Assy, Transmission
    Part Number: IH-394081-R91
      No Longer Available
  • 12
    HINGE – Part Number: IH-545508-R2
    HINGE
    Part Number: IH-545508-R2
      Special Order
    $34.27
  • 13
    Harness Retainer – Part Number: 726-0272
    Harness Retainer
    Part Number: 726-0272
      Special Order
    $11.31
  • 13
    SPRING-EXTENSION – Part Number: 932-3015
    SPRING-EXTENSION
    Part Number: 932-3015
      Special Order
    $19.44
  • 13
    STATOR-BRAKE – Part Number: IH-548122-R2
    STATOR-BRAKE
    Part Number: IH-548122-R2
      Special Order
    $101.64
  • 14
    BUTTON – Part Number: IH-59982-C1
    BUTTON
    Part Number: IH-59982-C1
      Special Order
    $33.42
  • 15
    Gear assy-steering – Part Number: 703-1085
    Gear assy-steering
    Part Number: 703-1085
      No Longer Available
  • 15
    Fitting-90 deg hyd – Part Number: 727-3012
    Fitting-90 deg hyd
    Part Number: 727-3012
      Special Order
    $38.50
  • 15
    CLEVIS-ADJ ROD END – Part Number: 719-3018
    CLEVIS-ADJ ROD END
    Part Number: 719-3018
      Special Order
    $62.50
  • 15
    SPRING – Part Number: IH-391347-R2
    SPRING
    Part Number: IH-391347-R2
      Special Order
    $25.59
  • 15
    SPRING – Part Number: IH-543969-R1
    SPRING
    Part Number: IH-543969-R1
      Special Order
    $40.86
  • 16
    Ring-o-3/8 od tube – Part Number: 721-3001
    Ring-o-3/8 od tube
    Part Number: 721-3001
      Special Order
    $6.16
  • 16
    RETAINER/BALL ASSY – Part Number: 941-3021
    RETAINER/BALL ASSY
    Part Number: 941-3021
      Special Order
    $53.99
  • 16
    RING NAN-206 – Part Number: IH-473475-R1
    RING NAN-206
    Part Number: IH-473475-R1
      Special Order
    $16.35
  • 18
    GASKET – Part Number: IH-350837-R3
    GASKET
    Part Number: IH-350837-R3
      Special Order
    $42.63
  • 18
    STATOR-BRAKE – Part Number: IH-548122-R2
    STATOR-BRAKE
    Part Number: IH-548122-R2
      Special Order
    $101.64
  • 23
    GASKET – Part Number: 921-3004
    GASKET
    Part Number: 921-3004
      On Order
    $16.97
  • 23
    NUT, 1/4-28 HEX JAM – Part Number: IH-25930-R2
    NUT, 1/4-28 HEX JAM
    Part Number: IH-25930-R2
      Special Order
    $7.04
  • 24
    BEARING – Part Number: IH-ST436P
    BEARING
    Part Number: IH-ST436P
      Special Order
    $121.78
  • 25
    SWITCH-NEUTRAL STA – Part Number: 925-3038
    SWITCH-NEUTRAL STA
    Part Number: 925-3038
      On Order
    $103.68
  • 26
    SWITCH-IGNITION – Part Number: IH-60736-C3
    SWITCH-IGNITION
    Part Number: IH-60736-C3
      Special Order
    $115.63
  • 27
    KEY-IGNITION – Part Number: IH-131313-C2
    KEY-IGNITION
    Part Number: IH-131313-C2
      Special Order
    $19.44
  • 28
    WASHER – Part Number: IH-375431-R1
    WASHER
    Part Number: IH-375431-R1
      Special Order
    $18.85
  • 28
    PIPE – Part Number: SU-3101069
    PIPE
    Part Number: SU-3101069
      Special Order
    $58.70
  • 29
    NUT – Part Number: IH-365502-R1
    NUT
    Part Number: IH-365502-R1
      Special Order
    $18.11
  • 30
    SCREW – Part Number: IH-59980-C1
    SCREW
    Part Number: IH-59980-C1
      Special Order
    $6.16
  • 31
    SHOE-PTO BRAKE – Part Number: IH-59973-C1
    SHOE-PTO BRAKE
    Part Number: IH-59973-C1
      Special Order
    $184.92
  • 34
    PLUG ASM – Part Number: SU-4800323
    PLUG ASM
    Part Number: SU-4800323
      Special Order
    $51.69
  • 35
    Oil Filter – Part Number: 923-3014
    Oil Filter
    Part Number: 923-3014
      In Stock
    $23.78
  • 37
    VALVE ASSY – Part Number: SU-9500085P
    VALVE ASSY
    Part Number: SU-9500085P
      Special Order
    $571.20
  • 47
    OIL SEAL – Part Number: 921-3032
    OIL SEAL
    Part Number: 921-3032
    ★★★★★
    ★★★★★
    (1)
      Special Order
    $27.31
  • 48
    SHIM .014 – Part Number: 717-3099
    SHIM .014
    Part Number: 717-3099
      Special Order
    $53.83
  • 49
    PULLEY – Part Number: KH-231591
    PULLEY
    Part Number: KH-231591
      Special Order
    $297.40
  • 50
    DISC-FLEX COUPLING – Part Number: IH-376257-R3
    DISC-FLEX COUPLING
    Part Number: IH-376257-R3
      Special Order
    $62.97
  • 52
    CUP ASSEMBLY – Part Number: KH-41-071-03
    CUP ASSEMBLY
    Part Number: KH-41-071-03
      Special Order
    $195.55
  • 102
    POINTS-BREAKER – Part Number: KH-47-150-03
    POINTS-BREAKER
    Part Number: KH-47-150-03
      Special Order
    $32.28
  • 113
    BELT 3/8 X 31 11/1 – Part Number: IH-401960-R1
    BELT 3/8 X 31 11/1
    Part Number: IH-401960-R1
      Special Order
    $28.62
Rear Axle
Rear Axle Diagram and Parts List for 2050048U Cub Cadet Lawn Tractor
  • 1
    ROD-ASSY DRIVE – Part Number: IH-545511-R1
    ROD-ASSY DRIVE
    Part Number: IH-545511-R1
      Special Order
    $152.31
  • 1
    PLATE ASSY-DAMPER – Part Number: 903-0194
    PLATE ASSY-DAMPER
    Part Number: 903-0194
      Special Order
    $154.42
  • 2
    HUB – Part Number: IH-394034-R32
    HUB
    Part Number: IH-394034-R32
      Special Order
    $176.79
  • 2
    BEARING-COLUMN – Part Number: 941-3023
    BEARING-COLUMN
    Part Number: 941-3023
      Special Order
    $13.01
  • 2
    BOLT-WHEEL – Part Number: 710-3027
    BOLT-WHEEL
    Part Number: 710-3027
      Special Order
    $37.56
  • 3
    BEARING – Part Number: SU-9001370-0003
    BEARING
    Part Number: SU-9001370-0003
      Special Order
    $189.62
  • 3
    CONTROL-CHOKE – Part Number: IH-401439-R93
    CONTROL-CHOKE
    Part Number: IH-401439-R93
      Special Order
    $80.96
  • 3
    PIN – Part Number: IH-19837-R2
    PIN
    Part Number: IH-19837-R2
      Special Order
    $13.88
  • 3
    SPRING-COMPRESSION – Part Number: 932-3012
    SPRING-COMPRESSION
    Part Number: 932-3012
      Special Order
    $11.06
  • 4
    SPRING-COMPRESSION – Part Number: 932-3013
    SPRING-COMPRESSION
    Part Number: 932-3013
      Special Order
    $11.35
  • 4
    OIL SEAL – Part Number: 921-3032
    OIL SEAL
    Part Number: 921-3032
    ★★★★★
    ★★★★★
    (1)
      Special Order
    $27.31
  • 4
    ARM-COUPLING – Part Number: 759-3009
    ARM-COUPLING
    Part Number: 759-3009
      Special Order
    $146.62
  • 4
    Ball Joint Assembly – Part Number: 923-3000
    Ball Joint Assembly
    Part Number: 923-3000
      In Stock
    $33.88
  • 5
    FAN – Part Number: IH-547749-R2
    FAN
    Part Number: IH-547749-R2
    ★★★★★
    ★★★★★
    (1)
      Special Order
    $36.11
  • 5
    GASKET-AXLE CARRIE – Part Number: 721P3014
    GASKET-AXLE CARRIE
    Part Number: 721P3014
      On Order
    $21.09
  • 5
    SPRING GUIDE PIN – Part Number: 711-3033
    SPRING GUIDE PIN
    Part Number: 711-3033
      In Stock
    $24.57
  • 5
    Cotter Pin – Part Number: 714-3020
    Cotter Pin
    Part Number: 714-3020
      Special Order
    Minimum Quantity of 2 required
    $6.16
  • 6
    Fuel Shut-Off – Part Number: 951-3015
    Fuel Shut-Off
    Part Number: 951-3015
      Special Order
    $48.15
  • 7
    KNUCKLE-RH STEERIN – Part Number: IH-544217-R1
    KNUCKLE-RH STEERIN
    Part Number: IH-544217-R1
      Special Order
    $407.36
  • 7
    BUMPER – Part Number: IH-128509-H1
    BUMPER
    Part Number: IH-128509-H1
      Special Order
    $7.48
  • 7
    SPRING-LIFT HDLE – Part Number: 932-3005
    SPRING-LIFT HDLE
    Part Number: 932-3005
      On Order
    $13.84
  • 8
    BUSHING – Part Number: IH-394048-R1
    BUSHING
    Part Number: IH-394048-R1
      Special Order
    $42.03
  • 9
    SPRING-LIFT HDLE – Part Number: 932-3005
    SPRING-LIFT HDLE
    Part Number: 932-3005
      On Order
    $13.84
  • 9
    Bolt-hex – Part Number: 710-3020
    Bolt-hex
    Part Number: 710-3020
      No Longer Available
  • 10
    RETAINER/BALL ASSY – Part Number: 941-3021
    RETAINER/BALL ASSY
    Part Number: 941-3021
      Special Order
    $53.99
  • 10
    PAD-BRAKE & CLUTCH – Part Number: 924-3000
    PAD-BRAKE & CLUTCH
    Part Number: 924-3000
      Special Order
    $31.21
  • 10
    Ring, Retaining – Part Number: 716-0865
    Ring, Retaining
    Part Number: 716-0865
      In Stock
    $6.99
  • 11
    Connector-swivel tube 37 degree – Part Number: 927-3002
    Connector-swivel tube 37 degree
    Part Number: 927-3002
      Special Order
    $19.75
  • 12
    HINGE – Part Number: IH-545508-R2
    HINGE
    Part Number: IH-545508-R2
      Special Order
    $34.27
  • 12
    Case Assy, Transmission – Part Number: IH-394081-R91
    Case Assy, Transmission
    Part Number: IH-394081-R91
      No Longer Available
  • 12
    Ball Joint Assembly – Part Number: 923-3000
    Ball Joint Assembly
    Part Number: 923-3000
      In Stock
    $33.88
  • 12
    Ring-o-3/8 od tube – Part Number: 721-3001
    Ring-o-3/8 od tube
    Part Number: 721-3001
      Special Order
    $6.16
  • 13
    STATOR-BRAKE – Part Number: IH-548122-R2
    STATOR-BRAKE
    Part Number: IH-548122-R2
      Special Order
    $101.64
  • 13
    SPRING-EXTENSION – Part Number: 932-3015
    SPRING-EXTENSION
    Part Number: 932-3015
      Special Order
    $19.44
  • 13
    Harness Retainer – Part Number: 726-0272
    Harness Retainer
    Part Number: 726-0272
      Special Order
    $11.31
  • 14
    BUTTON – Part Number: IH-59982-C1
    BUTTON
    Part Number: IH-59982-C1
      Special Order
    $33.42
  • 15
    SPRING – Part Number: IH-543969-R1
    SPRING
    Part Number: IH-543969-R1
      Special Order
    $40.86
  • 15
    SPRING – Part Number: IH-391347-R2
    SPRING
    Part Number: IH-391347-R2
      Special Order
    $25.59
  • 15
    CLEVIS-ADJ ROD END – Part Number: 719-3018
    CLEVIS-ADJ ROD END
    Part Number: 719-3018
      Special Order
    $62.50
  • 15
    Fitting-90 deg hyd – Part Number: 727-3012
    Fitting-90 deg hyd
    Part Number: 727-3012
      Special Order
    $38.50
  • 15
    Gear assy-steering – Part Number: 703-1085
    Gear assy-steering
    Part Number: 703-1085
      No Longer Available
  • 16
    RING NAN-206 – Part Number: IH-473475-R1
    RING NAN-206
    Part Number: IH-473475-R1
      Special Order
    $16.35
  • 16
    RETAINER/BALL ASSY – Part Number: 941-3021
    RETAINER/BALL ASSY
    Part Number: 941-3021
      Special Order
    $53.99
  • 16
    Ring-o-3/8 od tube – Part Number: 721-3001
    Ring-o-3/8 od tube
    Part Number: 721-3001
      Special Order
    $6.16
  • 18
    STATOR-BRAKE – Part Number: IH-548122-R2
    STATOR-BRAKE
    Part Number: IH-548122-R2
      Special Order
    $101.64
  • 18
    GASKET – Part Number: IH-350837-R3
    GASKET
    Part Number: IH-350837-R3
      Special Order
    $42.63
  • 23
    NUT, 1/4-28 HEX JAM – Part Number: IH-25930-R2
    NUT, 1/4-28 HEX JAM
    Part Number: IH-25930-R2
      Special Order
    $7.04
  • 23
    GASKET – Part Number: 921-3004
    GASKET
    Part Number: 921-3004
      On Order
    $16.97
  • 24
    BEARING – Part Number: IH-ST436P
    BEARING
    Part Number: IH-ST436P
      Special Order
    $121.78
  • 25
    SWITCH-NEUTRAL STA – Part Number: 925-3038
    SWITCH-NEUTRAL STA
    Part Number: 925-3038
      On Order
    $103.68
  • 26
    SWITCH-IGNITION – Part Number: IH-60736-C3
    SWITCH-IGNITION
    Part Number: IH-60736-C3
      Special Order
    $115.63
  • 27
    KEY-IGNITION – Part Number: IH-131313-C2
    KEY-IGNITION
    Part Number: IH-131313-C2
      Special Order
    $19.44
  • 28
    PIPE – Part Number: SU-3101069
    PIPE
    Part Number: SU-3101069
      Special Order
    $58.70
  • 28
    WASHER – Part Number: IH-375431-R1
    WASHER
    Part Number: IH-375431-R1
      Special Order
    $18.85
  • 29
    NUT – Part Number: IH-365502-R1
    NUT
    Part Number: IH-365502-R1
      Special Order
    $18.11
  • 30
    SCREW – Part Number: IH-59980-C1
    SCREW
    Part Number: IH-59980-C1
      Special Order
    $6.16
  • 31
    SHOE-PTO BRAKE – Part Number: IH-59973-C1
    SHOE-PTO BRAKE
    Part Number: IH-59973-C1
      Special Order
    $184.92
  • 34
    PLUG ASM – Part Number: SU-4800323
    PLUG ASM
    Part Number: SU-4800323
      Special Order
    $51.69
  • 35
    Oil Filter – Part Number: 923-3014
    Oil Filter
    Part Number: 923-3014
      In Stock
    $23.78
  • 37
    VALVE ASSY – Part Number: SU-9500085P
    VALVE ASSY
    Part Number: SU-9500085P
      Special Order
    $571.20
  • 47
    OIL SEAL – Part Number: 921-3032
    OIL SEAL
    Part Number: 921-3032
    ★★★★★
    ★★★★★
    (1)
      Special Order
    $27.31
  • 48
    SHIM .014 – Part Number: 717-3099
    SHIM .014
    Part Number: 717-3099
      Special Order
    $53.83
  • 49
    PULLEY – Part Number: KH-231591
    PULLEY
    Part Number: KH-231591
      Special Order
    $297.40
  • 50
    DISC-FLEX COUPLING – Part Number: IH-376257-R3
    DISC-FLEX COUPLING
    Part Number: IH-376257-R3
      Special Order
    $62.97
  • 52
    CUP ASSEMBLY – Part Number: KH-41-071-03
    CUP ASSEMBLY
    Part Number: KH-41-071-03
      Special Order
    $195.55
  • 102
    POINTS-BREAKER – Part Number: KH-47-150-03
    POINTS-BREAKER
    Part Number: KH-47-150-03
      Special Order
    $32.28
  • 113
    BELT 3/8 X 31 11/1 – Part Number: IH-401960-R1
    BELT 3/8 X 31 11/1
    Part Number: IH-401960-R1
      Special Order
    $28.62
Rear Wheel Weights
Rear Wheel Weights Diagram and Parts List for 2050048U Cub Cadet Lawn Tractor
  • 1
    PLATE ASSY-DAMPER – Part Number: 903-0194
    PLATE ASSY-DAMPER
    Part Number: 903-0194
      Special Order
    $154.42
  • 1
    ROD-ASSY DRIVE – Part Number: IH-545511-R1
    ROD-ASSY DRIVE
    Part Number: IH-545511-R1
      Special Order
    $152.31
  • 2
    BOLT-WHEEL – Part Number: 710-3027
    BOLT-WHEEL
    Part Number: 710-3027
      Special Order
    $37.56
  • 2
    BEARING-COLUMN – Part Number: 941-3023
    BEARING-COLUMN
    Part Number: 941-3023
      Special Order
    $13.01
  • 2
    HUB – Part Number: IH-394034-R32
    HUB
    Part Number: IH-394034-R32
      Special Order
    $176.79
  • 3
    SPRING-COMPRESSION – Part Number: 932-3012
    SPRING-COMPRESSION
    Part Number: 932-3012
      Special Order
    $11.06
  • 3
    PIN – Part Number: IH-19837-R2
    PIN
    Part Number: IH-19837-R2
      Special Order
    $13.88
  • 3
    CONTROL-CHOKE – Part Number: IH-401439-R93
    CONTROL-CHOKE
    Part Number: IH-401439-R93
      Special Order
    $80.96
  • 3
    BEARING – Part Number: SU-9001370-0003
    BEARING
    Part Number: SU-9001370-0003
      Special Order
    $189.62
  • 4
    Ball Joint Assembly – Part Number: 923-3000
    Ball Joint Assembly
    Part Number: 923-3000
      In Stock
    $33.88
  • 4
    ARM-COUPLING – Part Number: 759-3009
    ARM-COUPLING
    Part Number: 759-3009
      Special Order
    $146.62
  • 4
    OIL SEAL – Part Number: 921-3032
    OIL SEAL
    Part Number: 921-3032
    ★★★★★
    ★★★★★
    (1)
      Special Order
    $27.31
  • 4
    SPRING-COMPRESSION – Part Number: 932-3013
    SPRING-COMPRESSION
    Part Number: 932-3013
      Special Order
    $11.35
  • 5
    Cotter Pin – Part Number: 714-3020
    Cotter Pin
    Part Number: 714-3020
      Special Order
    Minimum Quantity of 2 required
    $6.16
  • 5
    SPRING GUIDE PIN – Part Number: 711-3033
    SPRING GUIDE PIN
    Part Number: 711-3033
      In Stock
    $24.57
  • 5
    GASKET-AXLE CARRIE – Part Number: 721P3014
    GASKET-AXLE CARRIE
    Part Number: 721P3014
      On Order
    $21.09
  • 5
    FAN – Part Number: IH-547749-R2
    FAN
    Part Number: IH-547749-R2
    ★★★★★
    ★★★★★
    (1)
      Special Order
    $36.11
  • 6
    Fuel Shut-Off – Part Number: 951-3015
    Fuel Shut-Off
    Part Number: 951-3015
      Special Order
    $48.15
  • 7
    SPRING-LIFT HDLE – Part Number: 932-3005
    SPRING-LIFT HDLE
    Part Number: 932-3005
      On Order
    $13.84
  • 7
    BUMPER – Part Number: IH-128509-H1
    BUMPER
    Part Number: IH-128509-H1
      Special Order
    $7.48
  • 7
    KNUCKLE-RH STEERIN – Part Number: IH-544217-R1
    KNUCKLE-RH STEERIN
    Part Number: IH-544217-R1
      Special Order
    $407.36
  • 8
    BUSHING – Part Number: IH-394048-R1
    BUSHING
    Part Number: IH-394048-R1
      Special Order
    $42.03
  • 9
    Bolt-hex – Part Number: 710-3020
    Bolt-hex
    Part Number: 710-3020
      No Longer Available
  • 9
    SPRING-LIFT HDLE – Part Number: 932-3005
    SPRING-LIFT HDLE
    Part Number: 932-3005
      On Order
    $13.84
  • 10
    Ring, Retaining – Part Number: 716-0865
    Ring, Retaining
    Part Number: 716-0865
      In Stock
    $6.99
  • 10
    PAD-BRAKE & CLUTCH – Part Number: 924-3000
    PAD-BRAKE & CLUTCH
    Part Number: 924-3000
      Special Order
    $31.21
  • 10
    RETAINER/BALL ASSY – Part Number: 941-3021
    RETAINER/BALL ASSY
    Part Number: 941-3021
      Special Order
    $53.99
  • 11
    Connector-swivel tube 37 degree – Part Number: 927-3002
    Connector-swivel tube 37 degree
    Part Number: 927-3002
      Special Order
    $19.75
  • 12
    Ring-o-3/8 od tube – Part Number: 721-3001
    Ring-o-3/8 od tube
    Part Number: 721-3001
      Special Order
    $6.16
  • 12
    Ball Joint Assembly – Part Number: 923-3000
    Ball Joint Assembly
    Part Number: 923-3000
      In Stock
    $33.88
  • 12
    Case Assy, Transmission – Part Number: IH-394081-R91
    Case Assy, Transmission
    Part Number: IH-394081-R91
      No Longer Available
  • 12
    HINGE – Part Number: IH-545508-R2
    HINGE
    Part Number: IH-545508-R2
      Special Order
    $34.27
  • 13
    Harness Retainer – Part Number: 726-0272
    Harness Retainer
    Part Number: 726-0272
      Special Order
    $11.31
  • 13
    SPRING-EXTENSION – Part Number: 932-3015
    SPRING-EXTENSION
    Part Number: 932-3015
      Special Order
    $19.44
  • 13
    STATOR-BRAKE – Part Number: IH-548122-R2
    STATOR-BRAKE
    Part Number: IH-548122-R2
      Special Order
    $101.64
  • 14
    BUTTON – Part Number: IH-59982-C1
    BUTTON
    Part Number: IH-59982-C1
      Special Order
    $33.42
  • 15
    Gear assy-steering – Part Number: 703-1085
    Gear assy-steering
    Part Number: 703-1085
      No Longer Available
  • 15
    Fitting-90 deg hyd – Part Number: 727-3012
    Fitting-90 deg hyd
    Part Number: 727-3012
      Special Order
    $38.50
  • 15
    CLEVIS-ADJ ROD END – Part Number: 719-3018
    CLEVIS-ADJ ROD END
    Part Number: 719-3018
      Special Order
    $62.50
  • 15
    SPRING – Part Number: IH-391347-R2
    SPRING
    Part Number: IH-391347-R2
      Special Order
    $25.59
  • 15
    SPRING – Part Number: IH-543969-R1
    SPRING
    Part Number: IH-543969-R1
      Special Order
    $40.86
  • 16
    Ring-o-3/8 od tube – Part Number: 721-3001
    Ring-o-3/8 od tube
    Part Number: 721-3001
      Special Order
    $6.16
  • 16
    RETAINER/BALL ASSY – Part Number: 941-3021
    RETAINER/BALL ASSY
    Part Number: 941-3021
      Special Order
    $53.99
  • 16
    RING NAN-206 – Part Number: IH-473475-R1
    RING NAN-206
    Part Number: IH-473475-R1
      Special Order
    $16.35
  • 18
    GASKET – Part Number: IH-350837-R3
    GASKET
    Part Number: IH-350837-R3
      Special Order
    $42.63
  • 18
    STATOR-BRAKE – Part Number: IH-548122-R2
    STATOR-BRAKE
    Part Number: IH-548122-R2
      Special Order
    $101.64
  • 23
    GASKET – Part Number: 921-3004
    GASKET
    Part Number: 921-3004
      On Order
    $16.97
  • 23
    NUT, 1/4-28 HEX JAM – Part Number: IH-25930-R2
    NUT, 1/4-28 HEX JAM
    Part Number: IH-25930-R2
      Special Order
    $7.04
  • 24
    BEARING – Part Number: IH-ST436P
    BEARING
    Part Number: IH-ST436P
      Special Order
    $121.78
  • 25
    SWITCH-NEUTRAL STA – Part Number: 925-3038
    SWITCH-NEUTRAL STA
    Part Number: 925-3038
      On Order
    $103.68
  • 26
    SWITCH-IGNITION – Part Number: IH-60736-C3
    SWITCH-IGNITION
    Part Number: IH-60736-C3
      Special Order
    $115.63
  • 27
    KEY-IGNITION – Part Number: IH-131313-C2
    KEY-IGNITION
    Part Number: IH-131313-C2
      Special Order
    $19.44
  • 28
    WASHER – Part Number: IH-375431-R1
    WASHER
    Part Number: IH-375431-R1
      Special Order
    $18.85
  • 28
    PIPE – Part Number: SU-3101069
    PIPE
    Part Number: SU-3101069
      Special Order
    $58.70
  • 29
    NUT – Part Number: IH-365502-R1
    NUT
    Part Number: IH-365502-R1
      Special Order
    $18.11
  • 30
    SCREW – Part Number: IH-59980-C1
    SCREW
    Part Number: IH-59980-C1
      Special Order
    $6.16
  • 31
    SHOE-PTO BRAKE – Part Number: IH-59973-C1
    SHOE-PTO BRAKE
    Part Number: IH-59973-C1
      Special Order
    $184.92
  • 34
    PLUG ASM – Part Number: SU-4800323
    PLUG ASM
    Part Number: SU-4800323
      Special Order
    $51.69
  • 35
    Oil Filter – Part Number: 923-3014
    Oil Filter
    Part Number: 923-3014
      In Stock
    $23.78
  • 37
    VALVE ASSY – Part Number: SU-9500085P
    VALVE ASSY
    Part Number: SU-9500085P
      Special Order
    $571.20
  • 47
    OIL SEAL – Part Number: 921-3032
    OIL SEAL
    Part Number: 921-3032
    ★★★★★
    ★★★★★
    (1)
      Special Order
    $27.31
  • 48
    SHIM .014 – Part Number: 717-3099
    SHIM .014
    Part Number: 717-3099
      Special Order
    $53.83
  • 49
    PULLEY – Part Number: KH-231591
    PULLEY
    Part Number: KH-231591
      Special Order
    $297.40
  • 50
    DISC-FLEX COUPLING – Part Number: IH-376257-R3
    DISC-FLEX COUPLING
    Part Number: IH-376257-R3
      Special Order
    $62.97
  • 52
    CUP ASSEMBLY – Part Number: KH-41-071-03
    CUP ASSEMBLY
    Part Number: KH-41-071-03
      Special Order
    $195.55
  • 102
    POINTS-BREAKER – Part Number: KH-47-150-03
    POINTS-BREAKER
    Part Number: KH-47-150-03
      Special Order
    $32.28
  • 113
    BELT 3/8 X 31 11/1 – Part Number: IH-401960-R1
    BELT 3/8 X 31 11/1
    Part Number: IH-401960-R1
      Special Order
    $28.62
Rear Wheels
Rear Wheels Diagram and Parts List for 2050048U Cub Cadet Lawn Tractor
  • 1
    ROD-ASSY DRIVE – Part Number: IH-545511-R1
    ROD-ASSY DRIVE
    Part Number: IH-545511-R1
      Special Order
    $152.31
  • 1
    PLATE ASSY-DAMPER – Part Number: 903-0194
    PLATE ASSY-DAMPER
    Part Number: 903-0194
      Special Order
    $154.42
  • 2
    HUB – Part Number: IH-394034-R32
    HUB
    Part Number: IH-394034-R32
      Special Order
    $176.79
  • 2
    BEARING-COLUMN – Part Number: 941-3023
    BEARING-COLUMN
    Part Number: 941-3023
      Special Order
    $13.01
  • 2
    BOLT-WHEEL – Part Number: 710-3027
    BOLT-WHEEL
    Part Number: 710-3027
      Special Order
    $37.56
  • 3
    BEARING – Part Number: SU-9001370-0003
    BEARING
    Part Number: SU-9001370-0003
      Special Order
    $189.62
  • 3
    CONTROL-CHOKE – Part Number: IH-401439-R93
    CONTROL-CHOKE
    Part Number: IH-401439-R93
      Special Order
    $80.96
  • 3
    PIN – Part Number: IH-19837-R2
    PIN
    Part Number: IH-19837-R2
      Special Order
    $13.88
  • 3
    SPRING-COMPRESSION – Part Number: 932-3012
    SPRING-COMPRESSION
    Part Number: 932-3012
      Special Order
    $11.06
  • 4
    SPRING-COMPRESSION – Part Number: 932-3013
    SPRING-COMPRESSION
    Part Number: 932-3013
      Special Order
    $11.35
  • 4
    OIL SEAL – Part Number: 921-3032
    OIL SEAL
    Part Number: 921-3032
    ★★★★★
    ★★★★★
    (1)
      Special Order
    $27.31
  • 4
    ARM-COUPLING – Part Number: 759-3009
    ARM-COUPLING
    Part Number: 759-3009
      Special Order
    $146.62
  • 4
    Ball Joint Assembly – Part Number: 923-3000
    Ball Joint Assembly
    Part Number: 923-3000
      In Stock
    $33.88
  • 5
    FAN – Part Number: IH-547749-R2
    FAN
    Part Number: IH-547749-R2
    ★★★★★
    ★★★★★
    (1)
      Special Order
    $36.11
  • 5
    GASKET-AXLE CARRIE – Part Number: 721P3014
    GASKET-AXLE CARRIE
    Part Number: 721P3014
      On Order
    $21.09
  • 5
    SPRING GUIDE PIN – Part Number: 711-3033
    SPRING GUIDE PIN
    Part Number: 711-3033
      In Stock
    $24.57
  • 5
    Cotter Pin – Part Number: 714-3020
    Cotter Pin
    Part Number: 714-3020
      Special Order
    Minimum Quantity of 2 required
    $6.16
  • 6
    Fuel Shut-Off – Part Number: 951-3015
    Fuel Shut-Off
    Part Number: 951-3015
      Special Order
    $48.15
  • 7
    KNUCKLE-RH STEERIN – Part Number: IH-544217-R1
    KNUCKLE-RH STEERIN
    Part Number: IH-544217-R1
      Special Order
    $407.36
  • 7
    BUMPER – Part Number: IH-128509-H1
    BUMPER
    Part Number: IH-128509-H1
      Special Order
    $7.48
  • 7
    SPRING-LIFT HDLE – Part Number: 932-3005
    SPRING-LIFT HDLE
    Part Number: 932-3005
      On Order
    $13.84
  • 8
    BUSHING – Part Number: IH-394048-R1
    BUSHING
    Part Number: IH-394048-R1
      Special Order
    $42.03
  • 9
    SPRING-LIFT HDLE – Part Number: 932-3005
    SPRING-LIFT HDLE
    Part Number: 932-3005
      On Order
    $13.84
  • 9
    Bolt-hex – Part Number: 710-3020
    Bolt-hex
    Part Number: 710-3020
      No Longer Available
  • 10
    RETAINER/BALL ASSY – Part Number: 941-3021
    RETAINER/BALL ASSY
    Part Number: 941-3021
      Special Order
    $53.99
  • 10
    PAD-BRAKE & CLUTCH – Part Number: 924-3000
    PAD-BRAKE & CLUTCH
    Part Number: 924-3000
      Special Order
    $31.21
  • 10
    Ring, Retaining – Part Number: 716-0865
    Ring, Retaining
    Part Number: 716-0865
      In Stock
    $6.99
  • 11
    Connector-swivel tube 37 degree – Part Number: 927-3002
    Connector-swivel tube 37 degree
    Part Number: 927-3002
      Special Order
    $19.75
  • 12
    HINGE – Part Number: IH-545508-R2
    HINGE
    Part Number: IH-545508-R2
      Special Order
    $34.27
  • 12
    Case Assy, Transmission – Part Number: IH-394081-R91
    Case Assy, Transmission
    Part Number: IH-394081-R91
      No Longer Available
  • 12
    Ball Joint Assembly – Part Number: 923-3000
    Ball Joint Assembly
    Part Number: 923-3000
      In Stock
    $33.88
  • 12
    Ring-o-3/8 od tube – Part Number: 721-3001
    Ring-o-3/8 od tube
    Part Number: 721-3001
      Special Order
    $6.16
  • 13
    STATOR-BRAKE – Part Number: IH-548122-R2
    STATOR-BRAKE
    Part Number: IH-548122-R2
      Special Order
    $101.64
  • 13
    SPRING-EXTENSION – Part Number: 932-3015
    SPRING-EXTENSION
    Part Number: 932-3015
      Special Order
    $19.44
  • 13
    Harness Retainer – Part Number: 726-0272
    Harness Retainer
    Part Number: 726-0272
      Special Order
    $11.31
  • 14
    BUTTON – Part Number: IH-59982-C1
    BUTTON
    Part Number: IH-59982-C1
      Special Order
    $33.42
  • 15
    SPRING – Part Number: IH-543969-R1
    SPRING
    Part Number: IH-543969-R1
      Special Order
    $40.86
  • 15
    SPRING – Part Number: IH-391347-R2
    SPRING
    Part Number: IH-391347-R2
      Special Order
    $25.59
  • 15
    CLEVIS-ADJ ROD END – Part Number: 719-3018
    CLEVIS-ADJ ROD END
    Part Number: 719-3018
      Special Order
    $62.50
  • 15
    Fitting-90 deg hyd – Part Number: 727-3012
    Fitting-90 deg hyd
    Part Number: 727-3012
      Special Order
    $38.50
  • 15
    Gear assy-steering – Part Number: 703-1085
    Gear assy-steering
    Part Number: 703-1085
      No Longer Available
  • 16
    RING NAN-206 – Part Number: IH-473475-R1
    RING NAN-206
    Part Number: IH-473475-R1
      Special Order
    $16.35
  • 16
    RETAINER/BALL ASSY – Part Number: 941-3021
    RETAINER/BALL ASSY
    Part Number: 941-3021
      Special Order
    $53.99
  • 16
    Ring-o-3/8 od tube – Part Number: 721-3001
    Ring-o-3/8 od tube
    Part Number: 721-3001
      Special Order
    $6.16
  • 18
    STATOR-BRAKE – Part Number: IH-548122-R2
    STATOR-BRAKE
    Part Number: IH-548122-R2
      Special Order
    $101.64
  • 18
    GASKET – Part Number: IH-350837-R3
    GASKET
    Part Number: IH-350837-R3
      Special Order
    $42.63
  • 23
    NUT, 1/4-28 HEX JAM – Part Number: IH-25930-R2
    NUT, 1/4-28 HEX JAM
    Part Number: IH-25930-R2
      Special Order
    $7.04
  • 23
    GASKET – Part Number: 921-3004
    GASKET
    Part Number: 921-3004
      On Order
    $16.97
  • 24
    BEARING – Part Number: IH-ST436P
    BEARING
    Part Number: IH-ST436P
      Special Order
    $121.78
  • 25
    SWITCH-NEUTRAL STA – Part Number: 925-3038
    SWITCH-NEUTRAL STA
    Part Number: 925-3038
      On Order
    $103.68
  • 26
    SWITCH-IGNITION – Part Number: IH-60736-C3
    SWITCH-IGNITION
    Part Number: IH-60736-C3
      Special Order
    $115.63
  • 27
    KEY-IGNITION – Part Number: IH-131313-C2
    KEY-IGNITION
    Part Number: IH-131313-C2
      Special Order
    $19.44
  • 28
    PIPE – Part Number: SU-3101069
    PIPE
    Part Number: SU-3101069
      Special Order
    $58.70
  • 28
    WASHER – Part Number: IH-375431-R1
    WASHER
    Part Number: IH-375431-R1
      Special Order
    $18.85
  • 29
    NUT – Part Number: IH-365502-R1
    NUT
    Part Number: IH-365502-R1
      Special Order
    $18.11
  • 30
    SCREW – Part Number: IH-59980-C1
    SCREW
    Part Number: IH-59980-C1
      Special Order
    $6.16
  • 31
    SHOE-PTO BRAKE – Part Number: IH-59973-C1
    SHOE-PTO BRAKE
    Part Number: IH-59973-C1
      Special Order
    $184.92
  • 34
    PLUG ASM – Part Number: SU-4800323
    PLUG ASM
    Part Number: SU-4800323
      Special Order
    $51.69
  • 35
    Oil Filter – Part Number: 923-3014
    Oil Filter
    Part Number: 923-3014
      In Stock
    $23.78
  • 37
    VALVE ASSY – Part Number: SU-9500085P
    VALVE ASSY
    Part Number: SU-9500085P
      Special Order
    $571.20
  • 47
    OIL SEAL – Part Number: 921-3032
    OIL SEAL
    Part Number: 921-3032
    ★★★★★
    ★★★★★
    (1)
      Special Order
    $27.31
  • 48
    SHIM .014 – Part Number: 717-3099
    SHIM .014
    Part Number: 717-3099
      Special Order
    $53.83
  • 49
    PULLEY – Part Number: KH-231591
    PULLEY
    Part Number: KH-231591
      Special Order
    $297.40
  • 50
    DISC-FLEX COUPLING – Part Number: IH-376257-R3
    DISC-FLEX COUPLING
    Part Number: IH-376257-R3
      Special Order
    $62.97
  • 52
    CUP ASSEMBLY – Part Number: KH-41-071-03
    CUP ASSEMBLY
    Part Number: KH-41-071-03
      Special Order
    $195.55
  • 102
    POINTS-BREAKER – Part Number: KH-47-150-03
    POINTS-BREAKER
    Part Number: KH-47-150-03
      Special Order
    $32.28
  • 113
    BELT 3/8 X 31 11/1 – Part Number: IH-401960-R1
    BELT 3/8 X 31 11/1
    Part Number: IH-401960-R1
      Special Order
    $28.62
Seat & Support
Seat & Support Diagram and Parts List for 2050048U Cub Cadet Lawn Tractor
  • 1
    PLATE ASSY-DAMPER – Part Number: 903-0194
    PLATE ASSY-DAMPER
    Part Number: 903-0194
      Special Order
    $154.42
  • 1
    ROD-ASSY DRIVE – Part Number: IH-545511-R1
    ROD-ASSY DRIVE
    Part Number: IH-545511-R1
      Special Order
    $152.31
  • 2
    BOLT-WHEEL – Part Number: 710-3027
    BOLT-WHEEL
    Part Number: 710-3027
      Special Order
    $37.56
  • 2
    BEARING-COLUMN – Part Number: 941-3023
    BEARING-COLUMN
    Part Number: 941-3023
      Special Order
    $13.01
  • 2
    HUB – Part Number: IH-394034-R32
    HUB
    Part Number: IH-394034-R32
      Special Order
    $176.79
  • 3
    SPRING-COMPRESSION – Part Number: 932-3012
    SPRING-COMPRESSION
    Part Number: 932-3012
      Special Order
    $11.06
  • 3
    PIN – Part Number: IH-19837-R2
    PIN
    Part Number: IH-19837-R2
      Special Order
    $13.88
  • 3
    CONTROL-CHOKE – Part Number: IH-401439-R93
    CONTROL-CHOKE
    Part Number: IH-401439-R93
      Special Order
    $80.96
  • 3
    BEARING – Part Number: SU-9001370-0003
    BEARING
    Part Number: SU-9001370-0003
      Special Order
    $189.62
  • 4
    Ball Joint Assembly – Part Number: 923-3000
    Ball Joint Assembly
    Part Number: 923-3000
      In Stock
    $33.88
  • 4
    ARM-COUPLING – Part Number: 759-3009
    ARM-COUPLING
    Part Number: 759-3009
      Special Order
    $146.62
  • 4
    OIL SEAL – Part Number: 921-3032
    OIL SEAL
    Part Number: 921-3032
    ★★★★★
    ★★★★★
    (1)
      Special Order
    $27.31
  • 4
    SPRING-COMPRESSION – Part Number: 932-3013
    SPRING-COMPRESSION
    Part Number: 932-3013
      Special Order
    $11.35
  • 5
    Cotter Pin – Part Number: 714-3020
    Cotter Pin
    Part Number: 714-3020
      Special Order
    Minimum Quantity of 2 required
    $6.16
  • 5
    SPRING GUIDE PIN – Part Number: 711-3033
    SPRING GUIDE PIN
    Part Number: 711-3033
      In Stock
    $24.57
  • 5
    GASKET-AXLE CARRIE – Part Number: 721P3014
    GASKET-AXLE CARRIE
    Part Number: 721P3014
      On Order
    $21.09
  • 5
    FAN – Part Number: IH-547749-R2
    FAN
    Part Number: IH-547749-R2
    ★★★★★
    ★★★★★
    (1)
      Special Order
    $36.11
  • 6
    Fuel Shut-Off – Part Number: 951-3015
    Fuel Shut-Off
    Part Number: 951-3015
      Special Order
    $48.15
  • 7
    SPRING-LIFT HDLE – Part Number: 932-3005
    SPRING-LIFT HDLE
    Part Number: 932-3005
      On Order
    $13.84
  • 7
    BUMPER – Part Number: IH-128509-H1
    BUMPER
    Part Number: IH-128509-H1
      Special Order
    $7.48
  • 7
    KNUCKLE-RH STEERIN – Part Number: IH-544217-R1
    KNUCKLE-RH STEERIN
    Part Number: IH-544217-R1
      Special Order
    $407.36
  • 8
    BUSHING – Part Number: IH-394048-R1
    BUSHING
    Part Number: IH-394048-R1
      Special Order
    $42.03
  • 9
    Bolt-hex – Part Number: 710-3020
    Bolt-hex
    Part Number: 710-3020
      No Longer Available
  • 9
    SPRING-LIFT HDLE – Part Number: 932-3005
    SPRING-LIFT HDLE
    Part Number: 932-3005
      On Order
    $13.84
  • 10
    Ring, Retaining – Part Number: 716-0865
    Ring, Retaining
    Part Number: 716-0865
      In Stock
    $6.99
  • 10
    PAD-BRAKE & CLUTCH – Part Number: 924-3000
    PAD-BRAKE & CLUTCH
    Part Number: 924-3000
      Special Order
    $31.21
  • 10
    RETAINER/BALL ASSY – Part Number: 941-3021
    RETAINER/BALL ASSY
    Part Number: 941-3021
      Special Order
    $53.99
  • 11
    Connector-swivel tube 37 degree – Part Number: 927-3002
    Connector-swivel tube 37 degree
    Part Number: 927-3002
      Special Order
    $19.75
  • 12
    Ring-o-3/8 od tube – Part Number: 721-3001
    Ring-o-3/8 od tube
    Part Number: 721-3001
      Special Order
    $6.16
  • 12
    Ball Joint Assembly – Part Number: 923-3000
    Ball Joint Assembly
    Part Number: 923-3000
      In Stock
    $33.88
  • 12
    Case Assy, Transmission – Part Number: IH-394081-R91
    Case Assy, Transmission
    Part Number: IH-394081-R91
      No Longer Available
  • 12
    HINGE – Part Number: IH-545508-R2
    HINGE
    Part Number: IH-545508-R2
      Special Order
    $34.27
  • 13
    Harness Retainer – Part Number: 726-0272
    Harness Retainer
    Part Number: 726-0272
      Special Order
    $11.31
  • 13
    SPRING-EXTENSION – Part Number: 932-3015
    SPRING-EXTENSION
    Part Number: 932-3015
      Special Order
    $19.44
  • 13
    STATOR-BRAKE – Part Number: IH-548122-R2
    STATOR-BRAKE
    Part Number: IH-548122-R2
      Special Order
    $101.64
  • 14
    BUTTON – Part Number: IH-59982-C1
    BUTTON
    Part Number: IH-59982-C1
      Special Order
    $33.42
  • 15
    Gear assy-steering – Part Number: 703-1085
    Gear assy-steering
    Part Number: 703-1085
      No Longer Available
  • 15
    Fitting-90 deg hyd – Part Number: 727-3012
    Fitting-90 deg hyd
    Part Number: 727-3012
      Special Order
    $38.50
  • 15
    CLEVIS-ADJ ROD END – Part Number: 719-3018
    CLEVIS-ADJ ROD END
    Part Number: 719-3018
      Special Order
    $62.50
  • 15
    SPRING – Part Number: IH-391347-R2
    SPRING
    Part Number: IH-391347-R2
      Special Order
    $25.59
  • 15
    SPRING – Part Number: IH-543969-R1
    SPRING
    Part Number: IH-543969-R1
      Special Order
    $40.86
  • 16
    Ring-o-3/8 od tube – Part Number: 721-3001
    Ring-o-3/8 od tube
    Part Number: 721-3001
      Special Order
    $6.16
  • 16
    RETAINER/BALL ASSY – Part Number: 941-3021
    RETAINER/BALL ASSY
    Part Number: 941-3021
      Special Order
    $53.99
  • 16
    RING NAN-206 – Part Number: IH-473475-R1
    RING NAN-206
    Part Number: IH-473475-R1
      Special Order
    $16.35
  • 18
    GASKET – Part Number: IH-350837-R3
    GASKET
    Part Number: IH-350837-R3
      Special Order
    $42.63
  • 18
    STATOR-BRAKE – Part Number: IH-548122-R2
    STATOR-BRAKE
    Part Number: IH-548122-R2
      Special Order
    $101.64
  • 23
    GASKET – Part Number: 921-3004
    GASKET
    Part Number: 921-3004
      On Order
    $16.97
  • 23
    NUT, 1/4-28 HEX JAM – Part Number: IH-25930-R2
    NUT, 1/4-28 HEX JAM
    Part Number: IH-25930-R2
      Special Order
    $7.04
  • 24
    BEARING – Part Number: IH-ST436P
    BEARING
    Part Number: IH-ST436P
      Special Order
    $121.78
  • 25
    SWITCH-NEUTRAL STA – Part Number: 925-3038
    SWITCH-NEUTRAL STA
    Part Number: 925-3038
      On Order
    $103.68
  • 26
    SWITCH-IGNITION – Part Number: IH-60736-C3
    SWITCH-IGNITION
    Part Number: IH-60736-C3
      Special Order
    $115.63
  • 27
    KEY-IGNITION – Part Number: IH-131313-C2
    KEY-IGNITION
    Part Number: IH-131313-C2
      Special Order
    $19.44
  • 28
    WASHER – Part Number: IH-375431-R1
    WASHER
    Part Number: IH-375431-R1
      Special Order
    $18.85
  • 28
    PIPE – Part Number: SU-3101069
    PIPE
    Part Number: SU-3101069
      Special Order
    $58.70
  • 29
    NUT – Part Number: IH-365502-R1
    NUT
    Part Number: IH-365502-R1
      Special Order
    $18.11
  • 30
    SCREW – Part Number: IH-59980-C1
    SCREW
    Part Number: IH-59980-C1
      Special Order
    $6.16
  • 31
    SHOE-PTO BRAKE – Part Number: IH-59973-C1
    SHOE-PTO BRAKE
    Part Number: IH-59973-C1
      Special Order
    $184.92
  • 34
    PLUG ASM – Part Number: SU-4800323
    PLUG ASM
    Part Number: SU-4800323
      Special Order
    $51.69
  • 35
    Oil Filter – Part Number: 923-3014
    Oil Filter
    Part Number: 923-3014
      In Stock
    $23.78
  • 37
    VALVE ASSY – Part Number: SU-9500085P
    VALVE ASSY
    Part Number: SU-9500085P
      Special Order
    $571.20
  • 47
    OIL SEAL – Part Number: 921-3032
    OIL SEAL
    Part Number: 921-3032
    ★★★★★
    ★★★★★
    (1)
      Special Order
    $27.31
  • 48
    SHIM .014 – Part Number: 717-3099
    SHIM .014
    Part Number: 717-3099
      Special Order
    $53.83
  • 49
    PULLEY – Part Number: KH-231591
    PULLEY
    Part Number: KH-231591
      Special Order
    $297.40
  • 50
    DISC-FLEX COUPLING – Part Number: IH-376257-R3
    DISC-FLEX COUPLING
    Part Number: IH-376257-R3
      Special Order
    $62.97
  • 52
    CUP ASSEMBLY – Part Number: KH-41-071-03
    CUP ASSEMBLY
    Part Number: KH-41-071-03
      Special Order
    $195.55
  • 102
    POINTS-BREAKER – Part Number: KH-47-150-03
    POINTS-BREAKER
    Part Number: KH-47-150-03
      Special Order
    $32.28
  • 113
    BELT 3/8 X 31 11/1 – Part Number: IH-401960-R1
    BELT 3/8 X 31 11/1
    Part Number: IH-401960-R1
      Special Order
    $28.62
Service Engines
Service Engines Diagram and Parts List for 2050048U Cub Cadet Lawn Tractor
  • 1
    ROD-ASSY DRIVE – Part Number: IH-545511-R1
    ROD-ASSY DRIVE
    Part Number: IH-545511-R1
      Special Order
    $152.31
  • 1
    PLATE ASSY-DAMPER – Part Number: 903-0194
    PLATE ASSY-DAMPER
    Part Number: 903-0194
      Special Order
    $154.42
  • 2
    HUB – Part Number: IH-394034-R32
    HUB
    Part Number: IH-394034-R32
      Special Order
    $176.79
  • 2
    BEARING-COLUMN – Part Number: 941-3023
    BEARING-COLUMN
    Part Number: 941-3023
      Special Order
    $13.01
  • 2
    BOLT-WHEEL – Part Number: 710-3027
    BOLT-WHEEL
    Part Number: 710-3027
      Special Order
    $37.56
  • 3
    BEARING – Part Number: SU-9001370-0003
    BEARING
    Part Number: SU-9001370-0003
      Special Order
    $189.62
  • 3
    CONTROL-CHOKE – Part Number: IH-401439-R93
    CONTROL-CHOKE
    Part Number: IH-401439-R93
      Special Order
    $80.96
  • 3
    PIN – Part Number: IH-19837-R2
    PIN
    Part Number: IH-19837-R2
      Special Order
    $13.88
  • 3
    SPRING-COMPRESSION – Part Number: 932-3012
    SPRING-COMPRESSION
    Part Number: 932-3012
      Special Order
    $11.06
  • 4
    SPRING-COMPRESSION – Part Number: 932-3013
    SPRING-COMPRESSION
    Part Number: 932-3013
      Special Order
    $11.35
  • 4
    OIL SEAL – Part Number: 921-3032
    OIL SEAL
    Part Number: 921-3032
    ★★★★★
    ★★★★★
    (1)
      Special Order
    $27.31
  • 4
    ARM-COUPLING – Part Number: 759-3009
    ARM-COUPLING
    Part Number: 759-3009
      Special Order
    $146.62
  • 4
    Ball Joint Assembly – Part Number: 923-3000
    Ball Joint Assembly
    Part Number: 923-3000
      In Stock
    $33.88
  • 5
    FAN – Part Number: IH-547749-R2
    FAN
    Part Number: IH-547749-R2
    ★★★★★
    ★★★★★
    (1)
      Special Order
    $36.11
  • 5
    GASKET-AXLE CARRIE – Part Number: 721P3014
    GASKET-AXLE CARRIE
    Part Number: 721P3014
      On Order
    $21.09
  • 5
    SPRING GUIDE PIN – Part Number: 711-3033
    SPRING GUIDE PIN
    Part Number: 711-3033
      In Stock
    $24.57
  • 5
    Cotter Pin – Part Number: 714-3020
    Cotter Pin
    Part Number: 714-3020
      Special Order
    Minimum Quantity of 2 required
    $6.16
  • 6
    Fuel Shut-Off – Part Number: 951-3015
    Fuel Shut-Off
    Part Number: 951-3015
      Special Order
    $48.15
  • 7
    KNUCKLE-RH STEERIN – Part Number: IH-544217-R1
    KNUCKLE-RH STEERIN
    Part Number: IH-544217-R1
      Special Order
    $407.36
  • 7
    BUMPER – Part Number: IH-128509-H1
    BUMPER
    Part Number: IH-128509-H1
      Special Order
    $7.48
  • 7
    SPRING-LIFT HDLE – Part Number: 932-3005
    SPRING-LIFT HDLE
    Part Number: 932-3005
      On Order
    $13.84
  • 8
    BUSHING – Part Number: IH-394048-R1
    BUSHING
    Part Number: IH-394048-R1
      Special Order
    $42.03
  • 9
    SPRING-LIFT HDLE – Part Number: 932-3005
    SPRING-LIFT HDLE
    Part Number: 932-3005
      On Order
    $13.84
  • 9
    Bolt-hex – Part Number: 710-3020
    Bolt-hex
    Part Number: 710-3020
      No Longer Available
  • 10
    RETAINER/BALL ASSY – Part Number: 941-3021
    RETAINER/BALL ASSY
    Part Number: 941-3021
      Special Order
    $53.99
  • 10
    PAD-BRAKE & CLUTCH – Part Number: 924-3000
    PAD-BRAKE & CLUTCH
    Part Number: 924-3000
      Special Order
    $31.21
  • 10
    Ring, Retaining – Part Number: 716-0865
    Ring, Retaining
    Part Number: 716-0865
      In Stock
    $6.99
  • 11
    Connector-swivel tube 37 degree – Part Number: 927-3002
    Connector-swivel tube 37 degree
    Part Number: 927-3002
      Special Order
    $19.75
  • 12
    HINGE – Part Number: IH-545508-R2
    HINGE
    Part Number: IH-545508-R2
      Special Order
    $34.27
  • 12
    Case Assy, Transmission – Part Number: IH-394081-R91
    Case Assy, Transmission
    Part Number: IH-394081-R91
      No Longer Available
  • 12
    Ball Joint Assembly – Part Number: 923-3000
    Ball Joint Assembly
    Part Number: 923-3000
      In Stock
    $33.88
  • 12
    Ring-o-3/8 od tube – Part Number: 721-3001
    Ring-o-3/8 od tube
    Part Number: 721-3001
      Special Order
    $6.16
  • 13
    STATOR-BRAKE – Part Number: IH-548122-R2
    STATOR-BRAKE
    Part Number: IH-548122-R2
      Special Order
    $101.64
  • 13
    SPRING-EXTENSION – Part Number: 932-3015
    SPRING-EXTENSION
    Part Number: 932-3015
      Special Order
    $19.44
  • 13
    Harness Retainer – Part Number: 726-0272
    Harness Retainer
    Part Number: 726-0272
      Special Order
    $11.31
  • 14
    BUTTON – Part Number: IH-59982-C1
    BUTTON
    Part Number: IH-59982-C1
      Special Order
    $33.42
  • 15
    SPRING – Part Number: IH-543969-R1
    SPRING
    Part Number: IH-543969-R1
      Special Order
    $40.86
  • 15
    SPRING – Part Number: IH-391347-R2
    SPRING
    Part Number: IH-391347-R2
      Special Order
    $25.59
  • 15
    CLEVIS-ADJ ROD END – Part Number: 719-3018
    CLEVIS-ADJ ROD END
    Part Number: 719-3018
      Special Order
    $62.50
  • 15
    Fitting-90 deg hyd – Part Number: 727-3012
    Fitting-90 deg hyd
    Part Number: 727-3012
      Special Order
    $38.50
  • 15
    Gear assy-steering – Part Number: 703-1085
    Gear assy-steering
    Part Number: 703-1085
      No Longer Available
  • 16
    RING NAN-206 – Part Number: IH-473475-R1
    RING NAN-206
    Part Number: IH-473475-R1
      Special Order
    $16.35
  • 16
    RETAINER/BALL ASSY – Part Number: 941-3021
    RETAINER/BALL ASSY
    Part Number: 941-3021
      Special Order
    $53.99
  • 16
    Ring-o-3/8 od tube – Part Number: 721-3001
    Ring-o-3/8 od tube
    Part Number: 721-3001
      Special Order
    $6.16
  • 18
    STATOR-BRAKE – Part Number: IH-548122-R2
    STATOR-BRAKE
    Part Number: IH-548122-R2
      Special Order
    $101.64
  • 18
    GASKET – Part Number: IH-350837-R3
    GASKET
    Part Number: IH-350837-R3
      Special Order
    $42.63
  • 23
    NUT, 1/4-28 HEX JAM – Part Number: IH-25930-R2
    NUT, 1/4-28 HEX JAM
    Part Number: IH-25930-R2
      Special Order
    $7.04
  • 23
    GASKET – Part Number: 921-3004
    GASKET
    Part Number: 921-3004
      On Order
    $16.97
  • 24
    BEARING – Part Number: IH-ST436P
    BEARING
    Part Number: IH-ST436P
      Special Order
    $121.78
  • 25
    SWITCH-NEUTRAL STA – Part Number: 925-3038
    SWITCH-NEUTRAL STA
    Part Number: 925-3038
      On Order
    $103.68
  • 26
    SWITCH-IGNITION – Part Number: IH-60736-C3
    SWITCH-IGNITION
    Part Number: IH-60736-C3
      Special Order
    $115.63
  • 27
    KEY-IGNITION – Part Number: IH-131313-C2
    KEY-IGNITION
    Part Number: IH-131313-C2
      Special Order
    $19.44
  • 28
    PIPE – Part Number: SU-3101069
    PIPE
    Part Number: SU-3101069
      Special Order
    $58.70
  • 28
    WASHER – Part Number: IH-375431-R1
    WASHER
    Part Number: IH-375431-R1
      Special Order
    $18.85
  • 29
    NUT – Part Number: IH-365502-R1
    NUT
    Part Number: IH-365502-R1
      Special Order
    $18.11
  • 30
    SCREW – Part Number: IH-59980-C1
    SCREW
    Part Number: IH-59980-C1
      Special Order
    $6.16
  • 31
    SHOE-PTO BRAKE – Part Number: IH-59973-C1
    SHOE-PTO BRAKE
    Part Number: IH-59973-C1
      Special Order
    $184.92
  • 34
    PLUG ASM – Part Number: SU-4800323
    PLUG ASM
    Part Number: SU-4800323
      Special Order
    $51.69
  • 35
    Oil Filter – Part Number: 923-3014
    Oil Filter
    Part Number: 923-3014
      In Stock
    $23.78
  • 37
    VALVE ASSY – Part Number: SU-9500085P
    VALVE ASSY
    Part Number: SU-9500085P
      Special Order
    $571.20
  • 47
    OIL SEAL – Part Number: 921-3032
    OIL SEAL
    Part Number: 921-3032
    ★★★★★
    ★★★★★
    (1)
      Special Order
    $27.31
  • 48
    SHIM .014 – Part Number: 717-3099
    SHIM .014
    Part Number: 717-3099
      Special Order
    $53.83
  • 49
    PULLEY – Part Number: KH-231591
    PULLEY
    Part Number: KH-231591
      Special Order
    $297.40
  • 50
    DISC-FLEX COUPLING – Part Number: IH-376257-R3
    DISC-FLEX COUPLING
    Part Number: IH-376257-R3
      Special Order
    $62.97
  • 52
    CUP ASSEMBLY – Part Number: KH-41-071-03
    CUP ASSEMBLY
    Part Number: KH-41-071-03
      Special Order
    $195.55
  • 102
    POINTS-BREAKER – Part Number: KH-47-150-03
    POINTS-BREAKER
    Part Number: KH-47-150-03
      Special Order
    $32.28
  • 113
    BELT 3/8 X 31 11/1 – Part Number: IH-401960-R1
    BELT 3/8 X 31 11/1
    Part Number: IH-401960-R1
      Special Order
    $28.62
Starter Generator
Starter Generator Diagram and Parts List for 2050048U Cub Cadet Lawn Tractor
  • 1
    PLATE ASSY-DAMPER – Part Number: 903-0194
    PLATE ASSY-DAMPER
    Part Number: 903-0194
      Special Order
    $154.42
  • 1
    ROD-ASSY DRIVE – Part Number: IH-545511-R1
    ROD-ASSY DRIVE
    Part Number: IH-545511-R1
      Special Order
    $152.31
  • 2
    BOLT-WHEEL – Part Number: 710-3027
    BOLT-WHEEL
    Part Number: 710-3027
      Special Order
    $37.56
  • 2
    BEARING-COLUMN – Part Number: 941-3023
    BEARING-COLUMN
    Part Number: 941-3023
      Special Order
    $13.01
  • 2
    HUB – Part Number: IH-394034-R32
    HUB
    Part Number: IH-394034-R32
      Special Order
    $176.79
  • 3
    SPRING-COMPRESSION – Part Number: 932-3012
    SPRING-COMPRESSION
    Part Number: 932-3012
      Special Order
    $11.06
  • 3
    PIN – Part Number: IH-19837-R2
    PIN
    Part Number: IH-19837-R2
      Special Order
    $13.88
  • 3
    CONTROL-CHOKE – Part Number: IH-401439-R93
    CONTROL-CHOKE
    Part Number: IH-401439-R93
      Special Order
    $80.96
  • 3
    BEARING – Part Number: SU-9001370-0003
    BEARING
    Part Number: SU-9001370-0003
      Special Order
    $189.62
  • 4
    Ball Joint Assembly – Part Number: 923-3000
    Ball Joint Assembly
    Part Number: 923-3000
      In Stock
    $33.88
  • 4
    ARM-COUPLING – Part Number: 759-3009
    ARM-COUPLING
    Part Number: 759-3009
      Special Order
    $146.62
  • 4
    OIL SEAL – Part Number: 921-3032
    OIL SEAL
    Part Number: 921-3032
    ★★★★★
    ★★★★★
    (1)
      Special Order
    $27.31
  • 4
    SPRING-COMPRESSION – Part Number: 932-3013
    SPRING-COMPRESSION
    Part Number: 932-3013
      Special Order
    $11.35
  • 5
    Cotter Pin – Part Number: 714-3020
    Cotter Pin
    Part Number: 714-3020
      Special Order
    Minimum Quantity of 2 required
    $6.16
  • 5
    SPRING GUIDE PIN – Part Number: 711-3033
    SPRING GUIDE PIN
    Part Number: 711-3033
      In Stock
    $24.57
  • 5
    GASKET-AXLE CARRIE – Part Number: 721P3014
    GASKET-AXLE CARRIE
    Part Number: 721P3014
      On Order
    $21.09
  • 5
    FAN – Part Number: IH-547749-R2
    FAN
    Part Number: IH-547749-R2
    ★★★★★
    ★★★★★
    (1)
      Special Order
    $36.11
  • 6
    Fuel Shut-Off – Part Number: 951-3015
    Fuel Shut-Off
    Part Number: 951-3015
      Special Order
    $48.15
  • 7
    SPRING-LIFT HDLE – Part Number: 932-3005
    SPRING-LIFT HDLE
    Part Number: 932-3005
      On Order
    $13.84
  • 7
    BUMPER – Part Number: IH-128509-H1
    BUMPER
    Part Number: IH-128509-H1
      Special Order
    $7.48
  • 7
    KNUCKLE-RH STEERIN – Part Number: IH-544217-R1
    KNUCKLE-RH STEERIN
    Part Number: IH-544217-R1
      Special Order
    $407.36
  • 8
    BUSHING – Part Number: IH-394048-R1
    BUSHING
    Part Number: IH-394048-R1
      Special Order
    $42.03
  • 9
    Bolt-hex – Part Number: 710-3020
    Bolt-hex
    Part Number: 710-3020
      No Longer Available
  • 9
    SPRING-LIFT HDLE – Part Number: 932-3005
    SPRING-LIFT HDLE
    Part Number: 932-3005
      On Order
    $13.84
  • 10
    Ring, Retaining – Part Number: 716-0865
    Ring, Retaining
    Part Number: 716-0865
      In Stock
    $6.99
  • 10
    PAD-BRAKE & CLUTCH – Part Number: 924-3000
    PAD-BRAKE & CLUTCH
    Part Number: 924-3000
      Special Order
    $31.21
  • 10
    RETAINER/BALL ASSY – Part Number: 941-3021
    RETAINER/BALL ASSY
    Part Number: 941-3021
      Special Order
    $53.99
  • 11
    Connector-swivel tube 37 degree – Part Number: 927-3002
    Connector-swivel tube 37 degree
    Part Number: 927-3002
      Special Order
    $19.75
  • 12
    Ring-o-3/8 od tube – Part Number: 721-3001
    Ring-o-3/8 od tube
    Part Number: 721-3001
      Special Order
    $6.16
  • 12
    Ball Joint Assembly – Part Number: 923-3000
    Ball Joint Assembly
    Part Number: 923-3000
      In Stock
    $33.88
  • 12
    Case Assy, Transmission – Part Number: IH-394081-R91
    Case Assy, Transmission
    Part Number: IH-394081-R91
      No Longer Available
  • 12
    HINGE – Part Number: IH-545508-R2
    HINGE
    Part Number: IH-545508-R2
      Special Order
    $34.27
  • 13
    Harness Retainer – Part Number: 726-0272
    Harness Retainer
    Part Number: 726-0272
      Special Order
    $11.31
  • 13
    SPRING-EXTENSION – Part Number: 932-3015
    SPRING-EXTENSION
    Part Number: 932-3015
      Special Order
    $19.44
  • 13
    STATOR-BRAKE – Part Number: IH-548122-R2
    STATOR-BRAKE
    Part Number: IH-548122-R2
      Special Order
    $101.64
  • 14
    BUTTON – Part Number: IH-59982-C1
    BUTTON
    Part Number: IH-59982-C1
      Special Order
    $33.42
  • 15
    Gear assy-steering – Part Number: 703-1085
    Gear assy-steering
    Part Number: 703-1085
      No Longer Available
  • 15
    Fitting-90 deg hyd – Part Number: 727-3012
    Fitting-90 deg hyd
    Part Number: 727-3012
      Special Order
    $38.50
  • 15
    CLEVIS-ADJ ROD END – Part Number: 719-3018
    CLEVIS-ADJ ROD END
    Part Number: 719-3018
      Special Order
    $62.50
  • 15
    SPRING – Part Number: IH-391347-R2
    SPRING
    Part Number: IH-391347-R2
      Special Order
    $25.59
  • 15
    SPRING – Part Number: IH-543969-R1
    SPRING
    Part Number: IH-543969-R1
      Special Order
    $40.86
  • 16
    Ring-o-3/8 od tube – Part Number: 721-3001
    Ring-o-3/8 od tube
    Part Number: 721-3001
      Special Order
    $6.16
  • 16
    RETAINER/BALL ASSY – Part Number: 941-3021
    RETAINER/BALL ASSY
    Part Number: 941-3021
      Special Order
    $53.99
  • 16
    RING NAN-206 – Part Number: IH-473475-R1
    RING NAN-206
    Part Number: IH-473475-R1
      Special Order
    $16.35
  • 18
    GASKET – Part Number: IH-350837-R3
    GASKET
    Part Number: IH-350837-R3
      Special Order
    $42.63
  • 18
    STATOR-BRAKE – Part Number: IH-548122-R2
    STATOR-BRAKE
    Part Number: IH-548122-R2
      Special Order
    $101.64
  • 23
    GASKET – Part Number: 921-3004
    GASKET
    Part Number: 921-3004
      On Order
    $16.97
  • 23
    NUT, 1/4-28 HEX JAM – Part Number: IH-25930-R2
    NUT, 1/4-28 HEX JAM
    Part Number: IH-25930-R2
      Special Order
    $7.04
  • 24
    BEARING – Part Number: IH-ST436P
    BEARING
    Part Number: IH-ST436P
      Special Order
    $121.78
  • 25
    SWITCH-NEUTRAL STA – Part Number: 925-3038
    SWITCH-NEUTRAL STA
    Part Number: 925-3038
      On Order
    $103.68
  • 26
    SWITCH-IGNITION – Part Number: IH-60736-C3
    SWITCH-IGNITION
    Part Number: IH-60736-C3
      Special Order
    $115.63
  • 27
    KEY-IGNITION – Part Number: IH-131313-C2
    KEY-IGNITION
    Part Number: IH-131313-C2
      Special Order
    $19.44
  • 28
    WASHER – Part Number: IH-375431-R1
    WASHER
    Part Number: IH-375431-R1
      Special Order
    $18.85
  • 28
    PIPE – Part Number: SU-3101069
    PIPE
    Part Number: SU-3101069
      Special Order
    $58.70
  • 29
    NUT – Part Number: IH-365502-R1
    NUT
    Part Number: IH-365502-R1
      Special Order
    $18.11
  • 30
    SCREW – Part Number: IH-59980-C1
    SCREW
    Part Number: IH-59980-C1
      Special Order
    $6.16
  • 31
    SHOE-PTO BRAKE – Part Number: IH-59973-C1
    SHOE-PTO BRAKE
    Part Number: IH-59973-C1
      Special Order
    $184.92
  • 34
    PLUG ASM – Part Number: SU-4800323
    PLUG ASM
    Part Number: SU-4800323
      Special Order
    $51.69
  • 35
    Oil Filter – Part Number: 923-3014
    Oil Filter
    Part Number: 923-3014
      In Stock
    $23.78
  • 37
    VALVE ASSY – Part Number: SU-9500085P
    VALVE ASSY
    Part Number: SU-9500085P
      Special Order
    $571.20
  • 47
    OIL SEAL – Part Number: 921-3032
    OIL SEAL
    Part Number: 921-3032
    ★★★★★
    ★★★★★
    (1)
      Special Order
    $27.31
  • 48
    SHIM .014 – Part Number: 717-3099
    SHIM .014
    Part Number: 717-3099
      Special Order
    $53.83
  • 49
    PULLEY – Part Number: KH-231591
    PULLEY
    Part Number: KH-231591
      Special Order
    $297.40
  • 50
    DISC-FLEX COUPLING – Part Number: IH-376257-R3
    DISC-FLEX COUPLING
    Part Number: IH-376257-R3
      Special Order
    $62.97
  • 52
    CUP ASSEMBLY – Part Number: KH-41-071-03
    CUP ASSEMBLY
    Part Number: KH-41-071-03
      Special Order
    $195.55
  • 102
    POINTS-BREAKER – Part Number: KH-47-150-03
    POINTS-BREAKER
    Part Number: KH-47-150-03
      Special Order
    $32.28
  • 113
    BELT 3/8 X 31 11/1 – Part Number: IH-401960-R1
    BELT 3/8 X 31 11/1
    Part Number: IH-401960-R1
      Special Order
    $28.62
Starting & Lighting
Starting & Lighting Diagram and Parts List for 2050048U Cub Cadet Lawn Tractor
  • 1
    ROD-ASSY DRIVE – Part Number: IH-545511-R1
    ROD-ASSY DRIVE
    Part Number: IH-545511-R1
      Special Order
    $152.31
  • 1
    PLATE ASSY-DAMPER – Part Number: 903-0194
    PLATE ASSY-DAMPER
    Part Number: 903-0194
      Special Order
    $154.42
  • 2
    HUB – Part Number: IH-394034-R32
    HUB
    Part Number: IH-394034-R32
      Special Order
    $176.79
  • 2
    BEARING-COLUMN – Part Number: 941-3023
    BEARING-COLUMN
    Part Number: 941-3023
      Special Order
    $13.01
  • 2
    BOLT-WHEEL – Part Number: 710-3027
    BOLT-WHEEL
    Part Number: 710-3027
      Special Order
    $37.56
  • 3
    BEARING – Part Number: SU-9001370-0003
    BEARING
    Part Number: SU-9001370-0003
      Special Order
    $189.62
  • 3
    CONTROL-CHOKE – Part Number: IH-401439-R93
    CONTROL-CHOKE
    Part Number: IH-401439-R93
      Special Order
    $80.96
  • 3
    PIN – Part Number: IH-19837-R2
    PIN
    Part Number: IH-19837-R2
      Special Order
    $13.88
  • 3
    SPRING-COMPRESSION – Part Number: 932-3012
    SPRING-COMPRESSION
    Part Number: 932-3012
      Special Order
    $11.06
  • 4
    SPRING-COMPRESSION – Part Number: 932-3013
    SPRING-COMPRESSION
    Part Number: 932-3013
      Special Order
    $11.35
  • 4
    OIL SEAL – Part Number: 921-3032
    OIL SEAL
    Part Number: 921-3032
    ★★★★★
    ★★★★★
    (1)
      Special Order
    $27.31
  • 4
    ARM-COUPLING – Part Number: 759-3009
    ARM-COUPLING
    Part Number: 759-3009
      Special Order
    $146.62
  • 4
    Ball Joint Assembly – Part Number: 923-3000
    Ball Joint Assembly
    Part Number: 923-3000
      In Stock
    $33.88
  • 5
    FAN – Part Number: IH-547749-R2
    FAN
    Part Number: IH-547749-R2
    ★★★★★
    ★★★★★
    (1)
      Special Order
    $36.11
  • 5
    GASKET-AXLE CARRIE – Part Number: 721P3014
    GASKET-AXLE CARRIE
    Part Number: 721P3014
      On Order
    $21.09
  • 5
    SPRING GUIDE PIN – Part Number: 711-3033
    SPRING GUIDE PIN
    Part Number: 711-3033
      In Stock
    $24.57
  • 5
    Cotter Pin – Part Number: 714-3020
    Cotter Pin
    Part Number: 714-3020
      Special Order
    Minimum Quantity of 2 required
    $6.16
  • 6
    Fuel Shut-Off – Part Number: 951-3015
    Fuel Shut-Off
    Part Number: 951-3015
      Special Order
    $48.15
  • 7
    KNUCKLE-RH STEERIN – Part Number: IH-544217-R1
    KNUCKLE-RH STEERIN
    Part Number: IH-544217-R1
      Special Order
    $407.36
  • 7
    BUMPER – Part Number: IH-128509-H1
    BUMPER
    Part Number: IH-128509-H1
      Special Order
    $7.48
  • 7
    SPRING-LIFT HDLE – Part Number: 932-3005
    SPRING-LIFT HDLE
    Part Number: 932-3005
      On Order
    $13.84
  • 8
    BUSHING – Part Number: IH-394048-R1
    BUSHING
    Part Number: IH-394048-R1
      Special Order
    $42.03
  • 9
    SPRING-LIFT HDLE – Part Number: 932-3005
    SPRING-LIFT HDLE
    Part Number: 932-3005
      On Order
    $13.84
  • 9
    Bolt-hex – Part Number: 710-3020
    Bolt-hex
    Part Number: 710-3020
      No Longer Available
  • 10
    RETAINER/BALL ASSY – Part Number: 941-3021
    RETAINER/BALL ASSY
    Part Number: 941-3021
      Special Order
    $53.99
  • 10
    PAD-BRAKE & CLUTCH – Part Number: 924-3000
    PAD-BRAKE & CLUTCH
    Part Number: 924-3000
      Special Order
    $31.21
  • 10
    Ring, Retaining – Part Number: 716-0865
    Ring, Retaining
    Part Number: 716-0865
      In Stock
    $6.99
  • 11
    Connector-swivel tube 37 degree – Part Number: 927-3002
    Connector-swivel tube 37 degree
    Part Number: 927-3002
      Special Order
    $19.75
  • 12
    HINGE – Part Number: IH-545508-R2
    HINGE
    Part Number: IH-545508-R2
      Special Order
    $34.27
  • 12
    Case Assy, Transmission – Part Number: IH-394081-R91
    Case Assy, Transmission
    Part Number: IH-394081-R91
      No Longer Available
  • 12
    Ball Joint Assembly – Part Number: 923-3000
    Ball Joint Assembly
    Part Number: 923-3000
      In Stock
    $33.88
  • 12
    Ring-o-3/8 od tube – Part Number: 721-3001
    Ring-o-3/8 od tube
    Part Number: 721-3001
      Special Order
    $6.16
  • 13
    STATOR-BRAKE – Part Number: IH-548122-R2
    STATOR-BRAKE
    Part Number: IH-548122-R2
      Special Order
    $101.64
  • 13
    SPRING-EXTENSION – Part Number: 932-3015
    SPRING-EXTENSION
    Part Number: 932-3015
      Special Order
    $19.44
  • 13
    Harness Retainer – Part Number: 726-0272
    Harness Retainer
    Part Number: 726-0272
      Special Order
    $11.31
  • 14
    BUTTON – Part Number: IH-59982-C1
    BUTTON
    Part Number: IH-59982-C1
      Special Order
    $33.42
  • 15
    SPRING – Part Number: IH-543969-R1
    SPRING
    Part Number: IH-543969-R1
      Special Order
    $40.86
  • 15
    SPRING – Part Number: IH-391347-R2
    SPRING
    Part Number: IH-391347-R2
      Special Order
    $25.59
  • 15
    CLEVIS-ADJ ROD END – Part Number: 719-3018
    CLEVIS-ADJ ROD END
    Part Number: 719-3018
      Special Order
    $62.50
  • 15
    Fitting-90 deg hyd – Part Number: 727-3012
    Fitting-90 deg hyd
    Part Number: 727-3012
      Special Order
    $38.50
  • 15
    Gear assy-steering – Part Number: 703-1085
    Gear assy-steering
    Part Number: 703-1085
      No Longer Available
  • 16
    RING NAN-206 – Part Number: IH-473475-R1
    RING NAN-206
    Part Number: IH-473475-R1
      Special Order
    $16.35
  • 16
    RETAINER/BALL ASSY – Part Number: 941-3021
    RETAINER/BALL ASSY
    Part Number: 941-3021
      Special Order
    $53.99
  • 16
    Ring-o-3/8 od tube – Part Number: 721-3001
    Ring-o-3/8 od tube
    Part Number: 721-3001
      Special Order
    $6.16
  • 18
    STATOR-BRAKE – Part Number: IH-548122-R2
    STATOR-BRAKE
    Part Number: IH-548122-R2
      Special Order
    $101.64
  • 18
    GASKET – Part Number: IH-350837-R3
    GASKET
    Part Number: IH-350837-R3
      Special Order
    $42.63
  • 23
    NUT, 1/4-28 HEX JAM – Part Number: IH-25930-R2
    NUT, 1/4-28 HEX JAM
    Part Number: IH-25930-R2
      Special Order
    $7.04
  • 23
    GASKET – Part Number: 921-3004
    GASKET
    Part Number: 921-3004
      On Order
    $16.97
  • 24
    BEARING – Part Number: IH-ST436P
    BEARING
    Part Number: IH-ST436P
      Special Order
    $121.78
  • 25
    SWITCH-NEUTRAL STA – Part Number: 925-3038
    SWITCH-NEUTRAL STA
    Part Number: 925-3038
      On Order
    $103.68
  • 26
    SWITCH-IGNITION – Part Number: IH-60736-C3
    SWITCH-IGNITION
    Part Number: IH-60736-C3
      Special Order
    $115.63
  • 27
    KEY-IGNITION – Part Number: IH-131313-C2
    KEY-IGNITION
    Part Number: IH-131313-C2
      Special Order
    $19.44
  • 28
    PIPE – Part Number: SU-3101069
    PIPE
    Part Number: SU-3101069
      Special Order
    $58.70
  • 28
    WASHER – Part Number: IH-375431-R1
    WASHER
    Part Number: IH-375431-R1
      Special Order
    $18.85
  • 29
    NUT – Part Number: IH-365502-R1
    NUT
    Part Number: IH-365502-R1
      Special Order
    $18.11
  • 30
    SCREW – Part Number: IH-59980-C1
    SCREW
    Part Number: IH-59980-C1
      Special Order
    $6.16
  • 31
    SHOE-PTO BRAKE – Part Number: IH-59973-C1
    SHOE-PTO BRAKE
    Part Number: IH-59973-C1
      Special Order
    $184.92
  • 34
    PLUG ASM – Part Number: SU-4800323
    PLUG ASM
    Part Number: SU-4800323
      Special Order
    $51.69
  • 35
    Oil Filter – Part Number: 923-3014
    Oil Filter
    Part Number: 923-3014
      In Stock
    $23.78
  • 37
    VALVE ASSY – Part Number: SU-9500085P
    VALVE ASSY
    Part Number: SU-9500085P
      Special Order
    $571.20
  • 47
    OIL SEAL – Part Number: 921-3032
    OIL SEAL
    Part Number: 921-3032
    ★★★★★
    ★★★★★
    (1)
      Special Order
    $27.31
  • 48
    SHIM .014 – Part Number: 717-3099
    SHIM .014
    Part Number: 717-3099
      Special Order
    $53.83
  • 49
    PULLEY – Part Number: KH-231591
    PULLEY
    Part Number: KH-231591
      Special Order
    $297.40
  • 50
    DISC-FLEX COUPLING – Part Number: IH-376257-R3
    DISC-FLEX COUPLING
    Part Number: IH-376257-R3
      Special Order
    $62.97
  • 52
    CUP ASSEMBLY – Part Number: KH-41-071-03
    CUP ASSEMBLY
    Part Number: KH-41-071-03
      Special Order
    $195.55
  • 102
    POINTS-BREAKER – Part Number: KH-47-150-03
    POINTS-BREAKER
    Part Number: KH-47-150-03
      Special Order
    $32.28
  • 113
    BELT 3/8 X 31 11/1 – Part Number: IH-401960-R1
    BELT 3/8 X 31 11/1
    Part Number: IH-401960-R1
      Special Order
    $28.62
Steering Gear & Connections
Steering Gear & Connections Diagram and Parts List for 2050048U Cub Cadet Lawn Tractor
  • 1
    PLATE ASSY-DAMPER – Part Number: 903-0194
    PLATE ASSY-DAMPER
    Part Number: 903-0194
      Special Order
    $154.42
  • 1
    ROD-ASSY DRIVE – Part Number: IH-545511-R1
    ROD-ASSY DRIVE
    Part Number: IH-545511-R1
      Special Order
    $152.31
  • 2
    BOLT-WHEEL – Part Number: 710-3027
    BOLT-WHEEL
    Part Number: 710-3027
      Special Order
    $37.56
  • 2
    BEARING-COLUMN – Part Number: 941-3023
    BEARING-COLUMN
    Part Number: 941-3023
      Special Order
    $13.01
  • 2
    HUB – Part Number: IH-394034-R32
    HUB
    Part Number: IH-394034-R32
      Special Order
    $176.79
  • 3
    SPRING-COMPRESSION – Part Number: 932-3012
    SPRING-COMPRESSION
    Part Number: 932-3012
      Special Order
    $11.06
  • 3
    PIN – Part Number: IH-19837-R2
    PIN
    Part Number: IH-19837-R2
      Special Order
    $13.88
  • 3
    CONTROL-CHOKE – Part Number: IH-401439-R93
    CONTROL-CHOKE
    Part Number: IH-401439-R93
      Special Order
    $80.96
  • 3
    BEARING – Part Number: SU-9001370-0003
    BEARING
    Part Number: SU-9001370-0003
      Special Order
    $189.62
  • 4
    Ball Joint Assembly – Part Number: 923-3000
    Ball Joint Assembly
    Part Number: 923-3000
      In Stock
    $33.88
  • 4
    ARM-COUPLING – Part Number: 759-3009
    ARM-COUPLING
    Part Number: 759-3009
      Special Order
    $146.62
  • 4
    OIL SEAL – Part Number: 921-3032
    OIL SEAL
    Part Number: 921-3032
    ★★★★★
    ★★★★★
    (1)
      Special Order
    $27.31
  • 4
    SPRING-COMPRESSION – Part Number: 932-3013
    SPRING-COMPRESSION
    Part Number: 932-3013
      Special Order
    $11.35
  • 5
    Cotter Pin – Part Number: 714-3020
    Cotter Pin
    Part Number: 714-3020
      Special Order
    Minimum Quantity of 2 required
    $6.16
  • 5
    SPRING GUIDE PIN – Part Number: 711-3033
    SPRING GUIDE PIN
    Part Number: 711-3033
      In Stock
    $24.57
  • 5
    GASKET-AXLE CARRIE – Part Number: 721P3014
    GASKET-AXLE CARRIE
    Part Number: 721P3014
      On Order
    $21.09
  • 5
    FAN – Part Number: IH-547749-R2
    FAN
    Part Number: IH-547749-R2
    ★★★★★
    ★★★★★
    (1)
      Special Order
    $36.11
  • 6
    Fuel Shut-Off – Part Number: 951-3015
    Fuel Shut-Off
    Part Number: 951-3015
      Special Order
    $48.15
  • 7
    SPRING-LIFT HDLE – Part Number: 932-3005
    SPRING-LIFT HDLE
    Part Number: 932-3005
      On Order
    $13.84
  • 7
    BUMPER – Part Number: IH-128509-H1
    BUMPER
    Part Number: IH-128509-H1
      Special Order
    $7.48
  • 7
    KNUCKLE-RH STEERIN – Part Number: IH-544217-R1
    KNUCKLE-RH STEERIN
    Part Number: IH-544217-R1
      Special Order
    $407.36
  • 8
    BUSHING – Part Number: IH-394048-R1
    BUSHING
    Part Number: IH-394048-R1
      Special Order
    $42.03
  • 9
    Bolt-hex – Part Number: 710-3020
    Bolt-hex
    Part Number: 710-3020
      No Longer Available
  • 9
    SPRING-LIFT HDLE – Part Number: 932-3005
    SPRING-LIFT HDLE
    Part Number: 932-3005
      On Order
    $13.84
  • 10
    Ring, Retaining – Part Number: 716-0865
    Ring, Retaining
    Part Number: 716-0865
      In Stock
    $6.99
  • 10
    PAD-BRAKE & CLUTCH – Part Number: 924-3000
    PAD-BRAKE & CLUTCH
    Part Number: 924-3000
      Special Order
    $31.21
  • 10
    RETAINER/BALL ASSY – Part Number: 941-3021
    RETAINER/BALL ASSY
    Part Number: 941-3021
      Special Order
    $53.99
  • 11
    Connector-swivel tube 37 degree – Part Number: 927-3002
    Connector-swivel tube 37 degree
    Part Number: 927-3002
      Special Order
    $19.75
  • 12
    Ring-o-3/8 od tube – Part Number: 721-3001
    Ring-o-3/8 od tube
    Part Number: 721-3001
      Special Order
    $6.16
  • 12
    Ball Joint Assembly – Part Number: 923-3000
    Ball Joint Assembly
    Part Number: 923-3000
      In Stock
    $33.88
  • 12
    Case Assy, Transmission – Part Number: IH-394081-R91
    Case Assy, Transmission
    Part Number: IH-394081-R91
      No Longer Available
  • 12
    HINGE – Part Number: IH-545508-R2
    HINGE
    Part Number: IH-545508-R2
      Special Order
    $34.27
  • 13
    Harness Retainer – Part Number: 726-0272
    Harness Retainer
    Part Number: 726-0272
      Special Order
    $11.31
  • 13
    SPRING-EXTENSION – Part Number: 932-3015
    SPRING-EXTENSION
    Part Number: 932-3015
      Special Order
    $19.44
  • 13
    STATOR-BRAKE – Part Number: IH-548122-R2
    STATOR-BRAKE
    Part Number: IH-548122-R2
      Special Order
    $101.64
  • 14
    BUTTON – Part Number: IH-59982-C1
    BUTTON
    Part Number: IH-59982-C1
      Special Order
    $33.42
  • 15
    Gear assy-steering – Part Number: 703-1085
    Gear assy-steering
    Part Number: 703-1085
      No Longer Available
  • 15
    Fitting-90 deg hyd – Part Number: 727-3012
    Fitting-90 deg hyd
    Part Number: 727-3012
      Special Order
    $38.50
  • 15
    CLEVIS-ADJ ROD END – Part Number: 719-3018
    CLEVIS-ADJ ROD END
    Part Number: 719-3018
      Special Order
    $62.50
  • 15
    SPRING – Part Number: IH-391347-R2
    SPRING
    Part Number: IH-391347-R2
      Special Order
    $25.59
  • 15
    SPRING – Part Number: IH-543969-R1
    SPRING
    Part Number: IH-543969-R1
      Special Order
    $40.86
  • 16
    Ring-o-3/8 od tube – Part Number: 721-3001
    Ring-o-3/8 od tube
    Part Number: 721-3001
      Special Order
    $6.16
  • 16
    RETAINER/BALL ASSY – Part Number: 941-3021
    RETAINER/BALL ASSY
    Part Number: 941-3021
      Special Order
    $53.99
  • 16
    RING NAN-206 – Part Number: IH-473475-R1
    RING NAN-206
    Part Number: IH-473475-R1
      Special Order
    $16.35
  • 18
    GASKET – Part Number: IH-350837-R3
    GASKET
    Part Number: IH-350837-R3
      Special Order
    $42.63
  • 18
    STATOR-BRAKE – Part Number: IH-548122-R2
    STATOR-BRAKE
    Part Number: IH-548122-R2
      Special Order
    $101.64
  • 23
    GASKET – Part Number: 921-3004
    GASKET
    Part Number: 921-3004
      On Order
    $16.97
  • 23
    NUT, 1/4-28 HEX JAM – Part Number: IH-25930-R2
    NUT, 1/4-28 HEX JAM
    Part Number: IH-25930-R2
      Special Order
    $7.04
  • 24
    BEARING – Part Number: IH-ST436P
    BEARING
    Part Number: IH-ST436P
      Special Order
    $121.78
  • 25
    SWITCH-NEUTRAL STA – Part Number: 925-3038
    SWITCH-NEUTRAL STA
    Part Number: 925-3038
      On Order
    $103.68
  • 26
    SWITCH-IGNITION – Part Number: IH-60736-C3
    SWITCH-IGNITION
    Part Number: IH-60736-C3
      Special Order
    $115.63
  • 27
    KEY-IGNITION – Part Number: IH-131313-C2
    KEY-IGNITION
    Part Number: IH-131313-C2
      Special Order
    $19.44
  • 28
    WASHER – Part Number: IH-375431-R1
    WASHER
    Part Number: IH-375431-R1
      Special Order
    $18.85
  • 28
    PIPE – Part Number: SU-3101069
    PIPE
    Part Number: SU-3101069
      Special Order
    $58.70
  • 29
    NUT – Part Number: IH-365502-R1
    NUT
    Part Number: IH-365502-R1
      Special Order
    $18.11
  • 30
    SCREW – Part Number: IH-59980-C1
    SCREW
    Part Number: IH-59980-C1
      Special Order
    $6.16
  • 31
    SHOE-PTO BRAKE – Part Number: IH-59973-C1
    SHOE-PTO BRAKE
    Part Number: IH-59973-C1
      Special Order
    $184.92
  • 34
    PLUG ASM – Part Number: SU-4800323
    PLUG ASM
    Part Number: SU-4800323
      Special Order
    $51.69
  • 35
    Oil Filter – Part Number: 923-3014
    Oil Filter
    Part Number: 923-3014
      In Stock
    $23.78
  • 37
    VALVE ASSY – Part Number: SU-9500085P
    VALVE ASSY
    Part Number: SU-9500085P
      Special Order
    $571.20
  • 47
    OIL SEAL – Part Number: 921-3032
    OIL SEAL
    Part Number: 921-3032
    ★★★★★
    ★★★★★
    (1)
      Special Order
    $27.31
  • 48
    SHIM .014 – Part Number: 717-3099
    SHIM .014
    Part Number: 717-3099
      Special Order
    $53.83
  • 49
    PULLEY – Part Number: KH-231591
    PULLEY
    Part Number: KH-231591
      Special Order
    $297.40
  • 50
    DISC-FLEX COUPLING – Part Number: IH-376257-R3
    DISC-FLEX COUPLING
    Part Number: IH-376257-R3
      Special Order
    $62.97
  • 52
    CUP ASSEMBLY – Part Number: KH-41-071-03
    CUP ASSEMBLY
    Part Number: KH-41-071-03
      Special Order
    $195.55
  • 102
    POINTS-BREAKER – Part Number: KH-47-150-03
    POINTS-BREAKER
    Part Number: KH-47-150-03
      Special Order
    $32.28
  • 113
    BELT 3/8 X 31 11/1 – Part Number: IH-401960-R1
    BELT 3/8 X 31 11/1
    Part Number: IH-401960-R1
      Special Order
    $28.62
Three Point Hitch & Drawbar
Three Point Hitch & Drawbar Diagram and Parts List for 2050048U Cub Cadet Lawn Tractor
  • 1
    ROD-ASSY DRIVE – Part Number: IH-545511-R1
    ROD-ASSY DRIVE
    Part Number: IH-545511-R1
      Special Order
    $152.31
  • 1
    PLATE ASSY-DAMPER – Part Number: 903-0194
    PLATE ASSY-DAMPER
    Part Number: 903-0194
      Special Order
    $154.42
  • 2
    HUB – Part Number: IH-394034-R32
    HUB
    Part Number: IH-394034-R32
      Special Order
    $176.79
  • 2
    BEARING-COLUMN – Part Number: 941-3023
    BEARING-COLUMN
    Part Number: 941-3023
      Special Order
    $13.01
  • 2
    BOLT-WHEEL – Part Number: 710-3027
    BOLT-WHEEL
    Part Number: 710-3027
      Special Order
    $37.56
  • 3
    BEARING – Part Number: SU-9001370-0003
    BEARING
    Part Number: SU-9001370-0003
      Special Order
    $189.62
  • 3
    CONTROL-CHOKE – Part Number: IH-401439-R93
    CONTROL-CHOKE
    Part Number: IH-401439-R93
      Special Order
    $80.96
  • 3
    PIN – Part Number: IH-19837-R2
    PIN
    Part Number: IH-19837-R2
      Special Order
    $13.88
  • 3
    SPRING-COMPRESSION – Part Number: 932-3012
    SPRING-COMPRESSION
    Part Number: 932-3012
      Special Order
    $11.06
  • 4
    SPRING-COMPRESSION – Part Number: 932-3013
    SPRING-COMPRESSION
    Part Number: 932-3013
      Special Order
    $11.35
  • 4
    OIL SEAL – Part Number: 921-3032
    OIL SEAL
    Part Number: 921-3032
    ★★★★★
    ★★★★★
    (1)
      Special Order
    $27.31
  • 4
    ARM-COUPLING – Part Number: 759-3009
    ARM-COUPLING
    Part Number: 759-3009
      Special Order
    $146.62
  • 4
    Ball Joint Assembly – Part Number: 923-3000
    Ball Joint Assembly
    Part Number: 923-3000
      In Stock
    $33.88
  • 5
    FAN – Part Number: IH-547749-R2
    FAN
    Part Number: IH-547749-R2
    ★★★★★
    ★★★★★
    (1)
      Special Order
    $36.11
  • 5
    GASKET-AXLE CARRIE – Part Number: 721P3014
    GASKET-AXLE CARRIE
    Part Number: 721P3014
      On Order
    $21.09
  • 5
    SPRING GUIDE PIN – Part Number: 711-3033
    SPRING GUIDE PIN
    Part Number: 711-3033
      In Stock
    $24.57
  • 5
    Cotter Pin – Part Number: 714-3020
    Cotter Pin
    Part Number: 714-3020
      Special Order
    Minimum Quantity of 2 required
    $6.16
  • 6
    Fuel Shut-Off – Part Number: 951-3015
    Fuel Shut-Off
    Part Number: 951-3015
      Special Order
    $48.15
  • 7
    KNUCKLE-RH STEERIN – Part Number: IH-544217-R1
    KNUCKLE-RH STEERIN
    Part Number: IH-544217-R1
      Special Order
    $407.36
  • 7
    BUMPER – Part Number: IH-128509-H1
    BUMPER
    Part Number: IH-128509-H1
      Special Order
    $7.48
  • 7
    SPRING-LIFT HDLE – Part Number: 932-3005
    SPRING-LIFT HDLE
    Part Number: 932-3005
      On Order
    $13.84
  • 8
    BUSHING – Part Number: IH-394048-R1
    BUSHING
    Part Number: IH-394048-R1
      Special Order
    $42.03
  • 9
    SPRING-LIFT HDLE – Part Number: 932-3005
    SPRING-LIFT HDLE
    Part Number: 932-3005
      On Order
    $13.84
  • 9
    Bolt-hex – Part Number: 710-3020
    Bolt-hex
    Part Number: 710-3020
      No Longer Available
  • 10
    RETAINER/BALL ASSY – Part Number: 941-3021
    RETAINER/BALL ASSY
    Part Number: 941-3021
      Special Order
    $53.99
  • 10
    PAD-BRAKE & CLUTCH – Part Number: 924-3000
    PAD-BRAKE & CLUTCH
    Part Number: 924-3000
      Special Order
    $31.21
  • 10
    Ring, Retaining – Part Number: 716-0865
    Ring, Retaining
    Part Number: 716-0865
      In Stock
    $6.99
  • 11
    Connector-swivel tube 37 degree – Part Number: 927-3002
    Connector-swivel tube 37 degree
    Part Number: 927-3002
      Special Order
    $19.75
  • 12
    HINGE – Part Number: IH-545508-R2
    HINGE
    Part Number: IH-545508-R2
      Special Order
    $34.27
  • 12
    Case Assy, Transmission – Part Number: IH-394081-R91
    Case Assy, Transmission
    Part Number: IH-394081-R91
      No Longer Available
  • 12
    Ball Joint Assembly – Part Number: 923-3000
    Ball Joint Assembly
    Part Number: 923-3000
      In Stock
    $33.88
  • 12
    Ring-o-3/8 od tube – Part Number: 721-3001
    Ring-o-3/8 od tube
    Part Number: 721-3001
      Special Order
    $6.16
  • 13
    STATOR-BRAKE – Part Number: IH-548122-R2
    STATOR-BRAKE
    Part Number: IH-548122-R2
      Special Order
    $101.64
  • 13
    SPRING-EXTENSION – Part Number: 932-3015
    SPRING-EXTENSION
    Part Number: 932-3015
      Special Order
    $19.44
  • 13
    Harness Retainer – Part Number: 726-0272
    Harness Retainer
    Part Number: 726-0272
      Special Order
    $11.31
  • 14
    BUTTON – Part Number: IH-59982-C1
    BUTTON
    Part Number: IH-59982-C1
      Special Order
    $33.42
  • 15
    SPRING – Part Number: IH-543969-R1
    SPRING
    Part Number: IH-543969-R1
      Special Order
    $40.86
  • 15
    SPRING – Part Number: IH-391347-R2
    SPRING
    Part Number: IH-391347-R2
      Special Order
    $25.59
  • 15
    CLEVIS-ADJ ROD END – Part Number: 719-3018
    CLEVIS-ADJ ROD END
    Part Number: 719-3018
      Special Order
    $62.50
  • 15
    Fitting-90 deg hyd – Part Number: 727-3012
    Fitting-90 deg hyd
    Part Number: 727-3012
      Special Order
    $38.50
  • 15
    Gear assy-steering – Part Number: 703-1085
    Gear assy-steering
    Part Number: 703-1085
      No Longer Available
  • 16
    RING NAN-206 – Part Number: IH-473475-R1
    RING NAN-206
    Part Number: IH-473475-R1
      Special Order
    $16.35
  • 16
    RETAINER/BALL ASSY – Part Number: 941-3021
    RETAINER/BALL ASSY
    Part Number: 941-3021
      Special Order
    $53.99
  • 16
    Ring-o-3/8 od tube – Part Number: 721-3001
    Ring-o-3/8 od tube
    Part Number: 721-3001
      Special Order
    $6.16
  • 18
    STATOR-BRAKE – Part Number: IH-548122-R2
    STATOR-BRAKE
    Part Number: IH-548122-R2
      Special Order
    $101.64
  • 18
    GASKET – Part Number: IH-350837-R3
    GASKET
    Part Number: IH-350837-R3
      Special Order
    $42.63
  • 23
    NUT, 1/4-28 HEX JAM – Part Number: IH-25930-R2
    NUT, 1/4-28 HEX JAM
    Part Number: IH-25930-R2
      Special Order
    $7.04
  • 23
    GASKET – Part Number: 921-3004
    GASKET
    Part Number: 921-3004
      On Order
    $16.97
  • 24
    BEARING – Part Number: IH-ST436P
    BEARING
    Part Number: IH-ST436P
      Special Order
    $121.78
  • 25
    SWITCH-NEUTRAL STA – Part Number: 925-3038
    SWITCH-NEUTRAL STA
    Part Number: 925-3038
      On Order
    $103.68
  • 26
    SWITCH-IGNITION – Part Number: IH-60736-C3
    SWITCH-IGNITION
    Part Number: IH-60736-C3
      Special Order
    $115.63
  • 27
    KEY-IGNITION – Part Number: IH-131313-C2
    KEY-IGNITION
    Part Number: IH-131313-C2
      Special Order
    $19.44
  • 28
    PIPE – Part Number: SU-3101069
    PIPE
    Part Number: SU-3101069
      Special Order
    $58.70
  • 28
    WASHER – Part Number: IH-375431-R1
    WASHER
    Part Number: IH-375431-R1
      Special Order
    $18.85
  • 29
    NUT – Part Number: IH-365502-R1
    NUT
    Part Number: IH-365502-R1
      Special Order
    $18.11
  • 30
    SCREW – Part Number: IH-59980-C1
    SCREW
    Part Number: IH-59980-C1
      Special Order
    $6.16
  • 31
    SHOE-PTO BRAKE – Part Number: IH-59973-C1
    SHOE-PTO BRAKE
    Part Number: IH-59973-C1
      Special Order
    $184.92
  • 34
    PLUG ASM – Part Number: SU-4800323
    PLUG ASM
    Part Number: SU-4800323
      Special Order
    $51.69
  • 35
    Oil Filter – Part Number: 923-3014
    Oil Filter
    Part Number: 923-3014
      In Stock
    $23.78
  • 37
    VALVE ASSY – Part Number: SU-9500085P
    VALVE ASSY
    Part Number: SU-9500085P
      Special Order
    $571.20
  • 47
    OIL SEAL – Part Number: 921-3032
    OIL SEAL
    Part Number: 921-3032
    ★★★★★
    ★★★★★
    (1)
      Special Order
    $27.31
  • 48
    SHIM .014 – Part Number: 717-3099
    SHIM .014
    Part Number: 717-3099
      Special Order
    $53.83
  • 49
    PULLEY – Part Number: KH-231591
    PULLEY
    Part Number: KH-231591
      Special Order
    $297.40
  • 50
    DISC-FLEX COUPLING – Part Number: IH-376257-R3
    DISC-FLEX COUPLING
    Part Number: IH-376257-R3
      Special Order
    $62.97
  • 52
    CUP ASSEMBLY – Part Number: KH-41-071-03
    CUP ASSEMBLY
    Part Number: KH-41-071-03
      Special Order
    $195.55
  • 102
    POINTS-BREAKER – Part Number: KH-47-150-03
    POINTS-BREAKER
    Part Number: KH-47-150-03
      Special Order
    $32.28
  • 113
    BELT 3/8 X 31 11/1 – Part Number: IH-401960-R1
    BELT 3/8 X 31 11/1
    Part Number: IH-401960-R1
      Special Order
    $28.62
Transmission Case, Diff, Hydro Drive & Rel Pa
Transmission Case, Diff, Hydro Drive & Rel Pa Diagram and Parts List for 2050048U Cub Cadet Lawn Tractor
  • 1
    PLATE ASSY-DAMPER – Part Number: 903-0194
    PLATE ASSY-DAMPER
    Part Number: 903-0194
      Special Order
    $154.42
  • 1
    ROD-ASSY DRIVE – Part Number: IH-545511-R1
    ROD-ASSY DRIVE
    Part Number: IH-545511-R1
      Special Order
    $152.31
  • 2
    BOLT-WHEEL – Part Number: 710-3027
    BOLT-WHEEL
    Part Number: 710-3027
      Special Order
    $37.56
  • 2
    BEARING-COLUMN – Part Number: 941-3023
    BEARING-COLUMN
    Part Number: 941-3023
      Special Order
    $13.01
  • 2
    HUB – Part Number: IH-394034-R32
    HUB
    Part Number: IH-394034-R32
      Special Order
    $176.79
  • 3
    SPRING-COMPRESSION – Part Number: 932-3012
    SPRING-COMPRESSION
    Part Number: 932-3012
      Special Order
    $11.06
  • 3
    PIN – Part Number: IH-19837-R2
    PIN
    Part Number: IH-19837-R2
      Special Order
    $13.88
  • 3
    CONTROL-CHOKE – Part Number: IH-401439-R93
    CONTROL-CHOKE
    Part Number: IH-401439-R93
      Special Order
    $80.96
  • 3
    BEARING – Part Number: SU-9001370-0003
    BEARING
    Part Number: SU-9001370-0003
      Special Order
    $189.62
  • 4
    Ball Joint Assembly – Part Number: 923-3000
    Ball Joint Assembly
    Part Number: 923-3000
      In Stock
    $33.88
  • 4
    ARM-COUPLING – Part Number: 759-3009
    ARM-COUPLING
    Part Number: 759-3009
      Special Order
    $146.62
  • 4
    OIL SEAL – Part Number: 921-3032
    OIL SEAL
    Part Number: 921-3032
    ★★★★★
    ★★★★★
    (1)
      Special Order
    $27.31
  • 4
    SPRING-COMPRESSION – Part Number: 932-3013
    SPRING-COMPRESSION
    Part Number: 932-3013
      Special Order
    $11.35
  • 5
    Cotter Pin – Part Number: 714-3020
    Cotter Pin
    Part Number: 714-3020
      Special Order
    Minimum Quantity of 2 required
    $6.16
  • 5
    SPRING GUIDE PIN – Part Number: 711-3033
    SPRING GUIDE PIN
    Part Number: 711-3033
      In Stock
    $24.57
  • 5
    GASKET-AXLE CARRIE – Part Number: 721P3014
    GASKET-AXLE CARRIE
    Part Number: 721P3014
      On Order
    $21.09
  • 5
    FAN – Part Number: IH-547749-R2
    FAN
    Part Number: IH-547749-R2
    ★★★★★
    ★★★★★
    (1)
      Special Order
    $36.11
  • 6
    Fuel Shut-Off – Part Number: 951-3015
    Fuel Shut-Off
    Part Number: 951-3015
      Special Order
    $48.15
  • 7
    SPRING-LIFT HDLE – Part Number: 932-3005
    SPRING-LIFT HDLE
    Part Number: 932-3005
      On Order
    $13.84
  • 7
    BUMPER – Part Number: IH-128509-H1
    BUMPER
    Part Number: IH-128509-H1
      Special Order
    $7.48
  • 7
    KNUCKLE-RH STEERIN – Part Number: IH-544217-R1
    KNUCKLE-RH STEERIN
    Part Number: IH-544217-R1
      Special Order
    $407.36
  • 8
    BUSHING – Part Number: IH-394048-R1
    BUSHING
    Part Number: IH-394048-R1
      Special Order
    $42.03
  • 9
    Bolt-hex – Part Number: 710-3020
    Bolt-hex
    Part Number: 710-3020
      No Longer Available
  • 9
    SPRING-LIFT HDLE – Part Number: 932-3005
    SPRING-LIFT HDLE
    Part Number: 932-3005
      On Order
    $13.84
  • 10
    Ring, Retaining – Part Number: 716-0865
    Ring, Retaining
    Part Number: 716-0865
      In Stock
    $6.99
  • 10
    PAD-BRAKE & CLUTCH – Part Number: 924-3000
    PAD-BRAKE & CLUTCH
    Part Number: 924-3000
      Special Order
    $31.21
  • 10
    RETAINER/BALL ASSY – Part Number: 941-3021
    RETAINER/BALL ASSY
    Part Number: 941-3021
      Special Order
    $53.99
  • 11
    Connector-swivel tube 37 degree – Part Number: 927-3002
    Connector-swivel tube 37 degree
    Part Number: 927-3002
      Special Order
    $19.75
  • 12
    Ring-o-3/8 od tube – Part Number: 721-3001
    Ring-o-3/8 od tube
    Part Number: 721-3001
      Special Order
    $6.16
  • 12
    Ball Joint Assembly – Part Number: 923-3000
    Ball Joint Assembly
    Part Number: 923-3000
      In Stock
    $33.88
  • 12
    Case Assy, Transmission – Part Number: IH-394081-R91
    Case Assy, Transmission
    Part Number: IH-394081-R91
      No Longer Available
  • 12
    HINGE – Part Number: IH-545508-R2
    HINGE
    Part Number: IH-545508-R2
      Special Order
    $34.27
  • 13
    Harness Retainer – Part Number: 726-0272
    Harness Retainer
    Part Number: 726-0272
      Special Order
    $11.31
  • 13
    SPRING-EXTENSION – Part Number: 932-3015
    SPRING-EXTENSION
    Part Number: 932-3015
      Special Order
    $19.44
  • 13
    STATOR-BRAKE – Part Number: IH-548122-R2
    STATOR-BRAKE
    Part Number: IH-548122-R2
      Special Order
    $101.64
  • 14
    BUTTON – Part Number: IH-59982-C1
    BUTTON
    Part Number: IH-59982-C1
      Special Order
    $33.42
  • 15
    Gear assy-steering – Part Number: 703-1085
    Gear assy-steering
    Part Number: 703-1085
      No Longer Available
  • 15
    Fitting-90 deg hyd – Part Number: 727-3012
    Fitting-90 deg hyd
    Part Number: 727-3012
      Special Order
    $38.50
  • 15
    CLEVIS-ADJ ROD END – Part Number: 719-3018
    CLEVIS-ADJ ROD END
    Part Number: 719-3018
      Special Order
    $62.50
  • 15
    SPRING – Part Number: IH-391347-R2
    SPRING
    Part Number: IH-391347-R2
      Special Order
    $25.59
  • 15
    SPRING – Part Number: IH-543969-R1
    SPRING
    Part Number: IH-543969-R1
      Special Order
    $40.86
  • 16
    Ring-o-3/8 od tube – Part Number: 721-3001
    Ring-o-3/8 od tube
    Part Number: 721-3001
      Special Order
    $6.16
  • 16
    RETAINER/BALL ASSY – Part Number: 941-3021
    RETAINER/BALL ASSY
    Part Number: 941-3021
      Special Order
    $53.99
  • 16
    RING NAN-206 – Part Number: IH-473475-R1
    RING NAN-206
    Part Number: IH-473475-R1
      Special Order
    $16.35
  • 18
    GASKET – Part Number: IH-350837-R3
    GASKET
    Part Number: IH-350837-R3
      Special Order
    $42.63
  • 18
    STATOR-BRAKE – Part Number: IH-548122-R2
    STATOR-BRAKE
    Part Number: IH-548122-R2
      Special Order
    $101.64
  • 23
    GASKET – Part Number: 921-3004
    GASKET
    Part Number: 921-3004
      On Order
    $16.97
  • 23
    NUT, 1/4-28 HEX JAM – Part Number: IH-25930-R2
    NUT, 1/4-28 HEX JAM
    Part Number: IH-25930-R2
      Special Order
    $7.04
  • 24
    BEARING – Part Number: IH-ST436P
    BEARING
    Part Number: IH-ST436P
      Special Order
    $121.78
  • 25
    SWITCH-NEUTRAL STA – Part Number: 925-3038
    SWITCH-NEUTRAL STA
    Part Number: 925-3038
      On Order
    $103.68
  • 26
    SWITCH-IGNITION – Part Number: IH-60736-C3
    SWITCH-IGNITION
    Part Number: IH-60736-C3
      Special Order
    $115.63
  • 27
    KEY-IGNITION – Part Number: IH-131313-C2
    KEY-IGNITION
    Part Number: IH-131313-C2
      Special Order
    $19.44
  • 28
    WASHER – Part Number: IH-375431-R1
    WASHER
    Part Number: IH-375431-R1
      Special Order
    $18.85
  • 28
    PIPE – Part Number: SU-3101069
    PIPE
    Part Number: SU-3101069
      Special Order
    $58.70
  • 29
    NUT – Part Number: IH-365502-R1
    NUT
    Part Number: IH-365502-R1
      Special Order
    $18.11
  • 30
    SCREW – Part Number: IH-59980-C1
    SCREW
    Part Number: IH-59980-C1
      Special Order
    $6.16
  • 31
    SHOE-PTO BRAKE – Part Number: IH-59973-C1
    SHOE-PTO BRAKE
    Part Number: IH-59973-C1
      Special Order
    $184.92
  • 34
    PLUG ASM – Part Number: SU-4800323
    PLUG ASM
    Part Number: SU-4800323
      Special Order
    $51.69
  • 35
    Oil Filter – Part Number: 923-3014
    Oil Filter
    Part Number: 923-3014
      In Stock
    $23.78
  • 37
    VALVE ASSY – Part Number: SU-9500085P
    VALVE ASSY
    Part Number: SU-9500085P
      Special Order
    $571.20
  • 47
    OIL SEAL – Part Number: 921-3032
    OIL SEAL
    Part Number: 921-3032
    ★★★★★
    ★★★★★
    (1)
      Special Order
    $27.31
  • 48
    SHIM .014 – Part Number: 717-3099
    SHIM .014
    Part Number: 717-3099
      Special Order
    $53.83
  • 49
    PULLEY – Part Number: KH-231591
    PULLEY
    Part Number: KH-231591
      Special Order
    $297.40
  • 50
    DISC-FLEX COUPLING – Part Number: IH-376257-R3
    DISC-FLEX COUPLING
    Part Number: IH-376257-R3
      Special Order
    $62.97
  • 52
    CUP ASSEMBLY – Part Number: KH-41-071-03
    CUP ASSEMBLY
    Part Number: KH-41-071-03
      Special Order
    $195.55
  • 102
    POINTS-BREAKER – Part Number: KH-47-150-03
    POINTS-BREAKER
    Part Number: KH-47-150-03
      Special Order
    $32.28
  • 113
    BELT 3/8 X 31 11/1 – Part Number: IH-401960-R1
    BELT 3/8 X 31 11/1
    Part Number: IH-401960-R1
      Special Order
    $28.62
Transmission Controls
Transmission Controls Diagram and Parts List for 2050048U Cub Cadet Lawn Tractor
  • 1
    ROD-ASSY DRIVE – Part Number: IH-545511-R1
    ROD-ASSY DRIVE
    Part Number: IH-545511-R1
      Special Order
    $152.31
  • 1
    PLATE ASSY-DAMPER – Part Number: 903-0194
    PLATE ASSY-DAMPER
    Part Number: 903-0194
      Special Order
    $154.42
  • 2
    HUB – Part Number: IH-394034-R32
    HUB
    Part Number: IH-394034-R32
      Special Order
    $176.79
  • 2
    BEARING-COLUMN – Part Number: 941-3023
    BEARING-COLUMN
    Part Number: 941-3023
      Special Order
    $13.01
  • 2
    BOLT-WHEEL – Part Number: 710-3027
    BOLT-WHEEL
    Part Number: 710-3027
      Special Order
    $37.56
  • 3
    BEARING – Part Number: SU-9001370-0003
    BEARING
    Part Number: SU-9001370-0003
      Special Order
    $189.62
  • 3
    CONTROL-CHOKE – Part Number: IH-401439-R93
    CONTROL-CHOKE
    Part Number: IH-401439-R93
      Special Order
    $80.96
  • 3
    PIN – Part Number: IH-19837-R2
    PIN
    Part Number: IH-19837-R2
      Special Order
    $13.88
  • 3
    SPRING-COMPRESSION – Part Number: 932-3012
    SPRING-COMPRESSION
    Part Number: 932-3012
      Special Order
    $11.06
  • 4
    SPRING-COMPRESSION – Part Number: 932-3013
    SPRING-COMPRESSION
    Part Number: 932-3013
      Special Order
    $11.35
  • 4
    OIL SEAL – Part Number: 921-3032
    OIL SEAL
    Part Number: 921-3032
    ★★★★★
    ★★★★★
    (1)
      Special Order
    $27.31
  • 4
    ARM-COUPLING – Part Number: 759-3009
    ARM-COUPLING
    Part Number: 759-3009
      Special Order
    $146.62
  • 4
    Ball Joint Assembly – Part Number: 923-3000
    Ball Joint Assembly
    Part Number: 923-3000
      In Stock
    $33.88
  • 5
    FAN – Part Number: IH-547749-R2
    FAN
    Part Number: IH-547749-R2
    ★★★★★
    ★★★★★
    (1)
      Special Order
    $36.11
  • 5
    GASKET-AXLE CARRIE – Part Number: 721P3014
    GASKET-AXLE CARRIE
    Part Number: 721P3014
      On Order
    $21.09
  • 5
    SPRING GUIDE PIN – Part Number: 711-3033
    SPRING GUIDE PIN
    Part Number: 711-3033
      In Stock
    $24.57
  • 5
    Cotter Pin – Part Number: 714-3020
    Cotter Pin
    Part Number: 714-3020
      Special Order
    Minimum Quantity of 2 required
    $6.16
  • 6
    Fuel Shut-Off – Part Number: 951-3015
    Fuel Shut-Off
    Part Number: 951-3015
      Special Order
    $48.15
  • 7
    KNUCKLE-RH STEERIN – Part Number: IH-544217-R1
    KNUCKLE-RH STEERIN
    Part Number: IH-544217-R1
      Special Order
    $407.36
  • 7
    BUMPER – Part Number: IH-128509-H1
    BUMPER
    Part Number: IH-128509-H1
      Special Order
    $7.48
  • 7
    SPRING-LIFT HDLE – Part Number: 932-3005
    SPRING-LIFT HDLE
    Part Number: 932-3005
      On Order
    $13.84
  • 8
    BUSHING – Part Number: IH-394048-R1
    BUSHING
    Part Number: IH-394048-R1
      Special Order
    $42.03
  • 9
    SPRING-LIFT HDLE – Part Number: 932-3005
    SPRING-LIFT HDLE
    Part Number: 932-3005
      On Order
    $13.84
  • 9
    Bolt-hex – Part Number: 710-3020
    Bolt-hex
    Part Number: 710-3020
      No Longer Available
  • 10
    RETAINER/BALL ASSY – Part Number: 941-3021
    RETAINER/BALL ASSY
    Part Number: 941-3021
      Special Order
    $53.99
  • 10
    PAD-BRAKE & CLUTCH – Part Number: 924-3000
    PAD-BRAKE & CLUTCH
    Part Number: 924-3000
      Special Order
    $31.21
  • 10
    Ring, Retaining – Part Number: 716-0865
    Ring, Retaining
    Part Number: 716-0865
      In Stock
    $6.99
  • 11
    Connector-swivel tube 37 degree – Part Number: 927-3002
    Connector-swivel tube 37 degree
    Part Number: 927-3002
      Special Order
    $19.75
  • 12
    HINGE – Part Number: IH-545508-R2
    HINGE
    Part Number: IH-545508-R2
      Special Order
    $34.27
  • 12
    Case Assy, Transmission – Part Number: IH-394081-R91
    Case Assy, Transmission
    Part Number: IH-394081-R91
      No Longer Available
  • 12
    Ball Joint Assembly – Part Number: 923-3000
    Ball Joint Assembly
    Part Number: 923-3000
      In Stock
    $33.88
  • 12
    Ring-o-3/8 od tube – Part Number: 721-3001
    Ring-o-3/8 od tube
    Part Number: 721-3001
      Special Order
    $6.16
  • 13
    STATOR-BRAKE – Part Number: IH-548122-R2
    STATOR-BRAKE
    Part Number: IH-548122-R2
      Special Order
    $101.64
  • 13
    SPRING-EXTENSION – Part Number: 932-3015
    SPRING-EXTENSION
    Part Number: 932-3015
      Special Order
    $19.44
  • 13
    Harness Retainer – Part Number: 726-0272
    Harness Retainer
    Part Number: 726-0272
      Special Order
    $11.31
  • 14
    BUTTON – Part Number: IH-59982-C1
    BUTTON
    Part Number: IH-59982-C1
      Special Order
    $33.42
  • 15
    SPRING – Part Number: IH-543969-R1
    SPRING
    Part Number: IH-543969-R1
      Special Order
    $40.86
  • 15
    SPRING – Part Number: IH-391347-R2
    SPRING
    Part Number: IH-391347-R2
      Special Order
    $25.59
  • 15
    CLEVIS-ADJ ROD END – Part Number: 719-3018
    CLEVIS-ADJ ROD END
    Part Number: 719-3018
      Special Order
    $62.50
  • 15
    Fitting-90 deg hyd – Part Number: 727-3012
    Fitting-90 deg hyd
    Part Number: 727-3012
      Special Order
    $38.50
  • 15
    Gear assy-steering – Part Number: 703-1085
    Gear assy-steering
    Part Number: 703-1085
      No Longer Available
  • 16
    RING NAN-206 – Part Number: IH-473475-R1
    RING NAN-206
    Part Number: IH-473475-R1
      Special Order
    $16.35
  • 16
    RETAINER/BALL ASSY – Part Number: 941-3021
    RETAINER/BALL ASSY
    Part Number: 941-3021
      Special Order
    $53.99
  • 16
    Ring-o-3/8 od tube – Part Number: 721-3001
    Ring-o-3/8 od tube
    Part Number: 721-3001
      Special Order
    $6.16
  • 18
    STATOR-BRAKE – Part Number: IH-548122-R2
    STATOR-BRAKE
    Part Number: IH-548122-R2
      Special Order
    $101.64
  • 18
    GASKET – Part Number: IH-350837-R3
    GASKET
    Part Number: IH-350837-R3
      Special Order
    $42.63
  • 23
    NUT, 1/4-28 HEX JAM – Part Number: IH-25930-R2
    NUT, 1/4-28 HEX JAM
    Part Number: IH-25930-R2
      Special Order
    $7.04
  • 23
    GASKET – Part Number: 921-3004
    GASKET
    Part Number: 921-3004
      On Order
    $16.97
  • 24
    BEARING – Part Number: IH-ST436P
    BEARING
    Part Number: IH-ST436P
      Special Order
    $121.78
  • 25
    SWITCH-NEUTRAL STA – Part Number: 925-3038
    SWITCH-NEUTRAL STA
    Part Number: 925-3038
      On Order
    $103.68
  • 26
    SWITCH-IGNITION – Part Number: IH-60736-C3
    SWITCH-IGNITION
    Part Number: IH-60736-C3
      Special Order
    $115.63
  • 27
    KEY-IGNITION – Part Number: IH-131313-C2
    KEY-IGNITION
    Part Number: IH-131313-C2
      Special Order
    $19.44
  • 28
    PIPE – Part Number: SU-3101069
    PIPE
    Part Number: SU-3101069
      Special Order
    $58.70
  • 28
    WASHER – Part Number: IH-375431-R1
    WASHER
    Part Number: IH-375431-R1
      Special Order
    $18.85
  • 29
    NUT – Part Number: IH-365502-R1
    NUT
    Part Number: IH-365502-R1
      Special Order
    $18.11
  • 30
    SCREW – Part Number: IH-59980-C1
    SCREW
    Part Number: IH-59980-C1
      Special Order
    $6.16
  • 31
    SHOE-PTO BRAKE – Part Number: IH-59973-C1
    SHOE-PTO BRAKE
    Part Number: IH-59973-C1
      Special Order
    $184.92
  • 34
    PLUG ASM – Part Number: SU-4800323
    PLUG ASM
    Part Number: SU-4800323
      Special Order
    $51.69
  • 35
    Oil Filter – Part Number: 923-3014
    Oil Filter
    Part Number: 923-3014
      In Stock
    $23.78
  • 37
    VALVE ASSY – Part Number: SU-9500085P
    VALVE ASSY
    Part Number: SU-9500085P
      Special Order
    $571.20
  • 47
    OIL SEAL – Part Number: 921-3032
    OIL SEAL
    Part Number: 921-3032
    ★★★★★
    ★★★★★
    (1)
      Special Order
    $27.31
  • 48
    SHIM .014 – Part Number: 717-3099
    SHIM .014
    Part Number: 717-3099
      Special Order
    $53.83
  • 49
    PULLEY – Part Number: KH-231591
    PULLEY
    Part Number: KH-231591
      Special Order
    $297.40
  • 50
    DISC-FLEX COUPLING – Part Number: IH-376257-R3
    DISC-FLEX COUPLING
    Part Number: IH-376257-R3
      Special Order
    $62.97
  • 52
    CUP ASSEMBLY – Part Number: KH-41-071-03
    CUP ASSEMBLY
    Part Number: KH-41-071-03
      Special Order
    $195.55
  • 102
    POINTS-BREAKER – Part Number: KH-47-150-03
    POINTS-BREAKER
    Part Number: KH-47-150-03
      Special Order
    $32.28
  • 113
    BELT 3/8 X 31 11/1 – Part Number: IH-401960-R1
    BELT 3/8 X 31 11/1
    Part Number: IH-401960-R1
      Special Order
    $28.62
Utility Box
Utility Box Diagram and Parts List for 2050048U Cub Cadet Lawn Tractor
  • 1
    PLATE ASSY-DAMPER – Part Number: 903-0194
    PLATE ASSY-DAMPER
    Part Number: 903-0194
      Special Order
    $154.42
  • 1
    ROD-ASSY DRIVE – Part Number: IH-545511-R1
    ROD-ASSY DRIVE
    Part Number: IH-545511-R1
      Special Order
    $152.31
  • 2
    BOLT-WHEEL – Part Number: 710-3027
    BOLT-WHEEL
    Part Number: 710-3027
      Special Order
    $37.56
  • 2
    BEARING-COLUMN – Part Number: 941-3023
    BEARING-COLUMN
    Part Number: 941-3023
      Special Order
    $13.01
  • 2
    HUB – Part Number: IH-394034-R32
    HUB
    Part Number: IH-394034-R32
      Special Order
    $176.79
  • 3
    SPRING-COMPRESSION – Part Number: 932-3012
    SPRING-COMPRESSION
    Part Number: 932-3012
      Special Order
    $11.06
  • 3
    PIN – Part Number: IH-19837-R2
    PIN
    Part Number: IH-19837-R2
      Special Order
    $13.88
  • 3
    CONTROL-CHOKE – Part Number: IH-401439-R93
    CONTROL-CHOKE
    Part Number: IH-401439-R93
      Special Order
    $80.96
  • 3
    BEARING – Part Number: SU-9001370-0003
    BEARING
    Part Number: SU-9001370-0003
      Special Order
    $189.62
  • 4
    Ball Joint Assembly – Part Number: 923-3000
    Ball Joint Assembly
    Part Number: 923-3000
      In Stock
    $33.88
  • 4
    ARM-COUPLING – Part Number: 759-3009
    ARM-COUPLING
    Part Number: 759-3009
      Special Order
    $146.62
  • 4
    OIL SEAL – Part Number: 921-3032
    OIL SEAL
    Part Number: 921-3032
    ★★★★★
    ★★★★★
    (1)
      Special Order
    $27.31
  • 4
    SPRING-COMPRESSION – Part Number: 932-3013
    SPRING-COMPRESSION
    Part Number: 932-3013
      Special Order
    $11.35
  • 5
    Cotter Pin – Part Number: 714-3020
    Cotter Pin
    Part Number: 714-3020
      Special Order
    Minimum Quantity of 2 required
    $6.16
  • 5
    SPRING GUIDE PIN – Part Number: 711-3033
    SPRING GUIDE PIN
    Part Number: 711-3033
      In Stock
    $24.57
  • 5
    GASKET-AXLE CARRIE – Part Number: 721P3014
    GASKET-AXLE CARRIE
    Part Number: 721P3014
      On Order
    $21.09
  • 5
    FAN – Part Number: IH-547749-R2
    FAN
    Part Number: IH-547749-R2
    ★★★★★
    ★★★★★
    (1)
      Special Order
    $36.11
  • 6
    Fuel Shut-Off – Part Number: 951-3015
    Fuel Shut-Off
    Part Number: 951-3015
      Special Order
    $48.15
  • 7
    SPRING-LIFT HDLE – Part Number: 932-3005
    SPRING-LIFT HDLE
    Part Number: 932-3005
      On Order
    $13.84
  • 7
    BUMPER – Part Number: IH-128509-H1
    BUMPER
    Part Number: IH-128509-H1
      Special Order
    $7.48
  • 7
    KNUCKLE-RH STEERIN – Part Number: IH-544217-R1
    KNUCKLE-RH STEERIN
    Part Number: IH-544217-R1
      Special Order
    $407.36
  • 8
    BUSHING – Part Number: IH-394048-R1
    BUSHING
    Part Number: IH-394048-R1
      Special Order
    $42.03
  • 9
    Bolt-hex – Part Number: 710-3020
    Bolt-hex
    Part Number: 710-3020
      No Longer Available
  • 9
    SPRING-LIFT HDLE – Part Number: 932-3005
    SPRING-LIFT HDLE
    Part Number: 932-3005
      On Order
    $13.84
  • 10
    Ring, Retaining – Part Number: 716-0865
    Ring, Retaining
    Part Number: 716-0865
      In Stock
    $6.99
  • 10
    PAD-BRAKE & CLUTCH – Part Number: 924-3000
    PAD-BRAKE & CLUTCH
    Part Number: 924-3000
      Special Order
    $31.21
  • 10
    RETAINER/BALL ASSY – Part Number: 941-3021
    RETAINER/BALL ASSY
    Part Number: 941-3021
      Special Order
    $53.99
  • 11
    Connector-swivel tube 37 degree – Part Number: 927-3002
    Connector-swivel tube 37 degree
    Part Number: 927-3002
      Special Order
    $19.75
  • 12
    Ring-o-3/8 od tube – Part Number: 721-3001
    Ring-o-3/8 od tube
    Part Number: 721-3001
      Special Order
    $6.16
  • 12
    Ball Joint Assembly – Part Number: 923-3000
    Ball Joint Assembly
    Part Number: 923-3000
      In Stock
    $33.88
  • 12
    Case Assy, Transmission – Part Number: IH-394081-R91
    Case Assy, Transmission
    Part Number: IH-394081-R91
      No Longer Available
  • 12
    HINGE – Part Number: IH-545508-R2
    HINGE
    Part Number: IH-545508-R2
      Special Order
    $34.27
  • 13
    Harness Retainer – Part Number: 726-0272
    Harness Retainer
    Part Number: 726-0272
      Special Order
    $11.31
  • 13
    SPRING-EXTENSION – Part Number: 932-3015
    SPRING-EXTENSION
    Part Number: 932-3015
      Special Order
    $19.44
  • 13
    STATOR-BRAKE – Part Number: IH-548122-R2
    STATOR-BRAKE
    Part Number: IH-548122-R2
      Special Order
    $101.64
  • 14
    BUTTON – Part Number: IH-59982-C1
    BUTTON
    Part Number: IH-59982-C1
      Special Order
    $33.42
  • 15
    Gear assy-steering – Part Number: 703-1085
    Gear assy-steering
    Part Number: 703-1085
      No Longer Available
  • 15
    Fitting-90 deg hyd – Part Number: 727-3012
    Fitting-90 deg hyd
    Part Number: 727-3012
      Special Order
    $38.50
  • 15
    CLEVIS-ADJ ROD END – Part Number: 719-3018
    CLEVIS-ADJ ROD END
    Part Number: 719-3018
      Special Order
    $62.50
  • 15
    SPRING – Part Number: IH-391347-R2
    SPRING
    Part Number: IH-391347-R2
      Special Order
    $25.59
  • 15
    SPRING – Part Number: IH-543969-R1
    SPRING
    Part Number: IH-543969-R1
      Special Order
    $40.86
  • 16
    Ring-o-3/8 od tube – Part Number: 721-3001
    Ring-o-3/8 od tube
    Part Number: 721-3001
      Special Order
    $6.16
  • 16
    RETAINER/BALL ASSY – Part Number: 941-3021
    RETAINER/BALL ASSY
    Part Number: 941-3021
      Special Order
    $53.99
  • 16
    RING NAN-206 – Part Number: IH-473475-R1
    RING NAN-206
    Part Number: IH-473475-R1
      Special Order
    $16.35
  • 18
    GASKET – Part Number: IH-350837-R3
    GASKET
    Part Number: IH-350837-R3
      Special Order
    $42.63
  • 18
    STATOR-BRAKE – Part Number: IH-548122-R2
    STATOR-BRAKE
    Part Number: IH-548122-R2
      Special Order
    $101.64
  • 23
    GASKET – Part Number: 921-3004
    GASKET
    Part Number: 921-3004
      On Order
    $16.97
  • 23
    NUT, 1/4-28 HEX JAM – Part Number: IH-25930-R2
    NUT, 1/4-28 HEX JAM
    Part Number: IH-25930-R2
      Special Order
    $7.04
  • 24
    BEARING – Part Number: IH-ST436P
    BEARING
    Part Number: IH-ST436P
      Special Order
    $121.78
  • 25
    SWITCH-NEUTRAL STA – Part Number: 925-3038
    SWITCH-NEUTRAL STA
    Part Number: 925-3038
      On Order
    $103.68
  • 26
    SWITCH-IGNITION – Part Number: IH-60736-C3
    SWITCH-IGNITION
    Part Number: IH-60736-C3
      Special Order
    $115.63
  • 27
    KEY-IGNITION – Part Number: IH-131313-C2
    KEY-IGNITION
    Part Number: IH-131313-C2
      Special Order
    $19.44
  • 28
    WASHER – Part Number: IH-375431-R1
    WASHER
    Part Number: IH-375431-R1
      Special Order
    $18.85
  • 28
    PIPE – Part Number: SU-3101069
    PIPE
    Part Number: SU-3101069
      Special Order
    $58.70
  • 29
    NUT – Part Number: IH-365502-R1
    NUT
    Part Number: IH-365502-R1
      Special Order
    $18.11
  • 30
    SCREW – Part Number: IH-59980-C1
    SCREW
    Part Number: IH-59980-C1
      Special Order
    $6.16
  • 31
    SHOE-PTO BRAKE – Part Number: IH-59973-C1
    SHOE-PTO BRAKE
    Part Number: IH-59973-C1
      Special Order
    $184.92
  • 34
    PLUG ASM – Part Number: SU-4800323
    PLUG ASM
    Part Number: SU-4800323
      Special Order
    $51.69
  • 35
    Oil Filter – Part Number: 923-3014
    Oil Filter
    Part Number: 923-3014
      In Stock
    $23.78
  • 37
    VALVE ASSY – Part Number: SU-9500085P
    VALVE ASSY
    Part Number: SU-9500085P
      Special Order
    $571.20
  • 47
    OIL SEAL – Part Number: 921-3032
    OIL SEAL
    Part Number: 921-3032
    ★★★★★
    ★★★★★
    (1)
      Special Order
    $27.31
  • 48
    SHIM .014 – Part Number: 717-3099
    SHIM .014
    Part Number: 717-3099
      Special Order
    $53.83
  • 49
    PULLEY – Part Number: KH-231591
    PULLEY
    Part Number: KH-231591
      Special Order
    $297.40
  • 50
    DISC-FLEX COUPLING – Part Number: IH-376257-R3
    DISC-FLEX COUPLING
    Part Number: IH-376257-R3
      Special Order
    $62.97
  • 52
    CUP ASSEMBLY – Part Number: KH-41-071-03
    CUP ASSEMBLY
    Part Number: KH-41-071-03
      Special Order
    $195.55
  • 102
    POINTS-BREAKER – Part Number: KH-47-150-03
    POINTS-BREAKER
    Part Number: KH-47-150-03
      Special Order
    $32.28
  • 113
    BELT 3/8 X 31 11/1 – Part Number: IH-401960-R1
    BELT 3/8 X 31 11/1
    Part Number: IH-401960-R1
      Special Order
    $28.62