Craftsman Parts

Craftsman Lawn Tractor Replacement Parts For Model 917275760

We Sell Only Genuine Craftsman Parts

Find Craftsman 917275760 Parts By Symptom

Will Not Start

100%

Popular Parts for 917275760

Search Within Model

Browse all Parts Search by Area
Chassis  Enclosures Diagram and Parts List for  Craftsman Lawn Tractor
Chassis Enclosures
Decals Diagram and Parts List for  Craftsman Lawn Tractor
Decals
Electrical Diagram and Parts List for  Craftsman Lawn Tractor
Electrical
Engine Diagram and Parts List for  Craftsman Lawn Tractor
Engine
Ground Drive Diagram and Parts List for  Craftsman Lawn Tractor
Ground Drive
Lift Assembly Diagram and Parts List for  Craftsman Lawn Tractor
Lift Assembly
Mower Deck Diagram and Parts List for  Craftsman Lawn Tractor
Mower Deck
Peerless Transaxle - 2000-006A Diagram and Parts List for  Craftsman Lawn Tractor
Peerless Transaxle - 2000-006A
Seat Assembly Diagram and Parts List for  Craftsman Lawn Tractor
Seat Assembly
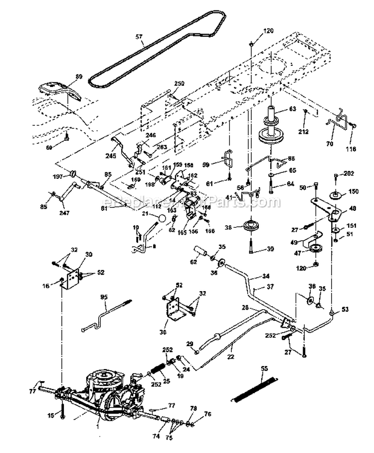
Steering Assembly Diagram and Parts List for  Craftsman Lawn Tractor
Steering Assembly
Wheels  Tires Diagram and Parts List for  Craftsman Lawn Tractor
Wheels Tires
Previous Showing All Parts Next
Chassis Enclosures
Chassis  Enclosures Diagram and Parts List for  Craftsman Lawn Tractor
Decals
Decals Diagram and Parts List for  Craftsman Lawn Tractor
Electrical
Electrical Diagram and Parts List for  Craftsman Lawn Tractor
Engine
Engine Diagram and Parts List for  Craftsman Lawn Tractor
Ground Drive
Ground Drive Diagram and Parts List for  Craftsman Lawn Tractor
Lift Assembly
Lift Assembly Diagram and Parts List for  Craftsman Lawn Tractor
Mower Deck
Mower Deck Diagram and Parts List for  Craftsman Lawn Tractor
Peerless Transaxle - 2000-006A
Peerless Transaxle - 2000-006A Diagram and Parts List for  Craftsman Lawn Tractor
  • K-1
    COVER – Part Number: 772151
    COVER
    Part Number: 772151
      Special Order
    $90.03
  • K-3
    USE 00770135A – Part Number: 770135
    USE 00770135A
    Part Number: 770135
      Special Order
    $83.89
  • K-5
    Output Shaft – Part Number: 776355
    Output Shaft
    Part Number: 776355
      No Longer Available
  • K-6
    Spur Gear (11 Teeth) – Part Number: 778263
    Spur Gear (11 Teeth)
    Part Number: 778263
      Special Order
    $85.62
  • K-9
    SLEEVE – Part Number: 786197
    SLEEVE
    Part Number: 786197
      On Order
    $28.28
  • K-13
    Bevel Gear (13 teeth) – Part Number: 778368
    Bevel Gear (13 teeth)
    Part Number: 778368
      No Longer Available
  • K-14
    Bevel Gear (13 teeth) – Part Number: 778368
    Bevel Gear (13 teeth)
    Part Number: 778368
      No Longer Available
  • K-15
    RING GEAR – Part Number: 778373
    RING GEAR
    Part Number: 778373
      Special Order
    $71.30
  • K-17
    Drive Pin – Part Number: 786139
    Drive Pin
    Part Number: 786139
      Special Order
    $14.64
  • K-22
    USE 00792218 – Part Number: 792194
    USE 00792218
    Part Number: 792194
      On Order
    $6.16
  • K-23
    Washer – Part Number: 792195
    Washer
    Part Number: 792195
      No Longer Available
  • K-25
    Screw 1/4-20 X 1-1/4 – Part Number: 792073
    Screw 1/4-20 X 1-1/4
    Part Number: 792073
      In Stock
    Minimum Quantity of 2 required
    $6.16
  • K-26
    Ring, Retainer (4 Required, Package of 2) – Part Number: 792125
    Ring, Retainer (4 Required, Package of 2)
    Part Number: 792125
      No Longer Available
  • K-28
    Retaining Ring – Part Number: TC-792035
    Retaining Ring
    Part Number: TC-792035
      Special Order
    $15.33
  • K-29
    Thrust Washer – Part Number: 780065
    Thrust Washer
    Part Number: 780065
      Special Order
    $6.16
  • K-31
    Washer – Part Number: 780189
    Washer
    Part Number: 780189
      Special Order
    $6.16
  • K-36
    Brake Disk – Part Number: 790071
    Brake Disk
    Part Number: 790071
      Special Order
    $20.18
  • K-37
    Plate, Brake Pad – Part Number: TC-790007
    Plate, Brake Pad
    Part Number: TC-790007
      No Longer Available
  • K-38
    Pad, Brake – Part Number: 799021
    Pad, Brake
    Part Number: 799021
      No Longer Available
  • K-40
    Roll Pin – Part Number: 792204
    Roll Pin
    Part Number: 792204
      No Longer Available
  • K-41
    LEVER – Part Number: 790102
    LEVER
    Part Number: 790102
      In Stock
    $8.70
  • K-42
    SCREW – Part Number: 792202
    SCREW
    Part Number: 792202
      Special Order
    $6.16
  • K-42A
    SCREW – Part Number: 792203
    SCREW
    Part Number: 792203
      Special Order
    $6.16
  • K-43
    SCREW – Part Number: 792171
    SCREW
    Part Number: 792171
      Special Order
    $6.16
  • K-44A
    INSIDE BRAKE – Part Number: 790100
    INSIDE BRAKE
    Part Number: 790100
      Special Order
    $28.24
  • K-44B
    OUTSIDE BRAKE – Part Number: 790099
    OUTSIDE BRAKE
    Part Number: 790099
      Special Order
    $19.68
  • K-45
    BRAKE ROD – Part Number: 790101
    BRAKE ROD
    Part Number: 790101
      Special Order
    $40.77
  • K-47
    Axle (16-13/16" Ig.) – Part Number: 774869
    Axle (16-13/16" Ig.)
    Part Number: 774869
      Special Order
    $66.02
  • K-48
    Axle (11-5/8" Long) – Part Number: 774688
    Axle (11-5/8" Long)
    Part Number: 774688
      Special Order
    $73.17
  • K-49
    Spur Gear – Part Number: 778378
    Spur Gear
    Part Number: 778378
      No Longer Available
  • K-56
    Spur Gear – Part Number: 778379
    Spur Gear
    Part Number: 778379
      No Longer Available
  • K-65
    Flat Washer (.062 wide) – Part Number: 780195
    Flat Washer (.062 wide)
    Part Number: 780195
      No Longer Available
  • K-67
    BRAKE SHAFT – Part Number: 776440
    BRAKE SHAFT
    Part Number: 776440
      Special Order
    $79.19
  • K-70
    SPACER – Part Number: 786196
    SPACER
    Part Number: 786196
      Special Order
    $6.16
  • K-79
    SPRING – Part Number: 792201
    SPRING
    Part Number: 792201
      Special Order
    $6.16
  • K-85
    Oil Fill Plug – Part Number: 792154
    $9.72
  • K-87
    Oil Seal 3/4" ID – Part Number: TC-788088A
    Oil Seal 3/4" ID
    Part Number: TC-788088A
      No Longer Available
  • K-99
    WASHER – Part Number: 792141
    WASHER
    Part Number: 792141
      Special Order
    $6.16
  • K-100
    WASHER – Part Number: 792200
    WASHER
    Part Number: 792200
      Special Order
    $6.16
  • K-101
    SPRING – Part Number: 792199
    SPRING
    Part Number: 792199
      Special Order
    $6.16
  • K-102
    WASHER – Part Number: 792184
    WASHER
    Part Number: 792184
      Special Order
    $6.16
  • K-103
    SCREW – Part Number: 792193
    SCREW
    Part Number: 792193
      Special Order
    $6.16
  • K-104
    NUT – Part Number: 792198
    NUT
    Part Number: 792198
      Special Order
    $6.16
  • K-105
    Washer Thrust – Part Number: 780096
    Washer Thrust
    Part Number: 780096
      Special Order
    $6.16
  • K-106
    SLEEVE ASSEMBLY – Part Number: 786162
    SLEEVE ASSEMBLY
    Part Number: 786162
      Special Order
    $12.08
  • K-107
    Screw-Thread Forming – Part Number: 792046
    Screw-Thread Forming
    Part Number: 792046
      Special Order
    $1406.55
  • K-109
    O RING – Part Number: 788104
    O RING
    Part Number: 788104
      Special Order
    $6.16
  • K-113
    SLEEVE – Part Number: 786199
    SLEEVE
    Part Number: 786199
      Special Order
    $22.87
  • K-114
    SLEEVE – Part Number: 786200
    SLEEVE
    Part Number: 786200
      Special Order
    $70.26
  • K-115
    SLEEVE – Part Number: 786198
    SLEEVE
    Part Number: 786198
      Special Order
    $31.31
  • K-127
    SHIFT LEVER – Part Number: 784384
    SHIFT LEVER
    Part Number: 784384
      Special Order
    $47.49
  • K-150
    Sealer – Part Number: 788093A
    Sealer
    Part Number: 788093A
      Special Order
    $71.40
  • K-157
    Oil Seal – Part Number: 788102
    Oil Seal
    Part Number: 788102
      No Longer Available
  • K-180
    OIL 80W90 – Part Number: 730229B
    OIL 80W90
    Part Number: 730229B
      Special Order
    $52.46
  • K-182
    GROMMET – Part Number: 788103
    GROMMET
    Part Number: 788103
      Special Order
    $6.16
  • K-183
    VALVE – Part Number: 792118
    VALVE
    Part Number: 792118
      Special Order
    $13.28
  • K-184
    FITTING – Part Number: 792196
    FITTING
    Part Number: 792196
      Special Order
    $7.00
  • K-185
    TUBING – Part Number: 798050
    TUBING
    Part Number: 798050
      Special Order
    $10.05
  • K-190
    Lockwasher – Part Number: 792150
    Lockwasher
    Part Number: 792150
      No Longer Available
  • K-191
    NUT – Part Number: 792151
    NUT
    Part Number: 792151
      Special Order
    $6.16
  • K-200
    DIFFERENTIAL GEAR REDUCTION – Part Number: 794787A
    DIFFERENTIAL GEAR REDUCTION
    Part Number: 794787A
      Special Order
    $405.42
  • K-203
    PULLEY – Part Number: 798044
    PULLEY
    Part Number: 798044
      Special Order
    $51.48
  • K-206
    LEVER – Part Number: 798055
    LEVER
    Part Number: 798055
      Special Order
    $24.93
  • K-207
    BRACKET – Part Number: 798053
    BRACKET
    Part Number: 798053
      Special Order
    $17.90
  • K-208
    FAN – Part Number: 798040
    FAN
    Part Number: 798040
      Special Order
    $12.62
  • K-209
    LEVER – Part Number: 798054
    LEVER
    Part Number: 798054
      Special Order
    $13.14
  • K-210
    HYDRO PUMP LH – Part Number: 794788
    HYDRO PUMP LH
    Part Number: 794788
      Special Order
    $656.05
Seat Assembly
Seat Assembly Diagram and Parts List for  Craftsman Lawn Tractor
Steering Assembly
Steering Assembly Diagram and Parts List for  Craftsman Lawn Tractor
Wheels Tires
Wheels  Tires Diagram and Parts List for  Craftsman Lawn Tractor