Snapper Parts

Snapper 48" Deck, Mid Mount Ztr Series 4 Lawn Tractor Accessories Replacement Parts For Model Z4804M

We Sell Only Genuine Snapper Parts

Popular Parts for Z4804M

Search Within Model

Questions & Answers for Snapper Z4804M
Browse all Parts Search by Area
48 Deck Assembly Diagram and Parts List for  Snapper Lawn Tractor Accessories
48 Deck Assembly
Arm Rest Assembly Diagram and Parts List for  Snapper Lawn Tractor Accessories
Arm Rest Assembly
Caster Wheel Assembly Diagram and Parts List for  Snapper Lawn Tractor Accessories
Caster Wheel Assembly
Deck Lift Parts Diagram and Parts List for  Snapper Lawn Tractor Accessories
Deck Lift Parts
Deck Spindle Assembly Diagram and Parts List for  Snapper Lawn Tractor Accessories
Deck Spindle Assembly
Double Idler Assembly Diagram and Parts List for  Snapper Lawn Tractor Accessories
Double Idler Assembly
Frame Sides And Related Parts Diagram and Parts List for  Snapper Lawn Tractor Accessories
Frame Sides And Related Parts
Hydrostat Assembly Diagram and Parts List for  Snapper Lawn Tractor Accessories
Hydrostat Assembly
HydrostatGearbox Assembly Diagram and Parts List for  Snapper Lawn Tractor Accessories
HydrostatGearbox Assembly
Joystick Steering Control (Parts 1) Diagram and Parts List for  Snapper Lawn Tractor Accessories
Joystick Steering Control (Parts 1)
Joystick Steering Control (Parts 2) Diagram and Parts List for  Snapper Lawn Tractor Accessories
Joystick Steering Control (Parts 2)
Motor Mount Assembly (Part 1) Diagram and Parts List for  Snapper Lawn Tractor Accessories
Motor Mount Assembly (Part 1)
Motor Mount Assembly (Part 2) Diagram and Parts List for  Snapper Lawn Tractor Accessories
Motor Mount Assembly (Part 2)
Parking Brake Assembly Diagram and Parts List for  Snapper Lawn Tractor Accessories
Parking Brake Assembly
Seat Assembly Diagram and Parts List for  Snapper Lawn Tractor Accessories
Seat Assembly
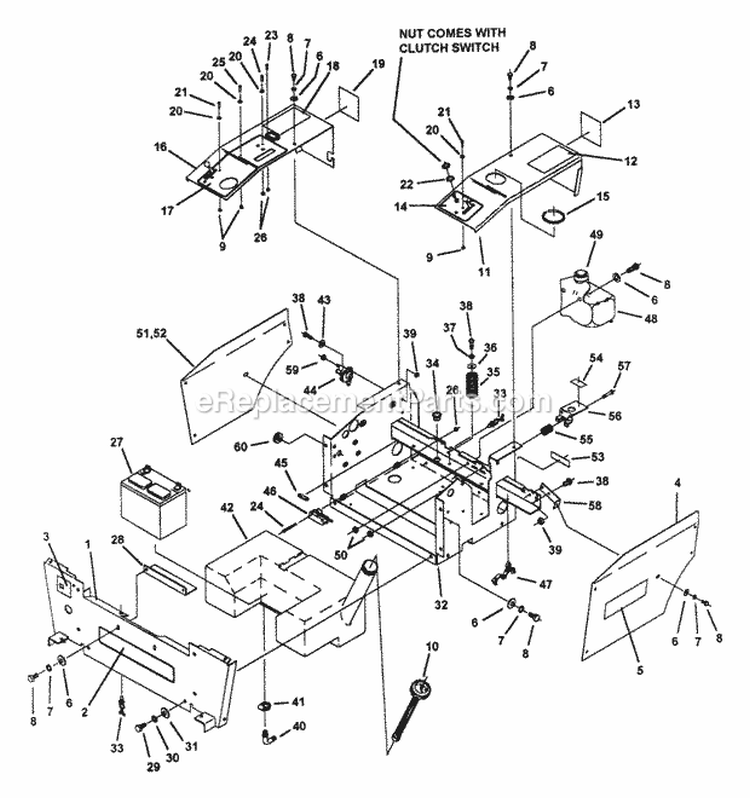
Seat Support Assembly  Body Cover Parts Diagram and Parts List for  Snapper Lawn Tractor Accessories
Seat Support Assembly Body Cover Parts
Single Idler Assembly Diagram and Parts List for  Snapper Lawn Tractor Accessories
Single Idler Assembly
Wire Harness Diagram and Parts List for  Snapper Lawn Tractor Accessories
Wire Harness
Previous Showing All Parts Next
48 Deck Assembly
48 Deck Assembly Diagram and Parts List for  Snapper Lawn Tractor Accessories
Arm Rest Assembly
Arm Rest Assembly Diagram and Parts List for  Snapper Lawn Tractor Accessories
Caster Wheel Assembly
Caster Wheel Assembly Diagram and Parts List for  Snapper Lawn Tractor Accessories
Deck Lift Parts
Deck Lift Parts Diagram and Parts List for  Snapper Lawn Tractor Accessories
Deck Spindle Assembly
Deck Spindle Assembly Diagram and Parts List for  Snapper Lawn Tractor Accessories
Double Idler Assembly
Double Idler Assembly Diagram and Parts List for  Snapper Lawn Tractor Accessories
Frame Sides And Related Parts
Frame Sides And Related Parts Diagram and Parts List for  Snapper Lawn Tractor Accessories
Hydrostat Assembly
Hydrostat Assembly Diagram and Parts List for  Snapper Lawn Tractor Accessories
HydrostatGearbox Assembly
HydrostatGearbox Assembly Diagram and Parts List for  Snapper Lawn Tractor Accessories
Joystick Steering Control (Parts 1)
Joystick Steering Control (Parts 1) Diagram and Parts List for  Snapper Lawn Tractor Accessories
Joystick Steering Control (Parts 2)
Joystick Steering Control (Parts 2) Diagram and Parts List for  Snapper Lawn Tractor Accessories
Motor Mount Assembly (Part 1)
Motor Mount Assembly (Part 1) Diagram and Parts List for  Snapper Lawn Tractor Accessories
Motor Mount Assembly (Part 2)
Motor Mount Assembly (Part 2) Diagram and Parts List for  Snapper Lawn Tractor Accessories
Parking Brake Assembly
Parking Brake Assembly Diagram and Parts List for  Snapper Lawn Tractor Accessories
Seat Assembly
Seat Assembly Diagram and Parts List for  Snapper Lawn Tractor Accessories
Seat Support Assembly Body Cover Parts
Seat Support Assembly  Body Cover Parts Diagram and Parts List for  Snapper Lawn Tractor Accessories
Single Idler Assembly
Single Idler Assembly Diagram and Parts List for  Snapper Lawn Tractor Accessories
Wire Harness
Wire Harness Diagram and Parts List for  Snapper Lawn Tractor Accessories

Questions & Answers

?

Our customer Service team is at the ready daily to answer your part and product questions.

We're sorry, but our Q&A experts are temporarily unavailable.
Please check back later if you still haven't found the answer you need.

Ask our Team

We have a dedicated staff with decades of collective experience in helping customers just like you purchase parts to repair their products.