Snapper Parts

Snapper Grass Catcher Lawn Tractor Accessories Replacement Parts For Model 5600004

We Sell Only Genuine Snapper Parts

Popular Parts for 5600004

Search Within Model

Browse all Parts Search by Area
2-Bag Catcher/Cover Diagram and Parts List for  Snapper Lawn Tractor Accessories
2-Bag Catcher/Cover
3-Bag Catcher/Cover Diagram and Parts List for  Snapper Lawn Tractor Accessories
3-Bag Catcher/Cover
3-Bag Dump From Seat Diagram and Parts List for  Snapper Lawn Tractor Accessories
3-Bag Dump From Seat
Bagger Mount Diagram and Parts List for  Snapper Lawn Tractor Accessories
Bagger Mount
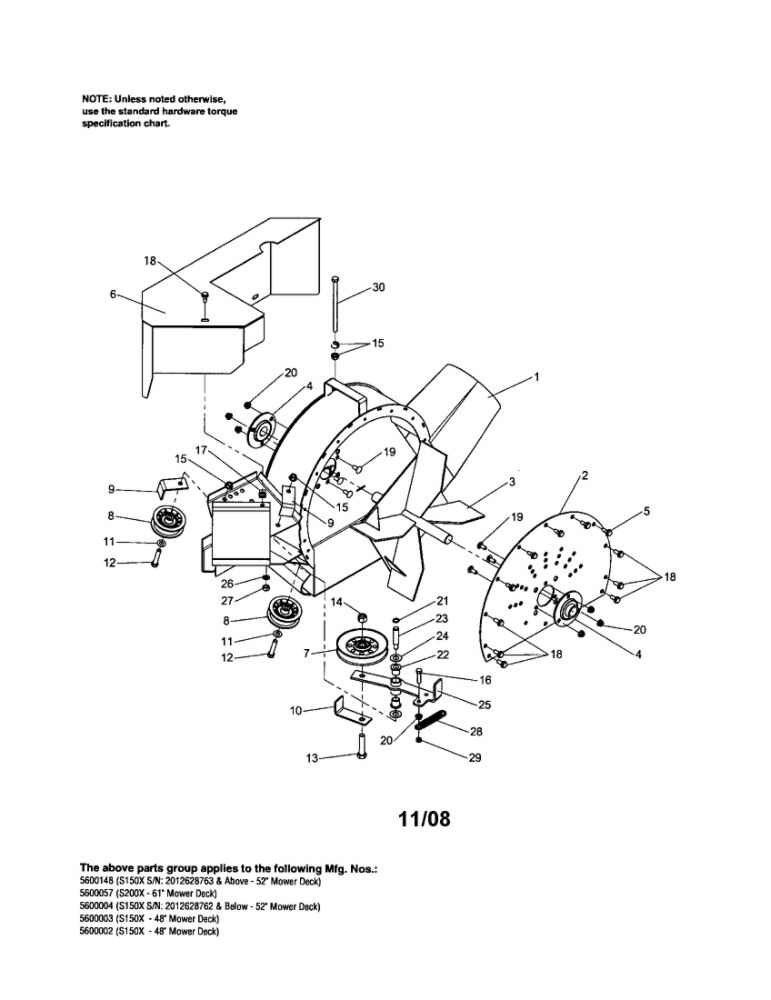
Blower Diagram and Parts List for  Snapper Lawn Tractor Accessories
Blower
Blower Mount/Drive Diagram and Parts List for  Snapper Lawn Tractor Accessories
Blower Mount/Drive
Decals-Brand/Safety And Info Diagram and Parts List for  Snapper Lawn Tractor Accessories
Decals-Brand/Safety And Info
Weight Mount Diagram and Parts List for  Snapper Lawn Tractor Accessories
Weight Mount
Previous Showing All Parts Next
2-Bag Catcher/Cover
2-Bag Catcher/Cover Diagram and Parts List for  Snapper Lawn Tractor Accessories
3-Bag Catcher/Cover
3-Bag Catcher/Cover Diagram and Parts List for  Snapper Lawn Tractor Accessories
3-Bag Dump From Seat
3-Bag Dump From Seat Diagram and Parts List for  Snapper Lawn Tractor Accessories
Bagger Mount
Bagger Mount Diagram and Parts List for  Snapper Lawn Tractor Accessories
Blower
Blower Diagram and Parts List for  Snapper Lawn Tractor Accessories
Blower Mount/Drive
Blower Mount/Drive Diagram and Parts List for  Snapper Lawn Tractor Accessories
Decals-Brand/Safety And Info
Decals-Brand/Safety And Info Diagram and Parts List for  Snapper Lawn Tractor Accessories
Weight Mount
Weight Mount Diagram and Parts List for  Snapper Lawn Tractor Accessories