Echo Parts

Echo Lawn Mower Engine Replacement Parts For Model M14VA1Z0 (M14V A1Z0)

We Sell Only Genuine Echo Parts

Popular Parts for M14VA1Z0

Search Within Model

Browse all Parts Search by Area
Page A Diagram and Parts List for M14V A1Z0 Echo Lawn Mower
Page A
Page B Diagram and Parts List for M14V A1Z0 Echo Lawn Mower
Page B
Page C Diagram and Parts List for M14V A1Z0 Echo Lawn Mower
Page C
Page D Diagram and Parts List for M14V A1Z0 Echo Lawn Mower
Page D
Page E Diagram and Parts List for M14V A1Z0 Echo Lawn Mower
Page E
Page F Diagram and Parts List for M14V A1Z0 Echo Lawn Mower
Page F
Page G Diagram and Parts List for M14V A1Z0 Echo Lawn Mower
Page G
Page H Diagram and Parts List for M14V A1Z0 Echo Lawn Mower
Page H
Previous Showing All Parts Next
Page A
Page A Diagram and Parts List for M14V A1Z0 Echo Lawn Mower
  • A-1
    Wire-Brake – Part Number: 61641011620
    Wire-Brake
    Part Number: 61641011620
      No Longer Available
  • A-2
    Cable Tie – Part Number: 13201311620
    Cable Tie
    Part Number: 13201311620
      Special Order
    $6.16
  • A-3
    Wire-Brake – Part Number: 61641011720
    Wire-Brake
    Part Number: 61641011720
      No Longer Available
  • A-4
    Zone Brake Kit – Part Number: 19000011620
    Zone Brake Kit
    Part Number: 19000011620
      Special Order
    $51.11
  • A-5
    Control-Throttle W/Wire – Part Number: 17810011620
    Control-Throttle W/Wire
    Part Number: 17810011620
      No Longer Available
  • A-6
    Bolt 1/4 X 1-3/4 – Part Number: 90001608056
    Bolt 1/4 X 1-3/4
    Part Number: 90001608056
      No Longer Available
  • A-7
    Washer-Star 1/8 – Part Number: 90003800008
    Washer-Star 1/8
    Part Number: 90003800008
      Special Order
    $6.16
  • A-8
    Nut 1/4 – Part Number: 740000670
    Nut 1/4
    Part Number: 740000670
      Special Order
    $6.16
  • A-9
    Wire Kit-Brake – Part Number: 61640211620
    Wire Kit-Brake
    Part Number: 61640211620
      No Longer Available
  • A-10
    Nut 5/16 – Part Number: 90003000010
    Nut 5/16
    Part Number: 90003000010
      No Longer Available
  • A-11
    Bracket-Brake Wire – Part Number: 61651011620
    Bracket-Brake Wire
    Part Number: 61651011620
      No Longer Available
Page B
Page B Diagram and Parts List for M14V A1Z0 Echo Lawn Mower
  • B-1
    Screw 4 X 6 – Part Number: 90022004006
    Screw 4 X 6
    Part Number: 90022004006
      In Stock
    Minimum Quantity of 2 required
    $6.16
  • B-2
    High Altitude Jet – Part Number: 12018711620
    High Altitude Jet
    Part Number: 12018711620
      No Longer Available
  • B-3
    Nozzle-Main – Part Number: 12018611620
    Nozzle-Main
    Part Number: 12018611620
      No Longer Available
  • B-4
    Jet-Main – Part Number: 12012211620
    Jet-Main
    Part Number: 12012211620
      Special Order
    $28.08
  • B-5
    Pin-Float Arm – Part Number: 12013211620
    Pin-Float Arm
    Part Number: 12013211620
      No Longer Available
  • B-6
    Screw 4X8 – Part Number: 90022504008
    Screw 4X8
    Part Number: 90022504008
      No Longer Available
  • B-7
    Clip – Part Number: 12018222430
    Clip
    Part Number: 12018222430
      No Longer Available
  • B-8
    Valve-Needle – Part Number: 12012011620
    Valve-Needle
    Part Number: 12012011620
      No Longer Available
  • B-9
    Spring – Part Number: 12018411620
    Spring
    Part Number: 12018411620
      No Longer Available
  • B-10
    Screw – Part Number: 12018311620
    Screw
    Part Number: 12018311620
      No Longer Available
  • B-11
    Screw-Idle Speed – Part Number: 12015911620
    Screw-Idle Speed
    Part Number: 12015911620
      No Longer Available
  • B-11A
    Carburetor – Part Number: 12000011721
    Carburetor
    Part Number: 12000011721
      No Longer Available
  • B-12
    Spring – Part Number: 12016011620
    Spring
    Part Number: 12016011620
      No Longer Available
  • B-13
    Jet-Pilot – Part Number: 12018911620
    Jet-Pilot
    Part Number: 12018911620
      Special Order
    $17.88
  • B-14
    Float – Part Number: 12013311620
    Float
    Part Number: 12013311620
      No Longer Available
  • B-15
    Gasket-Float Chamber – Part Number: 12012311620
    Gasket-Float Chamber
    Part Number: 12012311620
      No Longer Available
  • B-16
    Chamber-Float – Part Number: 12012411620
    Chamber-Float
    Part Number: 12012411620
      Special Order
    $46.60
  • B-17
    Gasket – Part Number: 12013011620
    Gasket
    Part Number: 12013011620
      Special Order
    $6.16
  • B-18
    Bolt – Part Number: 12013711620
    Bolt
    Part Number: 12013711620
      No Longer Available
  • B-19
    Gasket-Drain – Part Number: 12013600120
    Gasket-Drain
    Part Number: 12013600120
      Special Order
    $6.16
Page C
Page C Diagram and Parts List for M14V A1Z0 Echo Lawn Mower
  • C-1
    Label-Echo – Part Number: 89011211720
    Label-Echo
    Part Number: 89011211720
      No Longer Available
  • C-2
    Plug – Part Number: 10022311620
    Plug
    Part Number: 10022311620
      Special Order
    $6.16
  • C-3
    Plug-Guard – Part Number: 15901511620
    Plug-Guard
    Part Number: 15901511620
      No Longer Available
  • C-4
    Bolt 6X16 – Part Number: 90010306016
    Bolt 6X16
    Part Number: 90010306016
      Special Order
    $6.16
  • C-5
    Cover-Fan – Part Number: 10151111620
    Cover-Fan
    Part Number: 10151111620
      No Longer Available
  • C-6
    Bolt 6X10 – Part Number: 90010706010
    Bolt 6X10
    Part Number: 90010706010
      Special Order
    $6.16
  • C-7
    Crankcase Set – Part Number: 10020211620
    Crankcase Set
    Part Number: 10020211620
      No Longer Available
  • C-8
    Bolt 6X25 – Part Number: 90010306025
    Bolt 6X25
    Part Number: 90010306025
      Special Order
    $6.16
  • C-9
    Oilseal – Part Number: 10021211620
    Oilseal
    Part Number: 10021211620
      Special Order
    $6.16
  • C-10
    Circlip 47 – Part Number: 90070200047
    Circlip 47
    Part Number: 90070200047
      No Longer Available
  • C-11
    Ball Bearing 6204/C3 – Part Number: 90081036204
    Ball Bearing 6204/C3
    Part Number: 90081036204
      Special Order
    $14.40
  • C-13
    Piston Kit – Part Number: 10000048732
    Piston Kit
    Part Number: 10000048732
      In Stock
    $78.68
  • C-14
    Bearing-Needle – Part Number: 10001211620
    Bearing-Needle
    Part Number: 10001211620
      Special Order
    $11.25
  • C-15
    Circlip-Piston Pin – Part Number: 10001511620
    Circlip-Piston Pin
    Part Number: 10001511620
      Special Order
    $6.16
  • C-16
    Pin-Piston – Part Number: 10001311620
    Pin-Piston
    Part Number: 10001311620
      Special Order
    $7.62
  • C-17
    Ring-Piston – Part Number: 10001611620
    Ring-Piston
    Part Number: 10001611620
      Special Order
    $9.18
  • C-18
    Ring-Piston – Part Number: 10001111620
    Ring-Piston
    Part Number: 10001111620
      Special Order
    $18.61
  • C-19
    Governor Shaft – Part Number: 18032011621
    Governor Shaft
    Part Number: 18032011621
      No Longer Available
  • C-20
    Oilseal – Part Number: 18081311620
    Oilseal
    Part Number: 18081311620
      Special Order
    $6.16
  • C-21
    Washer – Part Number: 30021700610
    Washer
    Part Number: 30021700610
      Special Order
    Minimum Quantity of 2 required
    $6.16
  • C-22
    E-ring 4 – Part Number: 90070000004
    E-ring 4
    Part Number: 90070000004
      Special Order
    $6.16
  • C-23
    Pin – Part Number: 90033130060
    Pin
    Part Number: 90033130060
      No Longer Available
  • C-24
    Crankshaft Asy – Part Number: 10010011720
    Crankshaft Asy
    Part Number: 10010011720
      No Longer Available
  • C-24
    Crank Shaft Asy – Part Number: 10010013121
    Crank Shaft Asy
    Part Number: 10010013121
      Special Order
    $252.75
  • C-24
    Crankshaft Asy – Part Number: A011000002
    Crankshaft Asy
    Part Number: A011000002
      Special Order
    $167.47
  • C-25
    Slider – Part Number: 18001711620
    Slider
    Part Number: 18001711620
      Special Order
    $10.77
  • C-26
    Weight Kit-Governor – Part Number: 18000311620
    Weight Kit-Governor
    Part Number: 18000311620
      Special Order
    $27.93
  • C-27
    Holder – Part Number: 18001011620
    Holder
    Part Number: 18001011620
      No Longer Available
  • C-28
    Pin-Spring 3 X 10 – Part Number: 90034030010
    Pin-Spring 3 X 10
    Part Number: 90034030010
      No Longer Available
  • C-29
    Weight-Governor – Part Number: 18001111620
    Weight-Governor
    Part Number: 18001111620
      No Longer Available
  • C-30
    Bearing-Ball – Part Number: 50081036205
    Bearing-Ball
    Part Number: 50081036205
      No Longer Available
  • C-31
    Circlip – Part Number: 90070200052
    Circlip
    Part Number: 90070200052
      No Longer Available
  • C-32
    Oilseal – Part Number: 10021311620
    Oilseal
    Part Number: 10021311620
      No Longer Available
  • C-33
    Bracket-Engine – Part Number: 10491311720
    Bracket-Engine
    Part Number: 10491311720
      Special Order
    $34.65
  • C-34
    Bolt 8X16 – Part Number: 90010308016
    Bolt 8X16
    Part Number: 90010308016
      Special Order
    $6.16
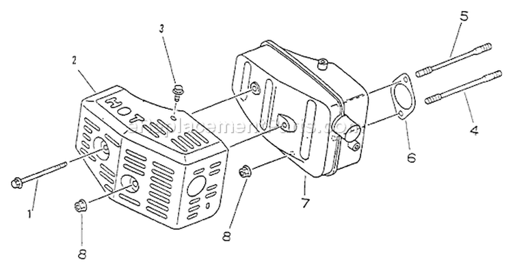
Page D
Page D Diagram and Parts List for M14V A1Z0 Echo Lawn Mower
  • D-1
    Bolt 6X80 – Part Number: 90010306080
    Bolt 6X80
    Part Number: 90010306080
      Special Order
    $6.16
  • D-2
    Cover-Muffler – Part Number: 14562111720
    Cover-Muffler
    Part Number: 14562111720
      No Longer Available
  • D-3
    Bolt 6X10 – Part Number: 90010706010
    Bolt 6X10
    Part Number: 90010706010
      Special Order
    $6.16
  • D-4
    Stud-Muffler – Part Number: 10101411720
    Stud-Muffler
    Part Number: 10101411720
      Special Order
    $6.16
  • D-5
    Stud-Muffler – Part Number: 10101411620
    Stud-Muffler
    Part Number: 10101411620
      No Longer Available
  • D-6
    Gasket-Muffler – Part Number: 14551011621
    Gasket-Muffler
    Part Number: 14551011621
      Special Order
    $9.59
  • D-7
    Muffler – Part Number: 14561011720
    Muffler
    Part Number: 14561011720
      No Longer Available
  • D-8
    Nut – Part Number: 90051500008
    Nut
    Part Number: 90051500008
      In Stock
    $6.16
Page E
Page E Diagram and Parts List for M14V A1Z0 Echo Lawn Mower
  • E-1
    Pipe-Fuel – Part Number: 13201211620
    Pipe-Fuel
    Part Number: 13201211620
      Special Order
    $8.20
  • E-2
    Cable Tie – Part Number: 13201311620
    Cable Tie
    Part Number: 13201311620
      Special Order
    $6.16
  • E-3
    Clip-Pipe – Part Number: 13201311720
    Clip-Pipe
    Part Number: 13201311720
      No Longer Available
  • E-4
    Label-Fuel Cock – Part Number: 89015911620
    Label-Fuel Cock
    Part Number: 89015911620
      Special Order
    $6.16
  • E-5
    Cap – Part Number: 13100611620
    Cap
    Part Number: 13100611620
      No Longer Available
  • E-6
    Fuel Tank Cap – Part Number: 13101700430
    Fuel Tank Cap
    Part Number: 13101700430
      No Longer Available
  • E-7
    Valve Assembly Fuel – Part Number: 13220003210
    Valve Assembly Fuel
    Part Number: 13220003210
      Special Order
    $17.57
  • E-7
    Valve Kit-Fuel W/O Washer – Part Number: 13220411621
    Valve Kit-Fuel W/O Washer
    Part Number: 13220411621
      Special Order
    $17.30
Page F
Page F Diagram and Parts List for M14V A1Z0 Echo Lawn Mower
  • F-1
    Nut-Wing - 6 – Part Number: 90052800006
    Nut-Wing - 6
    Part Number: 90052800006
      Special Order
    $6.16
  • F-2
    Lid-Cleaner – Part Number: 13030811720
    Lid-Cleaner
    Part Number: 13030811720
      Special Order
    $23.08
  • F-3
    Element Asy-Air Cleaner – Part Number: 13030511620
    Element Asy-Air Cleaner
    Part Number: 13030511620
      Special Order
    $43.02
  • F-5
    Flange Nut-6 – Part Number: 90051800006
    Flange Nut-6
    Part Number: 90051800006
      In Stock
    $6.16
  • F-6
    Case-Cleaner – Part Number: 13031411720
    Case-Cleaner
    Part Number: 13031411720
      Special Order
    $16.66
  • F-7
    Label-Caution – Part Number: 89018711720
    Label-Caution
    Part Number: 89018711720
      No Longer Available
  • F-7A
    Air Cleaner Asy-H.D. – Part Number: 88990011721
    Air Cleaner Asy-H.D.
    Part Number: 88990011721
      No Longer Available
  • F-8
    Bolt 6X10 – Part Number: 90010706010
    Bolt 6X10
    Part Number: 90010706010
      Special Order
    $6.16
  • F-9
    Gasket-Intake – Part Number: 13001011720
    Gasket-Intake
    Part Number: 13001011720
      No Longer Available
  • F-10
    Manifold-Intake – Part Number: 13050511720
    Manifold-Intake
    Part Number: 13050511720
      No Longer Available
  • F-11
    Bolt 6X25 – Part Number: 90010306025
    Bolt 6X25
    Part Number: 90010306025
      Special Order
    $6.16
Page G
Page G Diagram and Parts List for M14V A1Z0 Echo Lawn Mower
  • G-1
    Washer – Part Number: 90060000004
    Washer
    Part Number: 90060000004
      In Stock
    Minimum Quantity of 2 required
    $6.16
  • G-2
    Trimmer Spring Washer – Part Number: 90060500004
    Trimmer Spring Washer
    Part Number: 90060500004
      In Stock
    Minimum Quantity of 2 required
    $6.16
  • G-3
    Nut 4 – Part Number: 90050000004
    Nut 4
    Part Number: 90050000004
      In Stock
    $6.16
  • G-4
    Zone Brake Kit – Part Number: 19000011620
    Zone Brake Kit
    Part Number: 19000011620
      Special Order
    $51.11
  • G-5
    Label-Echo – Part Number: 89011811720
    Label-Echo
    Part Number: 89011811720
      Special Order
    $6.16
  • G-6
    Starter Asy – Part Number: 17720011621
    Starter Asy
    Part Number: 17720011621
      Special Order
    $171.53
  • G-7
    Case-Starter – Part Number: 17723211621
    Case-Starter
    Part Number: 17723211621
      No Longer Available
  • G-8
    Spacer – Part Number: 17721611620
    Spacer
    Part Number: 17721611620
      Special Order
    $6.16
  • G-9
    Spring-Rewind – Part Number: 17722011620
    Spring-Rewind
    Part Number: 17722011620
      Special Order
    $26.40
  • G-10
    Drum-Starter – Part Number: 17721511620
    Drum-Starter
    Part Number: 17721511620
      Special Order
    $24.10
  • G-11
    Pin-Pawl – Part Number: 17721911620
    Pin-Pawl
    Part Number: 17721911620
      Special Order
    $6.16
  • G-12
    Pawl-Starter – Part Number: 17721811620
    Pawl-Starter
    Part Number: 17721811620
      No Longer Available
  • G-13
    Washer – Part Number: 17721411620
    Washer
    Part Number: 17721411620
      Special Order
    $6.16
  • G-14
    Spring – Part Number: 17723311620
    Spring
    Part Number: 17723311620
      No Longer Available
  • G-15
    Guide-Pawl – Part Number: 17727711620
    Guide-Pawl
    Part Number: 17727711620
      Special Order
    $6.16
  • G-16
    Plate-Friction – Part Number: 17721111620
    Plate-Friction
    Part Number: 17721111620
      No Longer Available
  • G-17
    Flange Nut-6 – Part Number: 90051800006
    Flange Nut-6
    Part Number: 90051800006
      In Stock
    $6.16
  • G-18
    Rope-Starter – Part Number: 17722611620
    Rope-Starter
    Part Number: 17722611620
      Special Order
    $8.04
  • G-19
    Starter Handle – Part Number: 17722811620
    Starter Handle
    Part Number: 17722811620
      In Stock
    $16.14
  • G-20
    Cap-Grip – Part Number: 17724411620
    Cap-Grip
    Part Number: 17724411620
      No Longer Available
  • G-21
    Nut – Part Number: 90051700010
    Nut
    Part Number: 90051700010
      Special Order
    $6.16
  • G-22
    Bolt 6X10 – Part Number: 90010706010
    Bolt 6X10
    Part Number: 90010706010
      Special Order
    $6.16
  • G-23
    Catcher-Pawl – Part Number: 17721011620
    Catcher-Pawl
    Part Number: 17721011620
      No Longer Available
  • G-24
    Bolt 6X10 – Part Number: 90010706010
    Bolt 6X10
    Part Number: 90010706010
      Special Order
    $6.16
  • G-30
    Bolt 6X25 – Part Number: 90010306025
    Bolt 6X25
    Part Number: 90010306025
      Special Order
    $6.16
  • G-31
    Clip – Part Number: 15911011620
    Clip
    Part Number: 15911011620
      No Longer Available
  • G-32
    Spark Plug -- Bpm-6a – Part Number: 15901030330
    Spark Plug -- Bpm-6a
    Part Number: 15901030330
    ★★★★★
    ★★★★★
    (1)
      In Stock
    $6.16
  • G-33
    Trimmer Spark Plug Coil – Part Number: 15901103432
    Trimmer Spark Plug Coil
    Part Number: 15901103432
    ★★★★★
    ★★★★★
    (5)
      In Stock
    Minimum Quantity of 2 required
    $6.16
  • G-34
    Spark Plug Cap – Part Number: 15901203433
    Spark Plug Cap
    Part Number: 15901203433
    ★★★★★
    ★★★★★
    (5)
      In Stock
    $9.92
  • G-35
    Coil-Ignition – Part Number: 15662611621
    Coil-Ignition
    Part Number: 15662611621
      Special Order
    $144.56
  • G-36
    Flywheel – Part Number: 15680011620
    Flywheel
    Part Number: 15680011620
      Special Order
    $120.97
  • G-37
    Shaft-Brake Arm – Part Number: 19001511620
    Shaft-Brake Arm
    Part Number: 19001511620
      Special Order
    $6.16
  • G-38
    Arm-Brake Asy – Part Number: 19000511620
    Arm-Brake Asy
    Part Number: 19000511620
      No Longer Available
  • G-39
    Washer 6 – Part Number: 17501404630
    Washer 6
    Part Number: 17501404630
      In Stock
    Minimum Quantity of 2 required
    $6.16
  • G-40
    Spring-Compression – Part Number: 19001611620
    Spring-Compression
    Part Number: 19001611620
      No Longer Available
  • G-41
    Holder-Spring – Part Number: 19001811620
    Holder-Spring
    Part Number: 19001811620
      Special Order
    $8.14
  • G-42
    Pin-Split 3 X 30 – Part Number: 90030030030
    Pin-Split 3 X 30
    Part Number: 90030030030
      No Longer Available
  • G-43
    Bolt 6X10 – Part Number: 90010706010
    Bolt 6X10
    Part Number: 90010706010
      Special Order
    $6.16
  • G-44
    Switch-On-Off – Part Number: 19005011620
    Switch-On-Off
    Part Number: 19005011620
      Special Order
    $6.16
  • G-45
    Screw-4x12 – Part Number: 90024204012
    Screw-4x12
    Part Number: 90024204012
      In Stock
    Minimum Quantity of 2 required
    $6.16
  • G-46
    Module-Tci – Part Number: 15260115130
    Module-Tci
    Part Number: 15260115130
      Special Order
    $164.42
  • G-47
    Plate-Eye – Part Number: 15931811620
    Plate-Eye
    Part Number: 15931811620
      No Longer Available
  • G-48
    Bracket-Ignition Coil – Part Number: 15931011620
    Bracket-Ignition Coil
    Part Number: 15931011620
      No Longer Available
Page H
Page H Diagram and Parts List for M14V A1Z0 Echo Lawn Mower
  • H-1
    Connector-Choke Rod – Part Number: 17851311620
    Connector-Choke Rod
    Part Number: 17851311620
      Special Order
    $9.12
  • H-2
    Washer – Part Number: 17504805530
    Washer
    Part Number: 17504805530
      In Stock
    Minimum Quantity of 2 required
    $6.16
  • H-3
    Switch-On-Off – Part Number: 19005011620
    Switch-On-Off
    Part Number: 19005011620
      Special Order
    $6.16
  • H-4
    Bolt-8x14 – Part Number: 90010008014
    Bolt-8x14
    Part Number: 90010008014
      In Stock
    Minimum Quantity of 2 required
    $6.55
  • H-5
    Cover-Air Cleaner – Part Number: 13031311621
    Cover-Air Cleaner
    Part Number: 13031311621
      Special Order
    $12.64
  • H-6
    Filter-Air – Part Number: 13031011620
    Filter-Air
    Part Number: 13031011620
      No Longer Available
  • H-7
    Label-Caution – Part Number: 89018711620
    Label-Caution
    Part Number: 89018711620
      Special Order
    $6.16
  • H-8
    Bolt 6X16 – Part Number: 90010306016
    Bolt 6X16
    Part Number: 90010306016
      Special Order
    $6.16
  • H-9
    Washer 6mm – Part Number: 90060200006
    Washer 6mm
    Part Number: 90060200006
      In Stock
    Minimum Quantity of 2 required
    $6.16
  • H-10
    Case-Air Cleaner – Part Number: 13030711621
    Case-Air Cleaner
    Part Number: 13030711621
      No Longer Available
  • H-11
    Flange Nut-6 – Part Number: 90051800006
    Flange Nut-6
    Part Number: 90051800006
      In Stock
    $6.16
  • H-12
    Gasket-Carburetor Cover – Part Number: 13032011621
    Gasket-Carburetor Cover
    Part Number: 13032011621
      Special Order
    $6.16
  • H-13
    Pipe - 3X5X100mm – Part Number: 12902811620
    Pipe - 3X5X100mm
    Part Number: 12902811620
      Special Order
    $7.52
  • H-15
    Gasket-Carburetor – Part Number: 13001611621
    Gasket-Carburetor
    Part Number: 13001611621
      Special Order
    $6.16
  • H-16
    Insulator – Part Number: 13001711620
    Insulator
    Part Number: 13001711620
      Special Order
    $6.16
  • H-17
    Gasket-Carburetor – Part Number: 13001011621
    Gasket-Carburetor
    Part Number: 13001011621
      Special Order
    $6.16
  • H-18
    Plate-Wound Proof – Part Number: 13001111620
    Plate-Wound Proof
    Part Number: 13001111620
      No Longer Available
  • H-19
    Stud – Part Number: 13002111620
    Stud
    Part Number: 13002111620
      No Longer Available
  • H-20
    Arm-Throttle – Part Number: 17801711620
    Arm-Throttle
    Part Number: 17801711620
      No Longer Available
  • H-21
    Bolt-6x25 – Part Number: 90010006025
    Bolt-6x25
    Part Number: 90010006025
      In Stock
    Minimum Quantity of 2 required
    $6.16
  • H-22
    Spring-Throttle – Part Number: 17804211620
    Spring-Throttle
    Part Number: 17804211620
      Special Order
    $6.16
  • H-23
    Spring-Throttle Return – Part Number: 17804311620
    Spring-Throttle Return
    Part Number: 17804311620
      No Longer Available
  • H-24
    Rod-Throttle – Part Number: 17803211620
    Rod-Throttle
    Part Number: 17803211620
      Special Order
    $6.16
  • H-25
    Rod-Choke – Part Number: 17851011620
    Rod-Choke
    Part Number: 17851011620
      Special Order
    $7.62
  • H-26
    Control-Throttle – Part Number: 17800511620
    Control-Throttle
    Part Number: 17800511620
      Special Order
    $16.71
  • H-27
    Clip – Part Number: 17812111720
    Clip
    Part Number: 17812111720
      No Longer Available
  • H-28
    Bracket-Throttle – Part Number: 17810511620
    Bracket-Throttle
    Part Number: 17810511620
      No Longer Available
  • H-29
    Washer 8 – Part Number: 90060300008
    Washer 8
    Part Number: 90060300008
      Special Order
    $6.16
  • H-30
    Washer – Part Number: 17812911620
    Washer
    Part Number: 17812911620
      Special Order
    $6.16
  • H-31
    Nut 4 – Part Number: 90050000004
    Nut 4
    Part Number: 90050000004
      In Stock
    $6.16
  • H-32
    Bolt 4X10 – Part Number: 90010004010
    Bolt 4X10
    Part Number: 90010004010
      Special Order
    $6.16
  • H-33
    Spring-Choke – Part Number: 17852011620
    Spring-Choke
    Part Number: 17852011620
      Special Order
    $6.16