Tanaka Parts

Tanaka Hedge Trimmer Replacement Parts For Model THT-162

We Sell Only Genuine Tanaka Parts

Popular Parts for THT-162

Search Within Model

Questions & Answers for Tanaka THT-162
Browse all Parts Search by Area
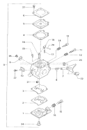
Page A Diagram and Parts List for  Tanaka Hedge Trimmer
Page A
Page B Diagram and Parts List for  Tanaka Hedge Trimmer
Page B
Page C Diagram and Parts List for  Tanaka Hedge Trimmer
Page C
Page D Diagram and Parts List for  Tanaka Hedge Trimmer
Page D
Page E Diagram and Parts List for  Tanaka Hedge Trimmer
Page E
Page F Diagram and Parts List for  Tanaka Hedge Trimmer
Page F
Page G Diagram and Parts List for  Tanaka Hedge Trimmer
Page G
Page H Diagram and Parts List for  Tanaka Hedge Trimmer
Page H
Previous Showing All Parts Next
Page A
Page A Diagram and Parts List for  Tanaka Hedge Trimmer
Page B
Page B Diagram and Parts List for  Tanaka Hedge Trimmer
Page C
Page C Diagram and Parts List for  Tanaka Hedge Trimmer
Page D
Page D Diagram and Parts List for  Tanaka Hedge Trimmer
Page E
Page E Diagram and Parts List for  Tanaka Hedge Trimmer
Page F
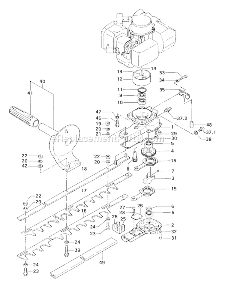
Page F Diagram and Parts List for  Tanaka Hedge Trimmer
  • F-1
    Grip-Handle A – Part Number: 6695879
    Grip-Handle A
    Part Number: 6695879
      No Longer Available
  • F-2
    Grip-Handle B – Part Number: 05433231210
    Grip-Handle B
    Part Number: 05433231210
      No Longer Available
  • F-3
    Lever-Throttle – Part Number: 6688229
    Lever-Throttle
    Part Number: 6688229
      Special Order
    $6.16
  • F-4
    Lever-Safety – Part Number: 6688238
    Lever-Safety
    Part Number: 6688238
      Special Order
    $6.16
  • F-5
    Throttle Lever Spring – Part Number: 6686414
    Throttle Lever Spring
    Part Number: 6686414
      Special Order
    $6.16
  • F-6
    Switch-Stop – Part Number: 6687501
    Switch-Stop
    Part Number: 6687501
      No Longer Available
  • F-7
    Switch Name Plate – Part Number: 6687949
    Switch Name Plate
    Part Number: 6687949
      No Longer Available
  • F-8
    Terminal-Earth – Part Number: 31943225200
    Terminal-Earth
    Part Number: 31943225200
      No Longer Available
  • F-9
    Cord-Stop – Part Number: 17833231800
    Cord-Stop
    Part Number: 17833231800
      No Longer Available
  • F-10
    Push Pin Cap – Part Number: 6692681
    Push Pin Cap
    Part Number: 6692681
      Special Order
    $6.16
  • F-11
    Pin-Push – Part Number: 6686430
    Pin-Push
    Part Number: 6686430
      No Longer Available
  • F-12
    Stopper Spring – Part Number: 6686447
    Stopper Spring
    Part Number: 6686447
      In Stock
    Minimum Quantity of 2 required
    $4.28
  • F-13
    Hi-Lo Screw 4X25 – Part Number: 6695271
    Hi-Lo Screw 4X25
    Part Number: 6695271
      No Longer Available
  • F-14
    Screw-4X15 – Part Number: 6685148
    Screw-4X15
    Part Number: 6685148
      In Stock
    Minimum Quantity of 2 required
    $4.28
  • F-15.1
    Grip-handle – Part Number: 6686350
    Grip-handle
    Part Number: 6686350
      Special Order
    $9.70
  • F-15.2
    Grip-Handle Assembly – Part Number: 05533250903
    Grip-Handle Assembly
    Part Number: 05533250903
      No Longer Available
  • F-16.1
    Handle-A – Part Number: 05033230200
    Handle-A
    Part Number: 05033230200
      No Longer Available
  • F-16.2
    Handle-A – Part Number: 05033231200
    Handle-A
    Part Number: 05033231200
      No Longer Available
  • F-17.1
    Wire-Throttle – Part Number: 88533225800
    Wire-Throttle
    Part Number: 88533225800
      Special Order
    $19.89
  • F-17.2
    Wire-Throttle – Part Number: 8850602W801
    Wire-Throttle
    Part Number: 8850602W801
      No Longer Available
  • F-18
    Wire Clamp Band – Part Number: 90332201200
    Wire Clamp Band
    Part Number: 90332201200
      Special Order
    $6.16
  • F-19
    Lever-Throttle Assembly – Part Number: 6693693
    Lever-Throttle Assembly
    Part Number: 6693693
      Special Order
    $11.46
Page G
Page G Diagram and Parts List for  Tanaka Hedge Trimmer
Page H
Page H Diagram and Parts List for  Tanaka Hedge Trimmer

Questions & Answers

?

Our customer Service team is at the ready daily to answer your part and product questions.

We're sorry, but our Q&A experts are temporarily unavailable.
Please check back later if you still haven't found the answer you need.

Ask our Team

We have a dedicated staff with decades of collective experience in helping customers just like you purchase parts to repair their products.