Honda Parts

Honda Generator, Jpn, Vin# Ezga-1120001 Replacement Parts For Model EU1000I (AC)

We Sell Only Genuine Honda Parts

Popular Parts for EU1000I

Search Within Model

Questions & Answers for Honda EU1000I
Browse all Parts Search by Area
Accessories Diagram and Parts List for AC Honda Generator
Accessories
Air Cleaner  Shroud Diagram and Parts List for AC Honda Generator
Air Cleaner Shroud
Camshaft Diagram and Parts List for AC Honda Generator
Camshaft
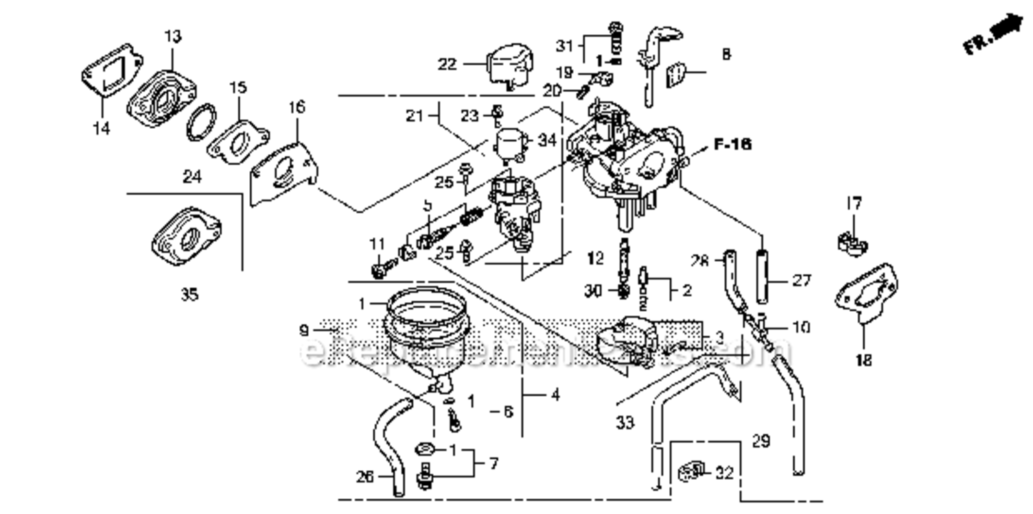
Carburetor Diagram and Parts List for AC Honda Generator
Carburetor
Control Panel 1 Diagram and Parts List for AC Honda Generator
Control Panel 1
Cooling Fan Diagram and Parts List for AC Honda Generator
Cooling Fan
Crankcase Cover Diagram and Parts List for AC Honda Generator
Crankcase Cover
Crankshaft Diagram and Parts List for AC Honda Generator
Crankshaft
Cylinder Diagram and Parts List for AC Honda Generator
Cylinder
Engine Bed Diagram and Parts List for AC Honda Generator
Engine Bed
Filter Kit Diagram and Parts List for AC Honda Generator
Filter Kit
Front Cover  Side Cover Diagram and Parts List for AC Honda Generator
Front Cover Side Cover
Fuel Tank Diagram and Parts List for AC Honda Generator
Fuel Tank
Ignition Coil  Generator Diagram and Parts List for AC Honda Generator
Ignition Coil Generator
Labels Diagram and Parts List for AC Honda Generator
Labels
Muffler Diagram and Parts List for AC Honda Generator
Muffler
Oil Case Diagram and Parts List for AC Honda Generator
Oil Case
Parallel Cable Kit Diagram and Parts List for AC Honda Generator
Parallel Cable Kit
Piston  Connecting Rod Diagram and Parts List for AC Honda Generator
Piston Connecting Rod
Recoil Starter Diagram and Parts List for AC Honda Generator
Recoil Starter
Previous Showing All Parts Next
Accessories
Accessories Diagram and Parts List for AC Honda Generator
Air Cleaner Shroud
Air Cleaner  Shroud Diagram and Parts List for AC Honda Generator
Camshaft
Camshaft Diagram and Parts List for AC Honda Generator
Carburetor
Carburetor Diagram and Parts List for AC Honda Generator
Control Panel 1
Control Panel 1 Diagram and Parts List for AC Honda Generator
Cooling Fan
Cooling Fan Diagram and Parts List for AC Honda Generator
  • F-1
    Fan, Cooling – Part Number: 19511-ZT3-000
    Fan, Cooling
    Part Number: 19511-ZT3-000
      Special Order
    $28.96
  • F-2
    Boss, Cooling Fan – Part Number: 19514-ZT3-000
    Boss, Cooling Fan
    Part Number: 19514-ZT3-000
      Special Order
    $31.03
  • F-3
    Bolt-Flange-6x16 – Part Number: 95701-06016-08
    Bolt-Flange-6x16
    Part Number: 95701-06016-08
      Special Order
    $6.16
Crankcase Cover
Crankcase Cover Diagram and Parts List for AC Honda Generator
Crankshaft
Crankshaft Diagram and Parts List for AC Honda Generator
Cylinder
Cylinder Diagram and Parts List for AC Honda Generator
Engine Bed
Engine Bed Diagram and Parts List for AC Honda Generator
Filter Kit
Filter Kit Diagram and Parts List for AC Honda Generator
  • K-1
    Filter Kit – Part Number: 06383-ZT3-C00
    Filter Kit
    Part Number: 06383-ZT3-C00
      Special Order
    $103.55
  • K-2
    Wire, Ground – Part Number: 32611-ZT3-C00
    Wire, Ground
    Part Number: 32611-ZT3-C00
      Special Order
    $13.65
  • K-3
    Band Black 3.5X140 – Part Number: 35701-MG9-950
    Band Black 3.5X140
    Part Number: 35701-MG9-950
      Special Order
    $6.16
  • K-4
    Filter Assembly., Noise – Part Number: 38390-ZT3-C00
    Filter Assembly., Noise
    Part Number: 38390-ZT3-C00
      Special Order
    $107.64
Front Cover Side Cover
Front Cover  Side Cover Diagram and Parts List for AC Honda Generator
Fuel Tank
Fuel Tank Diagram and Parts List for AC Honda Generator
Ignition Coil Generator
Ignition Coil  Generator Diagram and Parts List for AC Honda Generator
Labels
Labels Diagram and Parts List for AC Honda Generator
Muffler
Muffler Diagram and Parts List for AC Honda Generator
Oil Case
Oil Case Diagram and Parts List for AC Honda Generator
Parallel Cable Kit
Parallel Cable Kit Diagram and Parts List for AC Honda Generator
Piston Connecting Rod
Piston  Connecting Rod Diagram and Parts List for AC Honda Generator
Recoil Starter
Recoil Starter Diagram and Parts List for AC Honda Generator

Questions & Answers

?

Our customer Service team is at the ready daily to answer your part and product questions.

We're sorry, but our Q&A experts are temporarily unavailable.
Please check back later if you still haven't found the answer you need.

Ask our Team

We have a dedicated staff with decades of collective experience in helping customers just like you purchase parts to repair their products.