Subaru Parts

Subaru EX40 Overhead Cam Engine Replacement Parts For Model EX400SE5041

We Sell Only Genuine Subaru Parts

Popular Parts for EX400SE5041

Search Within Model

Browse all Parts Search by Area
Accessoiries_Label Diagram and Parts List for  Subaru Engine
Accessoiries_Label
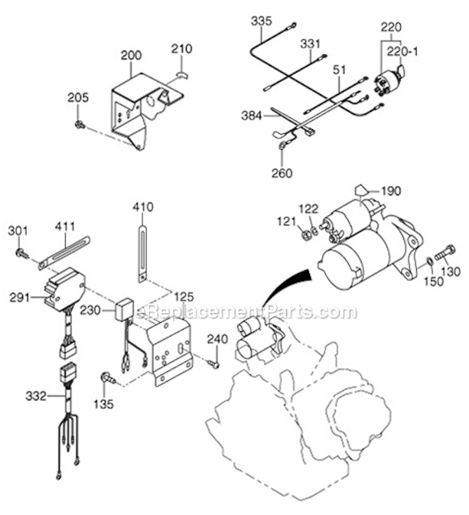
Cooling_Starting Diagram and Parts List for  Subaru Engine
Cooling_Starting
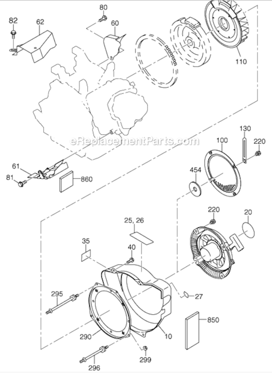
Crank_Case Diagram and Parts List for  Subaru Engine
Crank_Case
Crankshaft_Piston Diagram and Parts List for  Subaru Engine
Crankshaft_Piston
Electric_Device Diagram and Parts List for  Subaru Engine
Electric_Device
Fuel_Lubricant Diagram and Parts List for  Subaru Engine
Fuel_Lubricant
Governor_Operation Diagram and Parts List for  Subaru Engine
Governor_Operation
Intake_Exhaust Diagram and Parts List for  Subaru Engine
Intake_Exhaust
Page D Diagram and Parts List for  Subaru Engine
Page D
Page G Diagram and Parts List for  Subaru Engine
Page G
Page I Diagram and Parts List for  Subaru Engine
Page I
Page K Diagram and Parts List for  Subaru Engine
Page K
Page L Diagram and Parts List for  Subaru Engine
Page L
Page M Diagram and Parts List for  Subaru Engine
Page M
Previous Showing All Parts Next
Accessoiries_Label
Accessoiries_Label Diagram and Parts List for  Subaru Engine
Cooling_Starting
Cooling_Starting Diagram and Parts List for  Subaru Engine
Crank_Case
Crank_Case Diagram and Parts List for  Subaru Engine
  • A-10
    Crankcase Cp – Part Number: 20B-10102-41
    Crankcase Cp
    Part Number: 20B-10102-41
      No Longer Available
  • A-20
    Valve Guide – Part Number: 20B-14202-03
    Valve Guide
    Part Number: 20B-14202-03
      No Longer Available
  • A-21
    Clip – Part Number: 056-51000-50
    Clip
    Part Number: 056-51000-50
      No Longer Available
  • A-26
    Seal-Exh Valve – Part Number: 132-11AA1-10
    Seal-Exh Valve
    Part Number: 132-11AA1-10
      In Stock
    $13.82
  • A-28
    Retainer Plate – Part Number: 263-35341-03
    Retainer Plate
    Part Number: 263-35341-03
      In Stock
    $5.35
  • A-30
    Oil Seal – Part Number: 044-03500-91
    Oil Seal
    Part Number: 044-03500-91
      No Longer Available
  • A-40
    Ball Bearing – Part Number: X60-03502-40
    Ball Bearing
    Part Number: X60-03502-40
      No Longer Available
  • A-46
    Ball Bearing – Part Number: X60-01500-11
    Ball Bearing
    Part Number: X60-01500-11
      No Longer Available
  • A-50
    Pipe Knock – Part Number: 277-15011-03
    Pipe Knock
    Part Number: 277-15011-03
      No Longer Available
  • A-60
    Stud – Part Number: 010-50802-90
    Stud
    Part Number: 010-50802-90
      In Stock
    $6.37
  • A-70
    Stud – Part Number: 010-50604-40
    Stud
    Part Number: 010-50604-40
      No Longer Available
  • A-75
    Oil Seal – Part Number: 044-00800-10
    Oil Seal
    Part Number: 044-00800-10
      In Stock
    $9.22
  • A-80
    Plug – Part Number: 040-11400-30
    Plug
    Part Number: 040-11400-30
      In Stock
    $6.37
  • A-90
    Gasket – Part Number: 021-11400-20
    Gasket
    Part Number: 021-11400-20
      No Longer Available
  • A-210
    Mainbearing Cover Cp – Part Number: 20B-11002-21
    Mainbearing Cover Cp
    Part Number: 20B-11002-21
      No Longer Available
  • A-220
    Oil Seal – Part Number: 044-03500-91
    Oil Seal
    Part Number: 044-03500-91
      No Longer Available
  • A-230
    Ball Bearing – Part Number: X60-03502-40
    Ball Bearing
    Part Number: X60-03502-40
      No Longer Available
  • A-235
    Ball Bearing – Part Number: X60-01500-11
    Ball Bearing
    Part Number: X60-01500-11
      No Longer Available
  • A-250
    Governor Gear Cp – Part Number: 20B-45003-11
    Governor Gear Cp
    Part Number: 20B-45003-11
      No Longer Available
  • A-260
    Governor Sleeve – Part Number: 277-41902-01
    Governor Sleeve
    Part Number: 277-41902-01
      Special Order
    $33.07
  • A-280
    Gasket – Part Number: 021-32000-50
    Gasket
    Part Number: 021-32000-50
      Special Order
    Minimum Quantity of 2 required
    $4.13
  • A-285
    Oil Gauge – Part Number: 279-63601-30
    Oil Gauge
    Part Number: 279-63601-30
      No Longer Available
  • A-300
    Flange Bolt – Part Number: 011-00803-40
    Flange Bolt
    Part Number: 011-00803-40
      No Longer Available
  • A-610
    Cylinder Head Ay – Part Number: 20B-13002-00
    Cylinder Head Ay
    Part Number: 20B-13002-00
      No Longer Available
  • A-620
    Gasket Head – Part Number: 20B-15001-33
    Gasket Head
    Part Number: 20B-15001-33
      Special Order
    $23.94
  • A-630
    Flange Bolt – Part Number: 011-01000-40
    Flange Bolt
    Part Number: 011-01000-40
      No Longer Available
  • A-631
    Flange Bolt – Part Number: 001-04083-50
    Flange Bolt
    Part Number: 001-04083-50
      No Longer Available
  • A-680
    Rocker Cover Cp – Part Number: 20B-15501-01
    Rocker Cover Cp
    Part Number: 20B-15501-01
      No Longer Available
  • A-690
    Gasket(Rocker Cover) – Part Number: 20B-16001-03
    Gasket(Rocker Cover)
    Part Number: 20B-16001-03
      No Longer Available
  • A-700
    Dowel Pin – Part Number: 031-00600-10
    Dowel Pin
    Part Number: 031-00600-10
      No Longer Available
  • A-710
    Flange Bolt – Part Number: 011-00600-20
    Flange Bolt
    Part Number: 011-00600-20
      In Stock
    Minimum Quantity of 2 required
    $4.28
  • A-800
    Gasket(Head) – Part Number: 20B-15001-23
    Gasket(Head)
    Part Number: 20B-15001-23
      No Longer Available
  • A-800
    Crank Case Cp – Part Number: 20B-10102-31
    Crank Case Cp
    Part Number: 20B-10102-31
      No Longer Available
  • A-800
    Gasket Head – Part Number: 20B-15001-33
    Gasket Head
    Part Number: 20B-15001-33
      Special Order
    $23.94
  • A-960
    Gasket Set – Part Number: 20B-99001-37
    Gasket Set
    Part Number: 20B-99001-37
      No Longer Available
Crankshaft_Piston
Crankshaft_Piston Diagram and Parts List for  Subaru Engine
  • B-10
    Crankshaft Cp – Part Number: 20B-20901-21
    Crankshaft Cp
    Part Number: 20B-20901-21
      No Longer Available
  • B-50
    Flange Nut – Part Number: 018-01800-10
    Flange Nut
    Part Number: 018-01800-10
      No Longer Available
  • B-70
    Woodruff Key – Part Number: 005-32054-01
    Woodruff Key
    Part Number: 005-32054-01
      In Stock
    $6.64
  • B-80
    Key – Part Number: 207-26001-03
    Key
    Part Number: 207-26001-03
      In Stock
    $6.37
  • B-210
    Balancer Shaft – Part Number: 20B-24101-03
    Balancer Shaft
    Part Number: 20B-24101-03
      No Longer Available
  • B-310
    Connecting Rod Ay – Part Number: 20B-22503-00
    Connecting Rod Ay
    Part Number: 20B-22503-00
      No Longer Available
  • B-320
    Flange Bolt – Part Number: 001-05084-00
    Flange Bolt
    Part Number: 001-05084-00
      No Longer Available
  • B-350
    Piston Pin – Part Number: 263-23301-33
    Piston Pin
    Part Number: 263-23301-33
      No Longer Available
  • B-360
    Piston – Part Number: 20B-23401-H3
    Piston
    Part Number: 20B-23401-H3
      No Longer Available
  • B-361
    Piston – Part Number: 20B-23403-H3
    Piston
    Part Number: 20B-23403-H3
      No Longer Available
  • B-362
    Piston – Part Number: 22B-23404-J7
    Piston
    Part Number: 22B-23404-J7
      No Longer Available
  • B-370
    Piston Ring Set – Part Number: 20B-23501-07
    Piston Ring Set
    Part Number: 20B-23501-07
      Special Order
    $77.44
  • B-371
    Piston Ring Set – Part Number: 20B-23502-07
    Piston Ring Set
    Part Number: 20B-23502-07
      No Longer Available
  • B-372
    Piston Ring Set – Part Number: 20B-23503-07
    Piston Ring Set
    Part Number: 20B-23503-07
      No Longer Available
  • B-380
    Clip – Part Number: 056-52100-20
    Clip
    Part Number: 056-52100-20
      No Longer Available
  • B-800
    Crank Shaft Cp – Part Number: 20B-20901-11
    Crank Shaft Cp
    Part Number: 20B-20901-11
      No Longer Available
  • B-800
    Connecting Rod Ay – Part Number: 20B-22503-00
    Connecting Rod Ay
    Part Number: 20B-22503-00
      No Longer Available
Electric_Device
Electric_Device Diagram and Parts List for  Subaru Engine
Fuel_Lubricant
Fuel_Lubricant Diagram and Parts List for  Subaru Engine
Governor_Operation
Governor_Operation Diagram and Parts List for  Subaru Engine
  • E-13
    Governor Lever Ay – Part Number: 20B-42301-20
    Governor Lever Ay
    Part Number: 20B-42301-20
      No Longer Available
  • E-20
    Governor Shaft Cp – Part Number: 20B-42201-01
    Governor Shaft Cp
    Part Number: 20B-42201-01
      No Longer Available
  • E-26
    Washer – Part Number: 003-11080-00
    Washer
    Part Number: 003-11080-00
      No Longer Available
  • E-30
    Governor Rod – Part Number: 20B-42701-23
    Governor Rod
    Part Number: 20B-42701-23
      No Longer Available
  • E-40
    Rod Spring – Part Number: 20B-42801-13
    Rod Spring
    Part Number: 20B-42801-13
      No Longer Available
  • E-50
    Clip – Part Number: 003-13060-00
    Clip
    Part Number: 003-13060-00
      No Longer Available
  • E-51
    Clip – Part Number: 003-13060-00
    Clip
    Part Number: 003-13060-00
      No Longer Available
  • E-60
    Bolt And Washer Ay – Part Number: 001-14062-50
    Bolt And Washer Ay
    Part Number: 001-14062-50
      No Longer Available
  • E-70
    Nut – Part Number: 018-60600-20
    Nut
    Part Number: 018-60600-20
      No Longer Available
  • E-80
    Governor Spring – Part Number: 20B-42501-13
    Governor Spring
    Part Number: 20B-42501-13
      Special Order
    $7.50
  • E-310
    Speed Cont. Lever Cp – Part Number: 20B-43301-01
    Speed Cont. Lever Cp
    Part Number: 20B-43301-01
      No Longer Available
  • E-340
    Stop Plate Cp – Part Number: 227-43501-13
    Stop Plate Cp
    Part Number: 227-43501-13
      No Longer Available
  • E-350
    Spring Washer – Part Number: 227-45002-03
    Spring Washer
    Part Number: 227-45002-03
      No Longer Available
  • E-355
    Friction Washer – Part Number: 021-70600-30
    Friction Washer
    Part Number: 021-70600-30
      No Longer Available
  • E-360
    Screw – Part Number: 004-31061-80
    Screw
    Part Number: 004-31061-80
      No Longer Available
  • E-370
    Nut – Part Number: 002-27060-00
    Nut
    Part Number: 002-27060-00
      No Longer Available
  • E-395
    Clamp – Part Number: 277-43902-03
    Clamp
    Part Number: 277-43902-03
      Special Order
    $7.62
  • E-396
    Screw And Washer Ay – Part Number: 013-10500-30
    Screw And Washer Ay
    Part Number: 013-10500-30
      No Longer Available
  • E-435
    Speed Control Bkt Cp – Part Number: 20B-46001-21
    Speed Control Bkt Cp
    Part Number: 20B-46001-21
      No Longer Available
  • E-440
    Screw – Part Number: 004-31040-80
    Screw
    Part Number: 004-31040-80
      In Stock
    $4.28
  • E-450
    Self Lock Nut – Part Number: 002-35060-00
    Self Lock Nut
    Part Number: 002-35060-00
      No Longer Available
  • E-480
    Return Spring – Part Number: 277-45103-03
    Return Spring
    Part Number: 277-45103-03
      No Longer Available
  • E-485
    Flange Bolt – Part Number: 011-00600-20
    Flange Bolt
    Part Number: 011-00600-20
      In Stock
    Minimum Quantity of 2 required
    $4.28
  • E-516
    Label(Hi-Low) – Part Number: 277-96107-03
    Label(Hi-Low)
    Part Number: 277-96107-03
      No Longer Available
  • E-800
    Governor Rod Cp – Part Number: 20B-42701-13
    Governor Rod Cp
    Part Number: 20B-42701-13
      In Stock
    $7.97
  • E-800
    Governor Lever Ay – Part Number: 20B-42301-10
    Governor Lever Ay
    Part Number: 20B-42301-10
      No Longer Available
Intake_Exhaust
Intake_Exhaust Diagram and Parts List for  Subaru Engine
  • C-12
    Camshaft Ay – Part Number: 20B-31601-20
    Camshaft Ay
    Part Number: 20B-31601-20
      No Longer Available
  • C-23
    Pin(Cam Shaft)Cp – Part Number: 20B-35101-21
    Pin(Cam Shaft)Cp
    Part Number: 20B-35101-21
      No Longer Available
  • C-27
    O-Ring – Part Number: 024-00700-21
    O-Ring
    Part Number: 024-00700-21
      No Longer Available
  • C-34
    Spring Pin – Part Number: 005-19041-00
    Spring Pin
    Part Number: 005-19041-00
      No Longer Available
  • C-35
    Release Lever New Style Not In – Part Number: 277-36401-13
    Release Lever New Style Not In
    Part Number: 277-36401-13
      No Longer Available
  • C-37
    Clip – Part Number: 20B-36501-03
    Clip
    Part Number: 20B-36501-03
      In Stock
    $4.28
  • C-38
    Return Spring – Part Number: 277-38702-03
    Return Spring
    Part Number: 277-38702-03
      No Longer Available
  • C-48
    Roll Pin – Part Number: 031-80500-20
    Roll Pin
    Part Number: 031-80500-20
      No Longer Available
  • C-60
    Valve Spring – Part Number: 246-33611-03
    Valve Spring
    Part Number: 246-33611-03
      No Longer Available
  • C-70
    Spring Retainer – Part Number: 246-33711-13
    Spring Retainer
    Part Number: 246-33711-13
      No Longer Available
  • C-80
    Intake Valve – Part Number: 20B-33402-H3
    Intake Valve
    Part Number: 20B-33402-H3
      No Longer Available
  • C-90
    Exhaust Valve – Part Number: 20B-33502-H3
    Exhaust Valve
    Part Number: 20B-33502-H3
      No Longer Available
  • C-95
    Collet-Valve – Part Number: 246-35501-03
    Collet-Valve
    Part Number: 246-35501-03
      In Stock
    $6.37
  • C-150
    Timing Chain Cp – Part Number: 20B-35601-H1
    Timing Chain Cp
    Part Number: 20B-35601-H1
      No Longer Available
  • C-160
    Tentioner – Part Number: 277-36911-03
    Tentioner
    Part Number: 277-36911-03
      No Longer Available
  • C-163
    Spring(Tentioner) – Part Number: 277-37101-03
    Spring(Tentioner)
    Part Number: 277-37101-03
      In Stock
    Minimum Quantity of 2 required
    $5.51
  • C-166
    Pin(Tentioner) – Part Number: 277-36902-03
    Pin(Tentioner)
    Part Number: 277-36902-03
      No Longer Available
  • C-170
    Chain Guide – Part Number: 277-36913-13
    Chain Guide
    Part Number: 277-36913-13
      No Longer Available
  • C-200
    Pin(Rocker)Cp – Part Number: 20B-35001-01
    Pin(Rocker)Cp
    Part Number: 20B-35001-01
      No Longer Available
  • C-202
    Clip – Part Number: 003-13060-00
    Clip
    Part Number: 003-13060-00
      No Longer Available
  • C-220
    Rocker Arm(In) Ay – Part Number: 20B-36101-00
    Rocker Arm(In) Ay
    Part Number: 20B-36101-00
      In Stock
    $45.99
  • C-225
    Rocker Arm(Ex) Ay – Part Number: 20B-36102-10
    Rocker Arm(Ex) Ay
    Part Number: 20B-36102-10
      Special Order
    $44.55
  • C-230
    Adjust Screw – Part Number: 014-90500-20
    Adjust Screw
    Part Number: 014-90500-20
      No Longer Available
  • C-231
    Adjust Screw – Part Number: 014-90500-20
    Adjust Screw
    Part Number: 014-90500-20
      No Longer Available
  • C-240
    Nut – Part Number: 017-00500-30
    Nut
    Part Number: 017-00500-30
      No Longer Available
  • C-241
    Nut – Part Number: 017-00500-30
    Nut
    Part Number: 017-00500-30
      No Longer Available
  • C-290
    Flange Bolt – Part Number: 011-00600-30
    Flange Bolt
    Part Number: 011-00600-30
    ★★★★★
    ★★★★★
    (1)
      In Stock
    Minimum Quantity of 2 required
    $4.28
  • C-310
    Muffler Un – Part Number: 20B-30111-J2
    Muffler Un
    Part Number: 20B-30111-J2
      No Longer Available
  • C-315
    Spark Arrester Cp – Part Number: 267-37602-01
    Spark Arrester Cp
    Part Number: 267-37602-01
      No Longer Available
  • C-317
    Tapping Screw – Part Number: 015-00400-60
    Tapping Screw
    Part Number: 015-00400-60
      In Stock
    Minimum Quantity of 2 required
    $4.28
  • C-320
    Muffler Cover Cp – Part Number: 20B-34201-11
    Muffler Cover Cp
    Part Number: 20B-34201-11
      In Stock
    $58.23
  • C-340
    Gasket, Muffler – Part Number: 20B-35201-13
    Gasket, Muffler
    Part Number: 20B-35201-13
      In Stock
    $6.37
  • C-350
    Flange Nut – Part Number: 002-38080-00
    Flange Nut
    Part Number: 002-38080-00
      Special Order
    $4.28
  • C-360
    Flange Bolt – Part Number: 011-00600-30
    Flange Bolt
    Part Number: 011-00600-30
    ★★★★★
    ★★★★★
    (1)
      In Stock
    Minimum Quantity of 2 required
    $4.28
  • C-365
    Flange Bolt – Part Number: 011-00803-20
    Flange Bolt
    Part Number: 011-00803-20
      No Longer Available
  • C-387
    Tapping Screw – Part Number: 015-00400-60
    Tapping Screw
    Part Number: 015-00400-60
      In Stock
    Minimum Quantity of 2 required
    $4.28
  • C-440
    Deflector Cp – Part Number: 20B-37001-11
    Deflector Cp
    Part Number: 20B-37001-11
      No Longer Available
  • C-538
    Gasket 3 – Part Number: 20B-35903-13
    Gasket 3
    Part Number: 20B-35903-13
      No Longer Available
  • C-540
    Insulator Cp – Part Number: 20B-32901-K1
    Insulator Cp
    Part Number: 20B-32901-K1
      In Stock
    $54.55
  • C-550
    Gasket 2 – Part Number: 20B-35902-H3
    Gasket 2
    Part Number: 20B-35902-H3
      No Longer Available
  • C-560
    Gasket 1 – Part Number: 20B-35901-H3
    Gasket 1
    Part Number: 20B-35901-H3
      No Longer Available
  • C-570
    Flange Nut – Part Number: 002-38060-00
    Flange Nut
    Part Number: 002-38060-00
      No Longer Available
  • C-580
    Flange Bolt – Part Number: 001-04061-60
    Flange Bolt
    Part Number: 001-04061-60
      No Longer Available
  • C-620
    Cover Stay(A/C) – Part Number: 20B-57101-03
    Cover Stay(A/C)
    Part Number: 20B-57101-03
      No Longer Available
  • C-800
    Insulator Cp – Part Number: 20B-32901-K1
    Insulator Cp
    Part Number: 20B-32901-K1
      In Stock
    $54.55
  • C-800
    Intake Valve – Part Number: 20B-33401-H3
    Intake Valve
    Part Number: 20B-33401-H3
      No Longer Available
  • C-800
    Release Lever – Part Number: 277-36401-03
    Release Lever
    Part Number: 277-36401-03
      No Longer Available
  • C-800
    Exhaust Valve – Part Number: 20B-33501-H3
    Exhaust Valve
    Part Number: 20B-33501-H3
      No Longer Available
  • C-800
    Camshaft Ay – Part Number: 20B-31601-10
    Camshaft Ay
    Part Number: 20B-31601-10
      No Longer Available
  • C-800
    Gasket(Muffler) – Part Number: 20B-35201-03
    Gasket(Muffler)
    Part Number: 20B-35201-03
      No Longer Available
  • C-850
    Rubber Pipe – Part Number: X85-11001-70
    Rubber Pipe
    Part Number: X85-11001-70
      No Longer Available
Page D
Page D Diagram and Parts List for  Subaru Engine
Page G
Page G Diagram and Parts List for  Subaru Engine
Page I
Page I Diagram and Parts List for  Subaru Engine
Page K
Page K Diagram and Parts List for  Subaru Engine
Page L
Page L Diagram and Parts List for  Subaru Engine
  • L-120
    Starting Motor Ay – Part Number: 279-70502-00
    Starting Motor Ay
    Part Number: 279-70502-00
      No Longer Available
  • L--1
    Yoke Cp – Part Number: 209-70550-08
    Yoke Cp
    Part Number: 209-70550-08
      No Longer Available
  • L--2
    Brush – Part Number: 209-70551-08
    Brush
    Part Number: 209-70551-08
      No Longer Available
  • L--3
    Brush Spring – Part Number: 209-70545-08
    Brush Spring
    Part Number: 209-70545-08
      No Longer Available
  • L--4
    Brush Holder – Part Number: 209-70530-08
    Brush Holder
    Part Number: 209-70530-08
      No Longer Available
  • L--5
    Insulator – Part Number: 209-70552-08
    Insulator
    Part Number: 209-70552-08
      No Longer Available
  • L--6
    Armature Ay – Part Number: 209-70554-08
    Armature Ay
    Part Number: 209-70554-08
      No Longer Available
  • L--7
    Over Running Clut Cp – Part Number: 209-70521-08
    Over Running Clut Cp
    Part Number: 209-70521-08
      No Longer Available
  • L--8
    Pinion Stopper – Part Number: 234-70555-08
    Pinion Stopper
    Part Number: 234-70555-08
      No Longer Available
  • L--9
    Housing Cp – Part Number: 279-70550-08
    Housing Cp
    Part Number: 279-70550-08
      No Longer Available
  • L--11
    Frame Cp – Part Number: 209-70505-18
    Frame Cp
    Part Number: 209-70505-18
      No Longer Available
  • L--12
    Bush – Part Number: 209-70510-08
    Bush
    Part Number: 209-70510-08
      No Longer Available
  • L--14
    Lever – Part Number: 209-70525-08
    Lever
    Part Number: 209-70525-08
      No Longer Available
  • L--15
    Magnet Switch Cp – Part Number: 279-70515-18
    Magnet Switch Cp
    Part Number: 279-70515-18
      No Longer Available
  • L--16
    Snap Ring – Part Number: 209-70557-18
    Snap Ring
    Part Number: 209-70557-18
      No Longer Available
  • L--17
    Through Bolt – Part Number: 209-70558-08
    Through Bolt
    Part Number: 209-70558-08
      No Longer Available
  • L--18
    Nut – Part Number: 949-29970-02
    Nut
    Part Number: 949-29970-02
      No Longer Available
  • L--19
    Nut – Part Number: 209-70560-08
    Nut
    Part Number: 209-70560-08
      No Longer Available
  • L--21
    Spring Washer – Part Number: 107-70652-08
    Spring Washer
    Part Number: 107-70652-08
      No Longer Available
  • L--22
    Nut – Part Number: 211-70584-08
    Nut
    Part Number: 211-70584-08
      No Longer Available
  • L--29
    Bush – Part Number: 209-70511-08
    Bush
    Part Number: 209-70511-08
      No Longer Available
Page M
Page M Diagram and Parts List for  Subaru Engine