Speed Queen Parts

Speed Queen Residential Dryer Replacement Parts For Model HE6003

We Sell Only Genuine Speed Queen Parts

Find Speed Queen HE6003 Parts By Symptom

Noisy

85%

Door won’t close

8%

Drum Not Spinning

4%

Won’t Start

1%

Will not agitate

1%

Burning smell

0%

Door Pops Open

0%

Not Heating

0%

Marks left on clothes

0%

Spins slowly

0%

Running With Door Open

0%

Popular Parts for HE6003

Search Within Model

Browse all Parts Search by Area
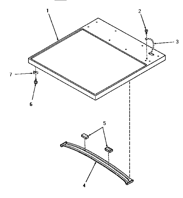
CABINET TOP Diagram and Parts List for  Speed Queen Dryer
CABINET TOP
CABINET, EXHAUST DUCT & BASE Diagram and Parts List for  Speed Queen Dryer
CABINET, EXHAUST DUCT & BASE
CONTROL HOOD Diagram and Parts List for  Speed Queen Dryer
CONTROL HOOD
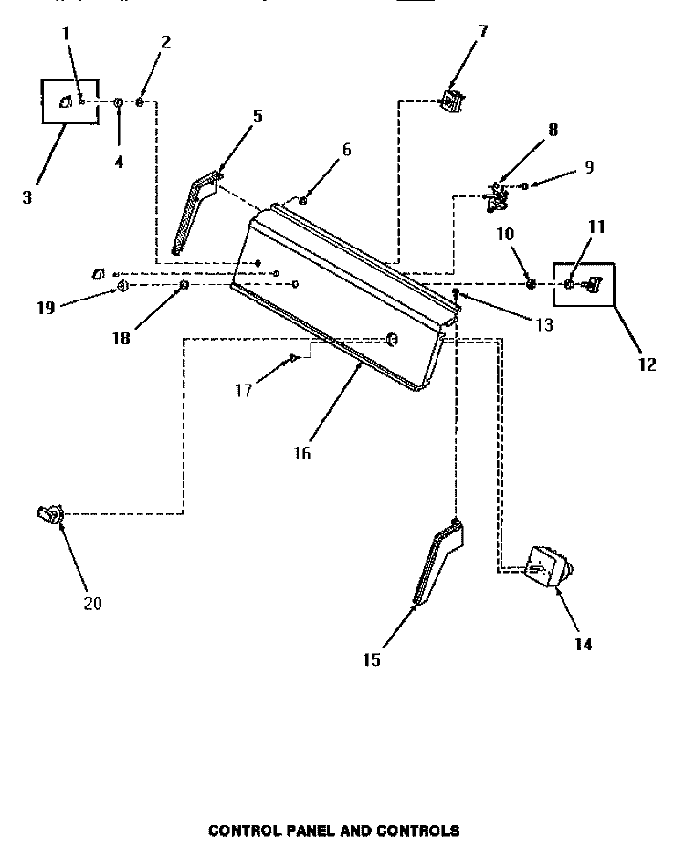
CONTROL PANEL & CONTROLS Diagram and Parts List for  Speed Queen Dryer
CONTROL PANEL & CONTROLS
DRYER BELTS Diagram and Parts List for  Speed Queen Dryer
DRYER BELTS
FR BLKHD, AIR DUCT, FELT SEAL & CYLINDER Diagram and Parts List for  Speed Queen Dryer
FR BLKHD, AIR DUCT, FELT SEAL & CYLINDER
HEATER BOX Diagram and Parts List for  Speed Queen Dryer
HEATER BOX
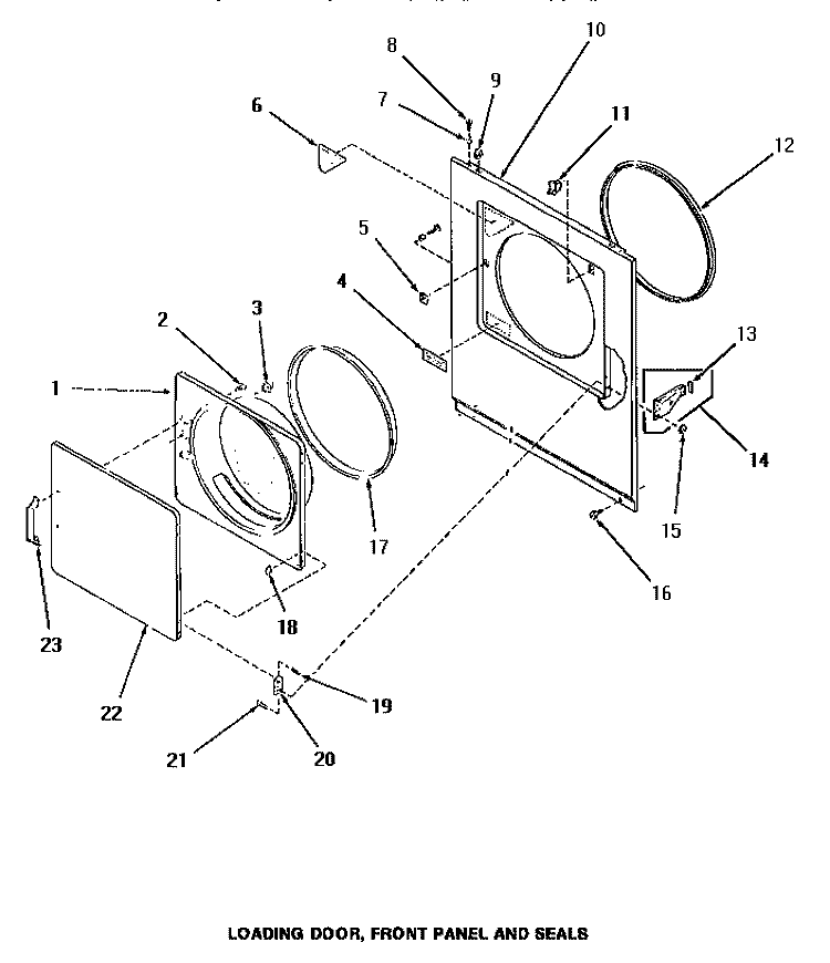
LOADING DOOR, FRONT PANEL & SEALS Diagram and Parts List for  Speed Queen Dryer
LOADING DOOR, FRONT PANEL & SEALS
MOTOR, EXHAUST FAN & BELT Diagram and Parts List for  Speed Queen Dryer
MOTOR, EXHAUST FAN & BELT
POWER CORD & TERMINALS Diagram and Parts List for  Speed Queen Dryer
POWER CORD & TERMINALS
REAR BLKHD, FELT SEAL & CYLINDER ROLLER Diagram and Parts List for  Speed Queen Dryer
REAR BLKHD, FELT SEAL & CYLINDER ROLLER
TERMINAL BLOCK Diagram and Parts List for  Speed Queen Dryer
TERMINAL BLOCK
Previous Showing All Parts Next
CABINET TOP
CABINET TOP Diagram and Parts List for  Speed Queen Dryer
CABINET, EXHAUST DUCT & BASE
CABINET, EXHAUST DUCT & BASE Diagram and Parts List for  Speed Queen Dryer
CONTROL HOOD
CONTROL HOOD Diagram and Parts List for  Speed Queen Dryer
CONTROL PANEL & CONTROLS
CONTROL PANEL & CONTROLS Diagram and Parts List for  Speed Queen Dryer
DRYER BELTS
DRYER BELTS Diagram and Parts List for  Speed Queen Dryer
FR BLKHD, AIR DUCT, FELT SEAL & CYLINDER
FR BLKHD, AIR DUCT, FELT SEAL & CYLINDER Diagram and Parts List for  Speed Queen Dryer
HEATER BOX
HEATER BOX Diagram and Parts List for  Speed Queen Dryer
LOADING DOOR, FRONT PANEL & SEALS
LOADING DOOR, FRONT PANEL & SEALS Diagram and Parts List for  Speed Queen Dryer
MOTOR, EXHAUST FAN & BELT
MOTOR, EXHAUST FAN & BELT Diagram and Parts List for  Speed Queen Dryer
POWER CORD & TERMINALS
POWER CORD & TERMINALS Diagram and Parts List for  Speed Queen Dryer
REAR BLKHD, FELT SEAL & CYLINDER ROLLER
REAR BLKHD, FELT SEAL & CYLINDER ROLLER Diagram and Parts List for  Speed Queen Dryer
TERMINAL BLOCK
TERMINAL BLOCK Diagram and Parts List for  Speed Queen Dryer