Whirlpool Parts

Whirlpool Gas, Counter Unit Cooktop Replacement Parts For Model SCS3014LB02

We Sell Only Genuine Whirlpool Parts

Find Whirlpool SCS3014LB02 Parts By Symptom

Will Not Start

81%

Gas igniter glows, but will not light

19%

Popular Parts for SCS3014LB02

Search Within Model

Browse all Parts Search by Area
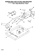
BURNER BOX, GAS VALVES, AND SWITCHES Diagram and Parts List for  Whirlpool Cooktop
BURNER BOX, GAS VALVES, AND SWITCHES
COOKTOP, BURNER AND GRATE PARTS Diagram and Parts List for  Whirlpool Cooktop
COOKTOP, BURNER AND GRATE PARTS
Previous Showing All Parts Next
BURNER BOX, GAS VALVES, AND SWITCHES
BURNER BOX, GAS VALVES, AND SWITCHES Diagram and Parts List for  Whirlpool Cooktop
COOKTOP, BURNER AND GRATE PARTS
COOKTOP, BURNER AND GRATE PARTS Diagram and Parts List for  Whirlpool Cooktop