Craftsman Parts

Craftsman All State Air Compressor Replacement Parts For Model 10289330

We Sell Only Genuine Craftsman Parts

Popular Parts for 10289330

Search Within Model

Questions & Answers for Craftsman 10289330
Browse all Parts Search by Area
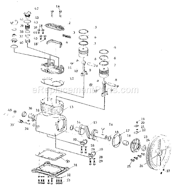
Page A Diagram and Parts List for  Craftsman Compressor
Page A
Page B Diagram and Parts List for  Craftsman Compressor
Page B
Page C Diagram and Parts List for  Craftsman Compressor
Page C
Previous Showing All Parts Next
Page A
Page A Diagram and Parts List for  Craftsman Compressor
Page B
Page B Diagram and Parts List for  Craftsman Compressor
Page C
Page C Diagram and Parts List for  Craftsman Compressor

Questions & Answers

?

Our customer Service team is at the ready daily to answer your part and product questions.

We're sorry, but our Q&A experts are temporarily unavailable.
Please check back later if you still haven't found the answer you need.

Ask our Team

We have a dedicated staff with decades of collective experience in helping customers just like you purchase parts to repair their products.