Our customer service team are at the ready daily to answer your part and product questions. We have a dedicated staff with decades of collective experience in helping customers just like you purchase parts to repair their products.
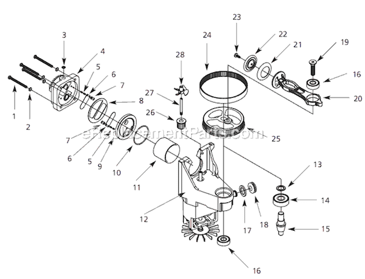
Campbell Hausfeld Portable Air Compressor Replacement Parts For Model FP220700 (2003)
We Sell Only Genuine Campbell Hausfeld Parts
Popular Parts for FP220700
In Stock
$18.19
In Stock
$16.29
In Stock
$36.15
In Stock
$30.48
Special Order
$48.71
Special Order
$92.40
Search Within Model
Browse all Parts
Search by Area
Previous
Showing All Parts
Next
Page A
Page B
✖
✖