KitchenAid Parts

KitchenAid Coffee Grinder Replacement Parts For Model KPCG100NP1

We Sell Only Genuine KitchenAid Parts

Find KitchenAid KPCG100NP1 Parts By Symptom

Touchpad does not respond

100%

Popular Parts for KPCG100NP1

Search Within Model

Browse all Parts Search by Area
MOTOR AND CONTROL PARTS Diagram and Parts List for  KitchenAid Coffee Grinder
MOTOR AND CONTROL PARTS
MOTOR HOUSING AND BURR ASSEMBLY PARTS Diagram and Parts List for  KitchenAid Coffee Grinder
MOTOR HOUSING AND BURR ASSEMBLY PARTS
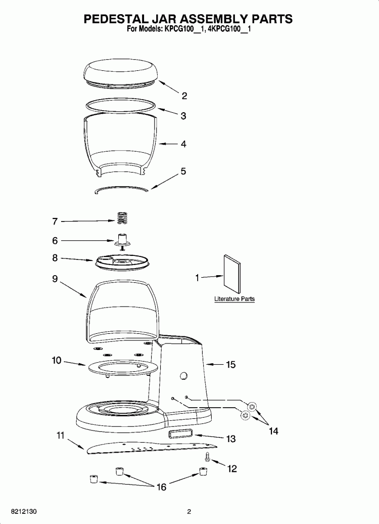
PEDESTAL JAR ASSEMBLY PARTS Diagram and Parts List for  KitchenAid Coffee Grinder
PEDESTAL JAR ASSEMBLY PARTS
Previous Showing All Parts Next
MOTOR AND CONTROL PARTS
MOTOR AND CONTROL PARTS Diagram and Parts List for  KitchenAid Coffee Grinder
  • No Longer Available – Part Number:
    No Longer Available
    Part Number:
      No Longer Available
  • Scoop, Coffee – Part Number: 4176764
    Scoop, Coffee
    Part Number: 4176764
      Special Order
    $36.23
  • Brush, Cleaning – Part Number: 4176763
    Brush, Cleaning
    Part Number: 4176763
      No Longer Available
  • 1
    BUSHING – Part Number: 4176707
    BUSHING
    Part Number: 4176707
      In Stock
    $35.16
  • 2
    Motor – Part Number: 4176733
    Motor
    Part Number: 4176733
      No Longer Available
  • 3
    ABSORBER – Part Number: 4176726
    ABSORBER
    Part Number: 4176726
      Special Order
    $34.09
  • 4
    CAP – Part Number: 4176699
    CAP
    Part Number: 4176699
      No Longer Available
  • 4
    Cap, Motor (Nickel Pearl) – Part Number: 8212150
    Cap, Motor (Nickel Pearl)
    Part Number: 8212150
      No Longer Available
  • 4
    CAP – Part Number: 8212321
    CAP
    Part Number: 8212321
      Special Order
    $54.90
  • 4
    CAP – Part Number: W10217609
    CAP
    Part Number: W10217609
      Special Order
    $55.95
  • 5
    Screw, Motor Cap – Part Number: 4176755
    Screw, Motor Cap
    Part Number: 4176755
      Special Order
    $37.30
  • 6
    Coffee Maker Tube Housing – Part Number: 4176734
    Coffee Maker Tube Housing
    Part Number: 4176734
      Special Order
    $34.09
  • 7
    NUT – Part Number: 4176710
    NUT
    Part Number: 4176710
      Special Order
    $31.96
  • 8
    Lockwasher – Part Number: 4176713
    Lockwasher
    Part Number: 4176713
      Special Order
    $37.30
  • 9
    Powercord – Part Number: 4176757
    Powercord
    Part Number: 4176757
      Special Order
    $53.84
  • 10
    PCB Board, Bottom – Part Number: 4176727
    PCB Board, Bottom
    Part Number: 4176727
      No Longer Available
  • 11
    Coffee Maker Switch Toggle – Part Number: 4176758
    Coffee Maker Switch Toggle
    Part Number: 4176758
      Special Order
    $55.95
  • 12
    SPACER – Part Number: 4176724
    SPACER
    Part Number: 4176724
      Special Order
    $34.09
  • 13
    Gearbox Assembly – Part Number: 4176720
    Gearbox Assembly
    Part Number: 4176720
      No Longer Available
MOTOR HOUSING AND BURR ASSEMBLY PARTS
MOTOR HOUSING AND BURR ASSEMBLY PARTS Diagram and Parts List for  KitchenAid Coffee Grinder
  • 1
    GUARD – Part Number: 4176695
    GUARD
    Part Number: 4176695
      No Longer Available
  • 2
    Vent – Part Number: 4176696
    Vent
    Part Number: 4176696
      No Longer Available
  • 3
    Lockwasher – Part Number: 4176713
    Lockwasher
    Part Number: 4176713
      Special Order
    $37.30
  • 4
    PIN – Part Number: 8212392
    PIN
    Part Number: 8212392
      Special Order
    $35.16
  • 5
    Bolt, Knob – Part Number: 4176754
    Bolt, Knob
    Part Number: 4176754
      Special Order
    $37.30
  • 6
    KNOB – Part Number: 4176718
    KNOB
    Part Number: 4176718
      No Longer Available
  • 7
    SPRING – Part Number: 8212394
    SPRING
    Part Number: 8212394
      No Longer Available
  • 8
    Screw, Adjustment – Part Number: 4176716
    Screw, Adjustment
    Part Number: 4176716
      No Longer Available
  • 9
    SCREW – Part Number: 4176705
    SCREW
    Part Number: 4176705
      Special Order
    $57.01
  • 10
    BEZEL – Part Number: 4176697
    BEZEL
    Part Number: 4176697
      Special Order
    $85.60
  • 11
    Auger Assembly – Part Number: 4176694
    Auger Assembly
    Part Number: 4176694
      No Longer Available
  • 12
    SCREW – Part Number: 4176712
    SCREW
    Part Number: 4176712
      Special Order
    $36.23
  • 13
    Burr – Part Number: W11109860
    Burr
    Part Number: W11109860
      In Stock
    $40.50
  • 14
    HOUSING – Part Number: W10217611
    HOUSING
    Part Number: W10217611
      No Longer Available
  • 14
    HOUSING – Part Number: 8212320
    HOUSING
    Part Number: 8212320
      No Longer Available
  • 14
    Housing, Motor (Nickel Pearl) – Part Number: 8212151
    Housing, Motor (Nickel Pearl)
    Part Number: 8212151
      No Longer Available
  • 14
    HOUSING – Part Number: 4176698
    HOUSING
    Part Number: 4176698
      No Longer Available
  • 15
    INSERT – Part Number: W10223450
    INSERT
    Part Number: W10223450
      No Longer Available
PEDESTAL JAR ASSEMBLY PARTS
PEDESTAL JAR ASSEMBLY PARTS Diagram and Parts List for  KitchenAid Coffee Grinder