Craftsman Parts

Craftsman 10-Inch Radial Saw Chop Saw Replacement Parts For Model 113197731

We Sell Only Genuine Craftsman Parts

Popular Parts for 113197731

Search Within Model

Browse all Parts Search by Area
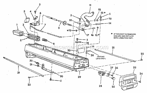
Page A Diagram and Parts List for  Craftsman Chop Saw
Page A
Page B Diagram and Parts List for  Craftsman Chop Saw
Page B
Page C Diagram and Parts List for  Craftsman Chop Saw
Page C
Page D Diagram and Parts List for  Craftsman Chop Saw
Page D
Page E Diagram and Parts List for  Craftsman Chop Saw
Page E
Page F Diagram and Parts List for  Craftsman Chop Saw
Page F
Page G Diagram and Parts List for  Craftsman Chop Saw
Page G
Page H Diagram and Parts List for  Craftsman Chop Saw
Page H
Previous Showing All Parts Next
Page A
Page A Diagram and Parts List for  Craftsman Chop Saw
Page B
Page B Diagram and Parts List for  Craftsman Chop Saw
  • B-1
    Screw 8Pk – Part Number: STD601105
    Screw 8Pk
    Part Number: STD601105
      No Longer Available
  • B-3
    Indicat Rip – Part Number: 63786
    Indicat Rip
    Part Number: 63786
      No Longer Available
  • B-4
    Screw 8Pk – Part Number: STD510605
    Screw 8Pk
    Part Number: STD510605
      No Longer Available
  • B-5
    Hex Nut – Part Number: 120399
    Hex Nut
    Part Number: 120399
      No Longer Available
  • B-7
    RADIATOR TUBE UPPER – Part Number: 63893
    RADIATOR TUBE UPPER
    Part Number: 63893
      Special Order
    $109.67
  • B-9
    Spring – Part Number: 63656
    Spring
    Part Number: 63656
      No Longer Available
  • B-10
    Flat Washer, 8Pk – Part Number: STD551031
    Flat Washer, 8Pk
    Part Number: STD551031
      No Longer Available
  • B-11
    Washer 8Pk – Part Number: STD551231
    Washer 8Pk
    Part Number: STD551231
      Special Order
    $8.97
  • B-12
    Screw 5Pk – Part Number: STD523107
    Screw 5Pk
    Part Number: STD523107
      No Longer Available
  • B-14
    Washer Assm – Part Number: 63782
    Washer Assm
    Part Number: 63782
      No Longer Available
  • B-15
    Spacer – Part Number: 63777
    Spacer
    Part Number: 63777
      Special Order
    $137.88
  • B-16
    Flat Washer, 8Pk – Part Number: STD551031
    Flat Washer, 8Pk
    Part Number: STD551031
      No Longer Available
  • B-17
    Nut 2Pk – Part Number: STD541462
    Nut 2Pk
    Part Number: STD541462
      No Longer Available
  • B-18
    Washer 5Pk – Part Number: STD551062
    Washer 5Pk
    Part Number: STD551062
      No Longer Available
  • B-19
    Bumper – Part Number: 30567
    Bumper
    Part Number: 30567
      No Longer Available
  • B-20
    Screw 5Pk – Part Number: STD523115
    Screw 5Pk
    Part Number: STD523115
      No Longer Available
  • B-21
    Bearing – Part Number: 63779
    Bearing
    Part Number: 63779
      No Longer Available
  • B-23
    SWIVAL SPRING – Part Number: 080038001463
    SWIVAL SPRING
    Part Number: 080038001463
      In Stock
    $6.16
  • B-24
    MANUAL-GTS 200 A-Y – Part Number: 63659
    MANUAL-GTS 200 A-Y
    Part Number: 63659
      Special Order
    $13.60
  • B-25
    Knob Asm – Part Number: 63660
    Knob Asm
    Part Number: 63660
      No Longer Available
  • B-26
    Gov. shaft washer – Part Number: 30530
    Gov. shaft washer
    Part Number: 30530
      Special Order
    $3.96
  • B-27
    Carriage – Part Number: 63641
    Carriage
    Part Number: 63641
      No Longer Available
  • B-28
    Nut 8Pk – Part Number: STD541231
    Nut 8Pk
    Part Number: STD541231
      No Longer Available
  • B-29
    Nut – Part Number: 30495
    Nut
    Part Number: 30495
      No Longer Available
  • B-30
    Collar Blade – Part Number: 62498
    Collar Blade
    Part Number: 62498
      No Longer Available
  • B-31
    Blade – Part Number: 9-26810
    Blade
    Part Number: 9-26810
      No Longer Available
  • B-32
    Hex Lock Nut, 8-pack – Part Number: STD541411
    Hex Lock Nut, 8-pack
    Part Number: STD541411
      No Longer Available
  • B-33
    Washer 8Pk – Part Number: STD551037
    Washer 8Pk
    Part Number: STD551037
      No Longer Available
  • B-35
    HC STUD MOTOR – Part Number: 63651
    HC STUD MOTOR
    Part Number: 63651
      Special Order
    $6.16
  • B-36
    Bushing – Part Number: 63469
    Bushing
    Part Number: 63469
      No Longer Available
  • B-39
    Clamp – Part Number: 63643
    Clamp
    Part Number: 63643
      No Longer Available
  • B-42
    SWIVAL SPRING – Part Number: 080038001463
    SWIVAL SPRING
    Part Number: 080038001463
      In Stock
    $6.16
  • B-44
    Bevel – Part Number: 63620
    Bevel
    Part Number: 63620
      No Longer Available
  • B-45
    SWITCH ENCLOSURE – Part Number: 60337
    SWITCH ENCLOSURE
    Part Number: 60337
      Special Order
    $3584.04
  • B-46
    Self-Tapping Screw – Part Number: STD600803
    Self-Tapping Screw
    Part Number: STD600803
      No Longer Available
  • B-48
    Yoke – Part Number: 63653
    Yoke
    Part Number: 63653
      No Longer Available
  • B-49
    Handle – Part Number: 63654
    Handle
    Part Number: 63654
      No Longer Available
  • B-50
    Screw – Part Number: 60338
    Screw
    Part Number: 60338
      No Longer Available
  • B-51
    Screw – Part Number: 9421628
    Screw
    Part Number: 9421628
      No Longer Available
  • B-52
    Screw – Part Number: 9421627
    Screw
    Part Number: 9421627
      No Longer Available
  • B-53
    Lock Washer – Part Number: STD551131
    Lock Washer
    Part Number: STD551131
      No Longer Available
  • B-55
    Index – Part Number: 63649
    Index
    Part Number: 63649
      No Longer Available
  • B-58
    Lock – Part Number: 63647
    Lock
    Part Number: 63647
      No Longer Available
  • B-59
    Washer 8Pk – Part Number: STD551210
    Washer 8Pk
    Part Number: STD551210
      No Longer Available
  • B-60
    Screw 8Pk – Part Number: STD511107
    Screw 8Pk
    Part Number: STD511107
      No Longer Available
  • B-61
    Screw 2Pk – Part Number: STD523120
    Screw 2Pk
    Part Number: STD523120
      No Longer Available
  • B-62
    Yoke – Part Number: 63646
    Yoke
    Part Number: 63646
      No Longer Available
  • B-63
    Air Outlet Screen – Part Number: 63899
    Air Outlet Screen
    Part Number: 63899
      Special Order
    $44.60
Page C
Page C Diagram and Parts List for  Craftsman Chop Saw
  • C-1
    Screw 2Pk – Part Number: STD503705
    Screw 2Pk
    Part Number: STD503705
      No Longer Available
  • C-2
    Arm – Part Number: 63623
    Arm
    Part Number: 63623
      No Longer Available
  • C-3
    Ring Retain – Part Number: STD582300
    Ring Retain
    Part Number: STD582300
      No Longer Available
  • C-4
    Tube Asm – Part Number: 63611
    Tube Asm
    Part Number: 63611
      No Longer Available
  • C-6
    Pin 2Pk – Part Number: STD572510
    Pin 2Pk
    Part Number: STD572510
      No Longer Available
  • C-7
    SPACER-BRAKE LEVER – Part Number: 63612
    SPACER-BRAKE LEVER
    Part Number: 63612
      Special Order
    $15.54
  • C-8
    Screw 5Pk – Part Number: STD523107
    Screw 5Pk
    Part Number: STD523107
      No Longer Available
  • C-9
    Screw 5Pk – Part Number: STD523110
    Screw 5Pk
    Part Number: STD523110
      No Longer Available
  • C-10
    Screw 5Pk – Part Number: STD523105
    Screw 5Pk
    Part Number: STD523105
      No Longer Available
  • C-11
    Nut 8Pk – Part Number: STD541037
    Nut 8Pk
    Part Number: STD541037
      No Longer Available
  • C-12
    Washer, Lock 3/8 – Part Number: STD551137
    Washer, Lock 3/8
    Part Number: STD551137
      No Longer Available
  • C-13
    Washer – Part Number: 60340
    Washer
    Part Number: 60340
      No Longer Available
  • C-14
    Screw 5Pk – Part Number: STD523712
    Screw 5Pk
    Part Number: STD523712
      No Longer Available
  • C-16
    Screw – Part Number: 60329
    Screw
    Part Number: 60329
      No Longer Available
  • C-17
    Screw 2Pk – Part Number: STD523117
    Screw 2Pk
    Part Number: STD523117
      No Longer Available
  • C-18
    Screw 5Pk – Part Number: STD523115
    Screw 5Pk
    Part Number: STD523115
      No Longer Available
  • C-19
    Support Lh – Part Number: 63609
    Support Lh
    Part Number: 63609
      No Longer Available
  • C-21
    Washrthrust – Part Number: 63500
    Washrthrust
    Part Number: 63500
      No Longer Available
  • C-23
    Washr Thrust – Part Number: 60300
    Washr Thrust
    Part Number: 60300
      No Longer Available
  • C-24
    DECAL-3 WIRE START – Part Number: 63615
    DECAL-3 WIRE START
    Part Number: 63615
      Special Order
    $12.39
  • C-25
    Nut 5Pk – Part Number: STD541450
    Nut 5Pk
    Part Number: STD541450
      No Longer Available
  • C-26
    Key 2Pk – Part Number: STD580014
    Key 2Pk
    Part Number: STD580014
      No Longer Available
  • C-28
    Nut 8Pk – Part Number: STD541031
    Nut 8Pk
    Part Number: STD541031
      No Longer Available
  • C-29
    Locknut – Part Number: STD541431
    Locknut
    Part Number: STD541431
      No Longer Available
  • C-30
    E Ring – Part Number: STD581037
    E Ring
    Part Number: STD581037
      No Longer Available
  • C-33
    Washer 8Pk – Part Number: STD551050
    Washer 8Pk
    Part Number: STD551050
      No Longer Available
  • C-34
    E-ring – Part Number: STD581050
    E-ring
    Part Number: STD581050
      No Longer Available
  • C-36
    Nut 8Pk – Part Number: STD541025
    Nut 8Pk
    Part Number: STD541025
      No Longer Available
  • C-37
    Washer 8Pk – Part Number: STD551125
    Washer 8Pk
    Part Number: STD551125
      No Longer Available
  • C-38
    Bearing – Part Number: 63622
    Bearing
    Part Number: 63622
      No Longer Available
  • C-40
    Flat Washer – Part Number: STD551012
    Flat Washer
    Part Number: STD551012
      No Longer Available
  • C-41
    Square Head Machine Bolt (8 pack) – Part Number: STD522505
    Square Head Machine Bolt (8 pack)
    Part Number: STD522505
      No Longer Available
  • C-42
    Screw 5Pk – Part Number: STD502503
    Screw 5Pk
    Part Number: STD502503
      No Longer Available
  • C-43
    Wheel Hand – Part Number: 818526
    Wheel Hand
    Part Number: 818526
      No Longer Available
  • C-44
    Base Asm – Part Number: 63621
    Base Asm
    Part Number: 63621
      No Longer Available
  • C-45
    REEL,COMPACT M40 25MM SL TS – Part Number: 63673
    REEL,COMPACT M40 25MM SL TS
    Part Number: 63673
      Special Order
    $13057.07
  • C-46
    Flat Washer, 8Pk – Part Number: STD551031
    Flat Washer, 8Pk
    Part Number: STD551031
      No Longer Available
  • C-47
    Lock Washer – Part Number: STD551131
    Lock Washer
    Part Number: STD551131
      No Longer Available
  • C-48
    Screw 5Pk – Part Number: STD523107
    Screw 5Pk
    Part Number: STD523107
      No Longer Available
Page D
Page D Diagram and Parts List for  Craftsman Chop Saw
  • D-2
    Index – Part Number: 63629
    Index
    Part Number: 63629
      No Longer Available
  • D-3
    Lock – Part Number: 63631
    Lock
    Part Number: 63631
      No Longer Available
  • D-4
    Spring, Tension – Part Number: 63628
    Spring, Tension
    Part Number: 63628
      Special Order
    $13403.17
  • D-5
    Screw – Part Number: 9420417
    Screw
    Part Number: 9420417
      No Longer Available
  • D-6
    RELAY & BREAKER ASM – Part Number: 63883
    RELAY & BREAKER ASM
    Part Number: 63883
      Special Order
    $174.87
  • D-11
    Lever Asm – Part Number: 63872
    Lever Asm
    Part Number: 63872
      No Longer Available
  • D-12
    Washer 8Pk – Part Number: STD551025
    Washer 8Pk
    Part Number: STD551025
      No Longer Available
  • D-13
    Nut Push – Part Number: 60208-D
    Nut Push
    Part Number: 60208-D
      No Longer Available
  • D-14
    Pin – Part Number: 63638
    Pin
    Part Number: 63638
      Special Order
    $6.16
  • D-15
    Spring Pin – Part Number: 60240
    Spring Pin
    Part Number: 60240
      Special Order
    $6.16
  • D-19
    Screw 8Pk – Part Number: STD601103
    Screw 8Pk
    Part Number: STD601103
      No Longer Available
  • D-20
    Washer 8Pk – Part Number: STD551210
    Washer 8Pk
    Part Number: STD551210
      No Longer Available
  • D-21
    Track – Part Number: 63639
    Track
    Part Number: 63639
      No Longer Available
  • D-22
    Mach Screw – Part Number: 448337
    Mach Screw
    Part Number: 448337
      No Longer Available
  • D-24
    Screw 8Pk – Part Number: STD601105
    Screw 8Pk
    Part Number: STD601105
      No Longer Available
  • D-25
    Switch Keys – Part Number: 22255
    Switch Keys
    Part Number: 22255
      No Longer Available
  • D-26
    Pan-head Screw – Part Number: STD600805
    Pan-head Screw
    Part Number: STD600805
      No Longer Available
  • D-32
    Strain – Part Number: 169123-10
    Strain
    Part Number: 169123-10
      No Longer Available
Page E
Page E Diagram and Parts List for  Craftsman Chop Saw
  • E-1
    Guard – Part Number: 508484
    Guard
    Part Number: 508484
      No Longer Available
  • E-2
    Hex Nut – Part Number: 120399
    Hex Nut
    Part Number: 120399
      No Longer Available
  • E-4
    ENCLOSURE CHRGR CONV – Part Number: 63540
    ENCLOSURE CHRGR CONV
    Part Number: 63540
      Special Order
    $95.01
  • E-5
    Fan Washer – Part Number: STD551010
    Fan Washer
    Part Number: STD551010
      No Longer Available
  • E-6
    Screw 8Pk – Part Number: STD601103
    Screw 8Pk
    Part Number: STD601103
      No Longer Available
  • E-7
    20,000 LB. JACK WITH 1/4-INCH – Part Number: 60219
    20,000 LB. JACK WITH 1/4-INCH
    Part Number: 60219
      Special Order
    $452.51
  • E-8
    Nut 8Pk – Part Number: STD541231
    Nut 8Pk
    Part Number: STD541231
      No Longer Available
  • E-9
    Pawl – Part Number: 63271
    Pawl
    Part Number: 63271
      No Longer Available
  • E-10
    Ring 5Pk – Part Number: STD582043
    Ring 5Pk
    Part Number: STD582043
      No Longer Available
  • E-11
    Spreader – Part Number: 63270
    Spreader
    Part Number: 63270
      No Longer Available
  • E-12
    Bearing – Part Number: 816341
    Bearing
    Part Number: 816341
      No Longer Available
  • E-13
    Screw – Part Number: 816070
    Screw
    Part Number: 816070
      No Longer Available
  • E-15
    Nut 8Pk – Part Number: STD541008
    Nut 8Pk
    Part Number: STD541008
      No Longer Available
  • E-16
    Washer 8Pk – Part Number: STD551108
    Washer 8Pk
    Part Number: STD551108
      No Longer Available
  • E-17
    Guard Clamp – Part Number: 63538
    Guard Clamp
    Part Number: 63538
      No Longer Available
  • E-18
    Screw 8Pk – Part Number: STD510805
    Screw 8Pk
    Part Number: STD510805
      No Longer Available
Page F
Page F Diagram and Parts List for  Craftsman Chop Saw
Page G
Page G Diagram and Parts List for  Craftsman Chop Saw
Page H
Page H Diagram and Parts List for  Craftsman Chop Saw
  • H-3
    Washer 8Pk – Part Number: STD551025
    Washer 8Pk
    Part Number: STD551025
      No Longer Available
  • H-4
    Scrw Hx Wshr – Part Number: 815865
    Scrw Hx Wshr
    Part Number: 815865
      No Longer Available
  • H-5
    Screw 8Pk – Part Number: STD601105
    Screw 8Pk
    Part Number: STD601105
      No Longer Available
  • H-6
    Spacer – Part Number: 802392-47
    Spacer
    Part Number: 802392-47
      No Longer Available
  • H-9
    Flat Washer, 8Pk – Part Number: STD551031
    Flat Washer, 8Pk
    Part Number: STD551031
      No Longer Available
  • H-11
    Gasket – Part Number: 820515
    Gasket
    Part Number: 820515
      Special Order
    $13.60
  • H-12
    1/4-20 Hex Lock Nut – Part Number: STD541425
    1/4-20 Hex Lock Nut
    Part Number: STD541425
      No Longer Available
  • H-13
    Pawl – Part Number: 815815
    Pawl
    Part Number: 815815
      No Longer Available
  • H-15
    Screw 5Pk – Part Number: STD512510
    Screw 5Pk
    Part Number: STD512510
      No Longer Available
  • H-17
    Screw – Part Number: 824159
    Screw
    Part Number: 824159
      No Longer Available
  • H-19
    Washer 8Pk – Part Number: STD551225
    Washer 8Pk
    Part Number: STD551225
      No Longer Available
  • H-22
    E Ring – Part Number: STD581031
    E Ring
    Part Number: STD581031
      No Longer Available
  • H-23
    Carriage Bolt – Part Number: STD533107
    Carriage Bolt
    Part Number: STD533107
      No Longer Available
  • H-24
    Bolt Hd – Part Number: 809019-4
    Bolt Hd
    Part Number: 809019-4
      No Longer Available
  • H-26
    Guard Lower – Part Number: 821310
    Guard Lower
    Part Number: 821310
      No Longer Available
  • H-27
    Link – Part Number: 821311
    Link
    Part Number: 821311
      No Longer Available
  • H-28
    Guard – Part Number: 821312
    Guard
    Part Number: 821312
      No Longer Available
  • H-30
    Elbow Dust – Part Number: 828139
    Elbow Dust
    Part Number: 828139
      No Longer Available
  • H-31
    Pushnut – Part Number: 60413
    Pushnut
    Part Number: 60413
      No Longer Available
  • H-35
    Lock Washer – Part Number: STD551131
    Lock Washer
    Part Number: STD551131
      No Longer Available