Delta Parts

Delta 20" Wood Band Saw Replacement Parts For Model 28-653 (Type 2)

We Sell Only Genuine Delta Parts

Popular Parts for 28-653

Search Within Model

Questions & Answers for Delta 28-653
Browse all Parts Search by Area
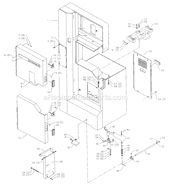
Miscellaneous Parts Diagram and Parts List for Type 2 Delta Band Saw
Miscellaneous Parts
Page A Diagram and Parts List for Type 2 Delta Band Saw
Page A
Page B Diagram and Parts List for Type 2 Delta Band Saw
Page B
Page C Diagram and Parts List for Type 2 Delta Band Saw
Page C
Page D Diagram and Parts List for Type 2 Delta Band Saw
Page D
Previous Showing All Parts Next
Miscellaneous Parts
Miscellaneous Parts Diagram and Parts List for Type 2 Delta Band Saw
  • 270
    Upper Headstock – Part Number: 426053585002
    Upper Headstock
    Part Number: 426053585002
      No Longer Available
  • 271
    Lower Headstock – Part Number: 426043585001
    Lower Headstock
    Part Number: 426043585001
      No Longer Available
  • 272
    Clamp – Part Number: 438010040007S
    Clamp
    Part Number: 438010040007S
      Special Order
    $6.16
  • 273
    Warning Label – Part Number: 426007520006
    Warning Label
    Part Number: 426007520006
      No Longer Available
  • 351
    Hose Assembly – Part Number: 426053615001
    Hose Assembly
    Part Number: 426053615001
      No Longer Available
Page A
Page A Diagram and Parts List for Type 2 Delta Band Saw
  • 2
    Cover – Part Number: 426050315007
    Cover
    Part Number: 426050315007
      No Longer Available
  • 3
    Machine Screw – Part Number: 901020100502
    Machine Screw
    Part Number: 901020100502
      Special Order
    $6.16
  • 4
    No. 10 Int Tooth Lockwasher – Part Number: 904-03-020-1775
    No. 10 Int Tooth Lockwasher
    Part Number: 904-03-020-1775
      No Longer Available
  • 5
    Screw – Part Number: 901021400584
    Screw
    Part Number: 901021400584
      Special Order
    $6.16
  • 6
    Drive Screw – Part Number: 901064502250S
    Drive Screw
    Part Number: 901064502250S
      Special Order
    $6.16
  • 7
    Nameplate – Part Number: 426047540001
    Nameplate
    Part Number: 426047540001
      No Longer Available
  • 8
    Upper Door Assembly – Part Number: 426053315003
    Upper Door Assembly
    Part Number: 426053315003
      No Longer Available
  • 9
    Warning Label – Part Number: 426007520006
    Warning Label
    Part Number: 426007520006
      No Longer Available
  • 10
    Hex Nut – Part Number: 902011201203S
    Hex Nut
    Part Number: 902011201203S
      In Stock
    $6.16
  • 11
    No. 10 Int Tooth Lockwasher – Part Number: 904-03-020-1775
    No. 10 Int Tooth Lockwasher
    Part Number: 904-03-020-1775
      No Longer Available
  • 12
    Latch – Part Number: 426050685001
    Latch
    Part Number: 426050685001
      No Longer Available
  • 13
    Machine Screw – Part Number: 901020100561S
    Machine Screw
    Part Number: 901020100561S
      Special Order
    $6.16
  • 14
    Insert Handle – Part Number: 426050635006
    Insert Handle
    Part Number: 426050635006
      No Longer Available
  • 15
    Lower Door Assembly – Part Number: 426053315012
    Lower Door Assembly
    Part Number: 426053315012
      No Longer Available
  • 16
    Hex Nut – Part Number: 902011201203S
    Hex Nut
    Part Number: 902011201203S
      In Stock
    $6.16
  • 17
    No. 10 Int Tooth Lockwasher – Part Number: 904-03-020-1775
    No. 10 Int Tooth Lockwasher
    Part Number: 904-03-020-1775
      No Longer Available
  • 18
    Latch – Part Number: 426050685001
    Latch
    Part Number: 426050685001
      No Longer Available
  • 19
    Machine Screw – Part Number: 901020100561S
    Machine Screw
    Part Number: 901020100561S
      Special Order
    $6.16
  • 20
    Insert Handle – Part Number: 426050635006
    Insert Handle
    Part Number: 426050635006
      No Longer Available
  • 23
    Ring – Part Number: 904150107008
    Ring
    Part Number: 904150107008
      No Longer Available
  • 24
    Lock Washer – Part Number: 904030301656S
    Lock Washer
    Part Number: 904030301656S
      No Longer Available
  • 25
    Stud – Part Number: 1202596
    Stud
    Part Number: 1202596
      Special Order
    $55.60
  • 26
    Lock Washer – Part Number: 904020101703S
    Lock Washer
    Part Number: 904020101703S
      In Stock
    Minimum Quantity of 2 required
    $6.16
  • 27
    Jam Nut – Part Number: 902010205435S
    Jam Nut
    Part Number: 902010205435S
      No Longer Available
  • 28
    Motor Plate – Part Number: 426050725028
    Motor Plate
    Part Number: 426050725028
      No Longer Available
  • 30
    Brass Bushing – Part Number: 426040175001
    Brass Bushing
    Part Number: 426040175001
      No Longer Available
  • 31
    Set Screw – Part Number: 901040200346
    Set Screw
    Part Number: 901040200346
      No Longer Available
  • 32
    Treadle – Part Number: 426040675002
    Treadle
    Part Number: 426040675002
      No Longer Available
  • 33
    Washer – Part Number: 928050015878
    Washer
    Part Number: 928050015878
      No Longer Available
  • 34
    Cotter Pin – Part Number: 905050402105
    Cotter Pin
    Part Number: 905050402105
      No Longer Available
  • 35
    Steel Pin – Part Number: 426041065001
    Steel Pin
    Part Number: 426041065001
      No Longer Available
  • 36
    Bracket – Part Number: 426040145003
    Bracket
    Part Number: 426040145003
      No Longer Available
  • 37
    Cap Screw – Part Number: 901010600648S
    Cap Screw
    Part Number: 901010600648S
      Special Order
    $6.16
  • 38
    Retainer – Part Number: 426040795007
    Retainer
    Part Number: 426040795007
      No Longer Available
  • 39
    Steel Washer – Part Number: 904010101615
    Steel Washer
    Part Number: 904010101615
      No Longer Available
  • 40
    Lock Washer – Part Number: 904020201704S
    Lock Washer
    Part Number: 904020201704S
      Special Order
    $6.16
  • 41
    Square Nut – Part Number: 902020401307
    Square Nut
    Part Number: 902020401307
      No Longer Available
  • 42
    Brake Shoe – Part Number: 426043155001
    Brake Shoe
    Part Number: 426043155001
      No Longer Available
  • 43
    Jam Nut – Part Number: 489191-00
    Jam Nut
    Part Number: 489191-00
      No Longer Available
  • 44
    Steel Washer – Part Number: 904010101606S
    Steel Washer
    Part Number: 904010101606S
      In Stock
    Minimum Quantity of 2 required
    $6.16
  • 45
    Brake Rod – Part Number: 426041085003
    Brake Rod
    Part Number: 426041085003
      No Longer Available
  • 46
    Spring – Part Number: 928013018880
    Spring
    Part Number: 928013018880
      No Longer Available
  • 47
    Steel Washer – Part Number: 904010101606S
    Steel Washer
    Part Number: 904010101606S
      In Stock
    Minimum Quantity of 2 required
    $6.16
  • 48
    Cotter Pin – Part Number: 905050402107
    Cotter Pin
    Part Number: 905050402107
      No Longer Available
  • 49
    Lever – Part Number: 426040675001
    Lever
    Part Number: 426040675001
      No Longer Available
  • 50
    Set Screw – Part Number: 901041500210
    Set Screw
    Part Number: 901041500210
      No Longer Available
  • 51
    Shaft – Part Number: 426041065008
    Shaft
    Part Number: 426041065008
      No Longer Available
  • 52
    Collar – Part Number: 904100212096
    Collar
    Part Number: 904100212096
      No Longer Available
  • 53
    Set Screw – Part Number: 901041500206
    Set Screw
    Part Number: 901041500206
      No Longer Available
  • 54
    Brass Bushing – Part Number: 426040175001
    Brass Bushing
    Part Number: 426040175001
      No Longer Available
  • 55
    Cap Screw – Part Number: 901010600642
    Cap Screw
    Part Number: 901010600642
      Special Order
    $6.16
  • 56
    Stop Bar – Part Number: 426040045003
    Stop Bar
    Part Number: 426040045003
      No Longer Available
  • 57
    Set Screw – Part Number: 901040200306
    Set Screw
    Part Number: 901040200306
      No Longer Available
  • 58
    Hex Nut – Part Number: 489026-00
    Hex Nut
    Part Number: 489026-00
      No Longer Available
  • 61
    Drive Screw – Part Number: 901064502252
    Drive Screw
    Part Number: 901064502252
      No Longer Available
  • 62
    Rear Cover – Part Number: 426050315018
    Rear Cover
    Part Number: 426050315018
      No Longer Available
  • 63
    Insert Handle – Part Number: 426050635006
    Insert Handle
    Part Number: 426050635006
      No Longer Available
  • 64
    Screw – Part Number: 901021400584
    Screw
    Part Number: 901021400584
      Special Order
    $6.16
  • 66
    Cap Screw – Part Number: 901010603102S
    Cap Screw
    Part Number: 901010603102S
      Special Order
    $6.16
  • 67
    Steel Washer – Part Number: 904010101615
    Steel Washer
    Part Number: 904010101615
      No Longer Available
  • 68
    Cap Screw – Part Number: 901010600648S
    Cap Screw
    Part Number: 901010600648S
      Special Order
    $6.16
Page B
Page B Diagram and Parts List for Type 2 Delta Band Saw
  • 100
    Cap Screw – Part Number: 901010600617
    Cap Screw
    Part Number: 901010600617
      No Longer Available
  • 101
    Steel Washer – Part Number: 904010101615
    Steel Washer
    Part Number: 904010101615
      No Longer Available
  • 102
    Bracket – Part Number: 426040145011
    Bracket
    Part Number: 426040145011
      No Longer Available
  • 103
    Machine Screw – Part Number: 901020100593
    Machine Screw
    Part Number: 901020100593
      Special Order
    $6.16
  • 105
    Coil Spring – Part Number: 928010413361
    Coil Spring
    Part Number: 928010413361
      No Longer Available
  • 106
    Steel Ball – Part Number: 921010100031
    Steel Ball
    Part Number: 921010100031
      No Longer Available
  • 107
    Cap Screw – Part Number: 901010603102S
    Cap Screw
    Part Number: 901010603102S
      Special Order
    $6.16
  • 109
    Guide Post – Part Number: 426041105003
    Guide Post
    Part Number: 426041105003
      No Longer Available
  • 111
    Hex Nut – Part Number: 902011201203S
    Hex Nut
    Part Number: 902011201203S
      In Stock
    $6.16
  • 112
    No. 10 Int Tooth Lockwasher – Part Number: 904-03-020-1775
    No. 10 Int Tooth Lockwasher
    Part Number: 904-03-020-1775
      No Longer Available
  • 113
    Guard Bracket – Part Number: 426050145020
    Guard Bracket
    Part Number: 426050145020
      No Longer Available
  • 114
    Screw – Part Number: 901020107562
    Screw
    Part Number: 901020107562
      Special Order
    $6.16
  • 115
    Machine Screw – Part Number: 901020100558
    Machine Screw
    Part Number: 901020100558
      Special Order
    $6.16
  • 116
    Machine Screw – Part Number: 901020100558
    Machine Screw
    Part Number: 901020100558
      Special Order
    $6.16
  • 117
    Insert (Sold Individually) – Part Number: 426050635008
    Insert (Sold Individually)
    Part Number: 426050635008
      No Longer Available
  • 118
    Steel Washer – Part Number: 904010101614S
    Steel Washer
    Part Number: 904010101614S
      No Longer Available
  • 119
    Cap Screw – Part Number: 901030100760
    Cap Screw
    Part Number: 901030100760
      No Longer Available
  • 120
    Bracket – Part Number: 426050145036
    Bracket
    Part Number: 426050145036
      No Longer Available
  • 121
    Set Screw – Part Number: 901041500206
    Set Screw
    Part Number: 901041500206
      No Longer Available
  • 122
    Roller Assy – Part Number: 426053805001
    Roller Assy
    Part Number: 426053805001
      No Longer Available
  • 123
    Cap Screw – Part Number: 901010600649S
    Cap Screw
    Part Number: 901010600649S
      In Stock
    Minimum Quantity of 2 required
    $6.16
  • 124
    Screw – Part Number: 901021400584
    Screw
    Part Number: 901021400584
      Special Order
    $6.16
  • 125
    Steel Washer – Part Number: 904010101609
    Steel Washer
    Part Number: 904010101609
      Special Order
    $6.16
  • 126
    Bracket – Part Number: 426040145013
    Bracket
    Part Number: 426040145013
      No Longer Available
  • 127
    Hex Nut – Part Number: 902011201203S
    Hex Nut
    Part Number: 902011201203S
      In Stock
    $6.16
  • 128
    Lock Washer – Part Number: 491958-00
    Lock Washer
    Part Number: 491958-00
      Special Order
    Minimum Quantity of 2 required
    $6.16
  • 129
    Finger Guard – Part Number: 1200464
    Finger Guard
    Part Number: 1200464
      No Longer Available
  • 130
    Screw – Part Number: 901021400584
    Screw
    Part Number: 901021400584
      Special Order
    $6.16
  • 135
    Insert – Part Number: 426040635001S
    Insert
    Part Number: 426040635001S
      In Stock
    $73.38
  • 136
    Table – Part Number: 426053910001
    Table
    Part Number: 426053910001
      No Longer Available
  • 137
    Pin – Part Number: 426020710001S
    Pin
    Part Number: 426020710001S
    ★★★★★
    ★★★★★
    (1)
      Special Order
    $6.16
  • 138
    Rear Trunnion – Part Number: 426040955002
    Rear Trunnion
    Part Number: 426040955002
      No Longer Available
  • 139
    Cap Screw – Part Number: 901010603114
    Cap Screw
    Part Number: 901010603114
      No Longer Available
  • 140
    Clamp Shoe – Part Number: 426020270001
    Clamp Shoe
    Part Number: 426020270001
      No Longer Available
  • 141
    Front Trunnion – Part Number: 426040955001
    Front Trunnion
    Part Number: 426040955001
      No Longer Available
  • 142
    Lock Washer – Part Number: 904020201704S
    Lock Washer
    Part Number: 904020201704S
      Special Order
    $6.16
  • 143
    Cap Screw – Part Number: 901010600617
    Cap Screw
    Part Number: 901010600617
      No Longer Available
  • 144
    Pointer – Part Number: 402050755001
    Pointer
    Part Number: 402050755001
      No Longer Available
  • 145
    Machine Screw – Part Number: 901020100502
    Machine Screw
    Part Number: 901020100502
      Special Order
    $6.16
  • 146
    Nut – Part Number: 902010401004
    Nut
    Part Number: 902010401004
      No Longer Available
  • 147
    Insert (Sold Individually) – Part Number: 426050635008
    Insert (Sold Individually)
    Part Number: 426050635008
      No Longer Available
  • 148
    Steel Washer – Part Number: 904010101614S
    Steel Washer
    Part Number: 904010101614S
      No Longer Available
  • 149
    Cap Screw – Part Number: 901030100760
    Cap Screw
    Part Number: 901030100760
      No Longer Available
  • 150
    Roller Assy – Part Number: 426053805001
    Roller Assy
    Part Number: 426053805001
      No Longer Available
  • 151
    Bracket – Part Number: 426050145036
    Bracket
    Part Number: 426050145036
      No Longer Available
  • 152
    Set Screw – Part Number: 901041500206
    Set Screw
    Part Number: 901041500206
      No Longer Available
  • 153
    Cap Screw – Part Number: 901010600649S
    Cap Screw
    Part Number: 901010600649S
      In Stock
    Minimum Quantity of 2 required
    $6.16
  • 155
    Hex Nut – Part Number: 902011201203S
    Hex Nut
    Part Number: 902011201203S
      In Stock
    $6.16
  • 156
    Lock Washer – Part Number: 904020201725
    Lock Washer
    Part Number: 904020201725
      No Longer Available
  • 157
    5/8 Dia Clamp – Part Number: 438010040082
    5/8 Dia Clamp
    Part Number: 438010040082
      No Longer Available
  • 158
    Screw – Part Number: 901021400584
    Screw
    Part Number: 901021400584
      Special Order
    $6.16
  • 159
    Machine Screw – Part Number: 901020100559
    Machine Screw
    Part Number: 901020100559
      Special Order
    $6.16
  • 160
    Deflector – Part Number: 426040365001
    Deflector
    Part Number: 426040365001
      No Longer Available
  • 161
    Steel Washer – Part Number: 904010101615
    Steel Washer
    Part Number: 904010101615
      No Longer Available
  • 162
    Cap Screw – Part Number: 901010600648S
    Cap Screw
    Part Number: 901010600648S
      Special Order
    $6.16
  • 163
    Hex Nut – Part Number: 902010401026S
    Hex Nut
    Part Number: 902010401026S
      No Longer Available
  • 164
    Dust Chute – Part Number: 426040265001
    Dust Chute
    Part Number: 426040265001
      No Longer Available
  • 165
    Hex Nut – Part Number: 902011201203S
    Hex Nut
    Part Number: 902011201203S
      In Stock
    $6.16
Page C
Page C Diagram and Parts List for Type 2 Delta Band Saw
  • 201
    Upper Wheel – Part Number: 426044005001
    Upper Wheel
    Part Number: 426044005001
      No Longer Available
  • 202
    Tire – Part Number: 426040945002
    Tire
    Part Number: 426040945002
      No Longer Available
  • 203
    Screw – Part Number: 901041501133
    Screw
    Part Number: 901041501133
      No Longer Available
  • 205
    Spanner Nut – Part Number: 406030790001
    Spanner Nut
    Part Number: 406030790001
      No Longer Available
  • 206
    Bearing – Part Number: 920040205383
    Bearing
    Part Number: 920040205383
      No Longer Available
  • 207
    Jam Nut – Part Number: 426040795006
    Jam Nut
    Part Number: 426040795006
      No Longer Available
  • 209
    Bearing – Part Number: 920080205336
    Bearing
    Part Number: 920080205336
      No Longer Available
  • 210
    Jam Nut – Part Number: 902012012558
    Jam Nut
    Part Number: 902012012558
      Special Order
    $12.95
  • 211
    Machine Bolt – Part Number: 901110102371
    Machine Bolt
    Part Number: 901110102371
      Special Order
    $14.64
  • 212
    Steel Washer – Part Number: 904010101606S
    Steel Washer
    Part Number: 904010101606S
      In Stock
    Minimum Quantity of 2 required
    $6.16
  • 213
    Coil Spring – Part Number: 928010414148
    Coil Spring
    Part Number: 928010414148
      No Longer Available
  • 214
    Gib – Part Number: 426040525001
    Gib
    Part Number: 426040525001
      No Longer Available
  • 215
    Lock Washer – Part Number: 904020201704S
    Lock Washer
    Part Number: 904020201704S
      Special Order
    $6.16
  • 216
    Cap Screw – Part Number: 901010600642
    Cap Screw
    Part Number: 901010600642
      Special Order
    $6.16
  • 217
    Machine Screw 1.35 – Part Number: 901020100567S
    Machine Screw 1.35
    Part Number: 901020100567S
      Special Order
    $12.00
  • 218
    Tension Scale – Part Number: 426040725009
    Tension Scale
    Part Number: 426040725009
      No Longer Available
  • 220
    Special Screw – Part Number: 901045306149
    Special Screw
    Part Number: 901045306149
      No Longer Available
  • 221
    Hex Jam Nut – Part Number: 902010201266
    Hex Jam Nut
    Part Number: 902010201266
      No Longer Available
  • 222
    Steel Washer – Part Number: 904010101606S
    Steel Washer
    Part Number: 904010101606S
      In Stock
    Minimum Quantity of 2 required
    $6.16
  • 223
    Extension – Part Number: 426054095001
    Extension
    Part Number: 426054095001
      No Longer Available
  • 224
    Roll Pin – Part Number: 905010102704
    Roll Pin
    Part Number: 905010102704
      No Longer Available
  • 225
    Slide Plate – Part Number: 426040725007
    Slide Plate
    Part Number: 426040725007
      No Longer Available
  • 226
    Cap Screw – Part Number: 901010600628
    Cap Screw
    Part Number: 901010600628
      No Longer Available
  • 227
    Lock Washer – Part Number: 904020201705
    Lock Washer
    Part Number: 904020201705
      No Longer Available
  • 228
    Coil Spring – Part Number: 928010414149
    Coil Spring
    Part Number: 928010414149
      No Longer Available
  • 229
    Pointer – Part Number: 951010113992
    Pointer
    Part Number: 951010113992
      No Longer Available
  • 230
    Spring Cap – Part Number: 426040745001
    Spring Cap
    Part Number: 426040745001
      No Longer Available
  • 231
    Cap Screw – Part Number: 901010603102S
    Cap Screw
    Part Number: 901010603102S
      Special Order
    $6.16
  • 233
    Tension Screw – Part Number: 1201927
    Tension Screw
    Part Number: 1201927
      Special Order
    $153.79
  • 234
    Roll Pin – Part Number: 905010102711
    Roll Pin
    Part Number: 905010102711
      No Longer Available
  • 235
    Handwheel – Part Number: 930010331336
    Handwheel
    Part Number: 930010331336
      No Longer Available
  • 236
    Jam Nut – Part Number: 489191-00
    Jam Nut
    Part Number: 489191-00
      No Longer Available
  • 240
    Lower Wheel – Part Number: 426044005002
    Lower Wheel
    Part Number: 426044005002
      No Longer Available
  • 241
    Screw – Part Number: 901041501133
    Screw
    Part Number: 901041501133
      No Longer Available
  • 242
    Lock Washer – Part Number: 491957-00
    Lock Washer
    Part Number: 491957-00
      No Longer Available
  • 243
    Cap Screw – Part Number: 901010600623
    Cap Screw
    Part Number: 901010600623
      No Longer Available
  • 244
    Tire – Part Number: 426040945002
    Tire
    Part Number: 426040945002
      No Longer Available
  • 245
    Brake Drum – Part Number: 426040155003
    Brake Drum
    Part Number: 426040155003
      No Longer Available
  • 246
    Jam Nut – Part Number: 426040795005
    Jam Nut
    Part Number: 426040795005
      No Longer Available
  • 247
    Spanner Nut – Part Number: 426040795004
    Spanner Nut
    Part Number: 426040795004
      No Longer Available
  • 248
    Bearing – Part Number: 920040216559
    Bearing
    Part Number: 920040216559
      No Longer Available
  • 249
    Headstock – Part Number: 426040585002
    Headstock
    Part Number: 426040585002
      No Longer Available
  • 250
    Drive Shaft – Part Number: 426041065006
    Drive Shaft
    Part Number: 426041065006
      No Longer Available
  • 251
    Bearing – Part Number: 920040224020
    Bearing
    Part Number: 920040224020
      No Longer Available
  • 252
    Jam Nut – Part Number: 426040795006
    Jam Nut
    Part Number: 426040795006
      No Longer Available
  • 253
    Cap Screw – Part Number: 901010600648S
    Cap Screw
    Part Number: 901010600648S
      Special Order
    $6.16
  • 254
    Steel Washer – Part Number: 904010101615
    Steel Washer
    Part Number: 904010101615
      No Longer Available
  • 255
    Cap Screw – Part Number: 901010603102S
    Cap Screw
    Part Number: 901010603102S
      Special Order
    $6.16
  • 256
    Steel Washer – Part Number: 904010101606S
    Steel Washer
    Part Number: 904010101606S
      In Stock
    Minimum Quantity of 2 required
    $6.16
  • 258
    Steel Washer – Part Number: 904010101606S
    Steel Washer
    Part Number: 904010101606S
      In Stock
    Minimum Quantity of 2 required
    $6.16
  • 259
    Hex Nut – Part Number: 902010401026S
    Hex Nut
    Part Number: 902010401026S
      No Longer Available
  • 260
    Key Sqr F.250 X.250 X 1.937-in – Part Number: 927030102653S
    Key Sqr F.250 X.250 X 1.937-in
    Part Number: 927030102653S
      In Stock
    $12.95
  • 261
    Key – Part Number: 927030102620
    Key
    Part Number: 927030102620
      No Longer Available
  • 262
    Pulley – Part Number: 1201866
    Pulley
    Part Number: 1201866
      Special Order
    $1166.39
  • 263
    Set Screw – Part Number: 901041500231S
    Set Screw
    Part Number: 901041500231S
      In Stock
    $6.16
  • 264
    V-Belt – Part Number: 925010121066
    V-Belt
    Part Number: 925010121066
      No Longer Available
  • 265
    20IN BS Ply-7/8 BO – Part Number: 41-709
    20IN BS Ply-7/8 BO
    Part Number: 41-709
      No Longer Available
  • 266
    Set Screw – Part Number: 901041501185
    Set Screw
    Part Number: 901041501185
      No Longer Available
Page D
Page D Diagram and Parts List for Type 2 Delta Band Saw
  • 302
    Belt – Part Number: 908130617669
    Belt
    Part Number: 908130617669
      No Longer Available
  • 303
    Pulley – Part Number: 41-052
    Pulley
    Part Number: 41-052
      No Longer Available
  • 304
    Set Screw – Part Number: 901041500206
    Set Screw
    Part Number: 901041500206
      No Longer Available
  • 305
    Fan – Part Number: 438010330012
    Fan
    Part Number: 438010330012
      No Longer Available
  • 306
    Cap – Part Number: 426050205001
    Cap
    Part Number: 426050205001
      No Longer Available
  • 307
    Bearing – Part Number: 1086894S
    Bearing
    Part Number: 1086894S
    ★★★★★
    ★★★★★
    (5)
      In Stock
    $58.86
  • 308
    Deflector – Part Number: 426050365001
    Deflector
    Part Number: 426050365001
      No Longer Available
  • 309
    Cap Screw – Part Number: 901010600651
    Cap Screw
    Part Number: 901010600651
      No Longer Available
  • 310
    End Plate - Left Hand – Part Number: 426050725035
    End Plate - Left Hand
    Part Number: 426050725035
      No Longer Available
  • 311
    Gasket – Part Number: 426051165003
    Gasket
    Part Number: 426051165003
      No Longer Available
  • 312
    Body – Part Number: 426050125005
    Body
    Part Number: 426050125005
      No Longer Available
  • 313
    Cap Screw – Part Number: 901010600623
    Cap Screw
    Part Number: 901010600623
      No Longer Available
  • 314
    Washer – Part Number: 904010101620S
    Washer
    Part Number: 904010101620S
      In Stock
    Minimum Quantity of 2 required
    $6.16
  • 315
    Hex Nut – Part Number: 489026-00
    Hex Nut
    Part Number: 489026-00
      No Longer Available
  • 316
    Fitting – Part Number: 906000008720
    Fitting
    Part Number: 906000008720
      No Longer Available
  • 317
    Hose – Part Number: 426050615001
    Hose
    Part Number: 426050615001
      No Longer Available
  • 318
    Filter Assembly – Part Number: 426053465003
    Filter Assembly
    Part Number: 426053465003
      No Longer Available
  • 319
    Arbor – Part Number: 426050025001
    Arbor
    Part Number: 426050025001
      No Longer Available
  • 320
    Insert – Part Number: 426050635009
    Insert
    Part Number: 426050635009
      No Longer Available
  • 321
    End Plate - Right Hand – Part Number: 426050725034
    End Plate - Right Hand
    Part Number: 426050725034
      No Longer Available
  • 322
    Deflector – Part Number: 426050365001
    Deflector
    Part Number: 426050365001
      No Longer Available
  • 323
    Bearing – Part Number: 1086894S
    Bearing
    Part Number: 1086894S
    ★★★★★
    ★★★★★
    (5)
      In Stock
    $58.86
  • 324
    Spring – Part Number: 426051225001
    Spring
    Part Number: 426051225001
      No Longer Available
  • 325
    Shim Washer – Part Number: 426050835001
    Shim Washer
    Part Number: 426050835001
      No Longer Available
  • 326
    Ring Retaining-ring Int 1.562 – Part Number: 904151017147S
    Ring Retaining-ring Int 1.562
    Part Number: 904151017147S
      On Order
    $6.16
  • 327
    Fan – Part Number: 438010330012
    Fan
    Part Number: 438010330012
      No Longer Available

Questions & Answers

?

Our customer Service team is at the ready daily to answer your part and product questions.

We're sorry, but our Q&A experts are temporarily unavailable.
Please check back later if you still haven't found the answer you need.

Ask our Team

We have a dedicated staff with decades of collective experience in helping customers just like you purchase parts to repair their products.